LEMON Manuals: Even more car manuals for everyone: 1960-2025
Home >> Honda >> 2021 >> CR-V EX, AWD >> Repair and Diagnosis (Single Page) >> Accessories & Equipment >> Exterior Lights >> Exterior Lighting - Testing & Troubleshooting (Except Hybrid) >> Input Test >> Exterior Lights (Body Control Module and Relay Control Module) Input Test
April 5, 2026: LEMON Manuals is launched! Read the announcement.

Exterior Lights (Body Control Module and Relay Control Module) Input Test

NOTE: 

Body Control Module 

1. Turn the vehicle to the OFF (LOCK) mode.

2. Disconnect body control module connectors.

Body Control Module Connector A (14P) (female terminals):  Body Control Module Connector C (28P) (female terminals): Body Control Module Connector E (24P) (female terminals):

GHH427538Courtesy of HONDA, U.S.A., INC.

Inspect the connector and socket terminals to be sure they are all making good contact:

Reconnect the connectors to the body control module, do the following input tests:

Cavity Wire Test condition Test: Desired result Possible cause if desired result is not obtained
C27 WHT Under all conditions Measure the voltage to ground:There should be battery voltage. An open or high resistance in the wire
E1 BLU Vehicle ON mode Measure the voltage to ground:There should be battery voltage. An open or high resistance in the wire
A2 BLK In all power modes Measure the voltage to ground:There should be less than 0.2 V.
  • Poor ground (G401)
  • An open or high resistance in the wire
A8 BLK In all power modes Measure the voltage to ground:There should be less than 0.2 V.
  • Poor ground (G401)
  • An open or high resistance in the ground wire
C10*C3 PNK*BLK Combination light switch OFF Measure the voltage between terminals C10 and C3:There should be less than 0.2 V.
  • Faulty combination light switch
  • An open or high resistance in the wire
Combination light switch in any position other than OFF Measure the voltage between terminals C10 and C3:There should be battery voltage.
  • Faulty combination light switch
  • A short to ground in the wire
C11*C3 GRY*BLK Combination light switch (PARKING position) ON Measure the voltage between terminals C11 and C3:There should be less than 0.2 V.
  • Faulty combination light switch
  • An open or high resistance in the wire
Combination light switch OFF Measure the voltage between terminals C11 and C3:There should be battery voltage.
  • Faulty combination light switch
  • A short to ground in the wire
C9*C3 PNK*BLK Combination light switch (headlight) ON Measure the voltage between terminals C9 and C3:There should be less than 0.2 V.
  • Faulty combination light switch
  • An open or high resistance in the wire
Combination light switch OFF Measure the voltage between terminals C9 and C3:There should be battery voltage.
  • Faulty combination light switch
  • A short to ground in the wire
C7*C3 GRN*BLK Combination light switch lever pulled (Passing) Measure the voltage between terminals C7 and C3:There should be less than 0.2 V.
  • Faulty combination light switch
  • An open or high resistance in the wire
Combination light switch lever released (OFF) Measure the voltage between terminals C7 and C3:There should be battery voltage.
  • Faulty combination light switch
  • A short to ground in the wire

*: With front fog light

Cavity Wire Test condition Test: Desired result Possible cause if desired result is not obtained
C8*C3 LT BLU*BLK Combination light switch (Dimmer) in high beam position Measure the voltage between terminals C8 and C3:There should be less than 0.2 V.
  • Faulty combination light switch
  • An open or high resistance in the wire
Combination light switch (Dimmer) in low beam position Measure the voltage between terminals C8 and C3:There should be battery voltage.
  • Faulty combination light switch
  • A short to ground in the wire
C6**C3 PUR*BLK Front fog light switch ON Measure the voltage between terminals C6 and C3:There should be less than 0.2 V.
  • Faulty combination light switch
  • An open or high resistance in the wire
Front fog light switch OFF Measure the voltage between terminals C6 and C3:There should be battery voltage.
  • Faulty combination light switch
  • A short to ground in the wire

*: With front fog light

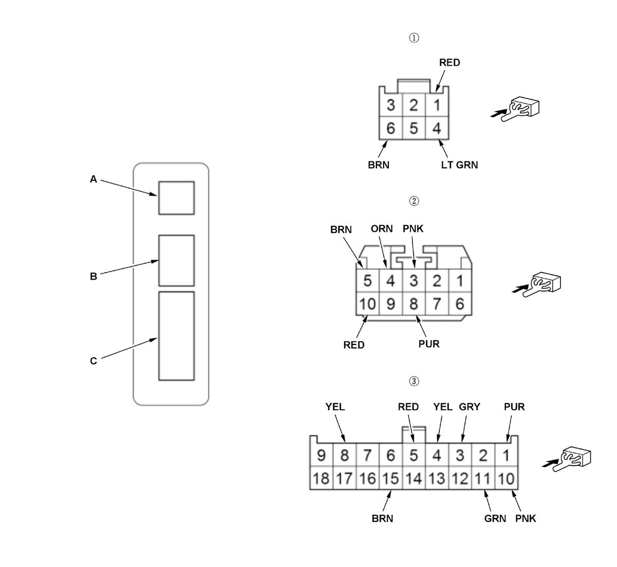
Relay Control Module 

5. Turn the vehicle to the OFF (LOCK) mode.

6. Disconnect relay control module connectors.

Relay Control Module Connector A (6P) (female terminals):  Relay Control Module Connector B (10P) (female terminals): Relay Control Module Connector C (18P) (female terminals):

GHH427542Courtesy of HONDA, U.S.A., INC.

Inspect the connector and socket terminals to be sure they are all making good contact:

With the connectors still disconnected, do the following input tests:

Cavity Wire Test condition Test: Desired result Possible cause if desired result is not obtained
B4*B8 ORN*PUR Under all conditions Connect terminal B4 and B8 with a jumper wire:The left headlight (low beam) should come on.
  • Blown bulb or faulty LED
  • Poor ground (G351) or an open in the ground wire
  • An open or high resistance in the wire
Cavity Wire Test condition Test: Desired result Possible cause if desired result is not obtained
C5*C11 RED*GRN Under all conditions Connect terminal C5 and C11 with a jumper wire:The right headlight (low beam) should come on.
  • Blown bulb or faulty LED
  • Poor ground (G251) or an open in the ground wire
  • An open or high resistance in the wire
B4*B5 ORN*BRN Under all conditions Connect terminal B4 and B5 with a jumper wire:The left headlight (high beam) should come on.
  • Blown bulb or faulty LED
  • Poor ground (G351) or an open in the ground wire
  • An open or high resistance in the wire
C5*C3 RED*GRY Under all conditions Connect terminal C5 and C3 with a jumper wire:The right headlight (high beam) should come on.
  • Blown bulb or faulty LED
  • Poor ground (G251) or an open in the ground wire
  • An open or high resistance in the wire
C5*C1 RED*PUR Under all conditions Connect terminal C5 and C1 with a jumper wire:The left front parking light, left taillight, left inner taillight, and license plate lights should come on.
  • Faulty LED
  • Poor ground (G351, G505) or an open in the ground wire
  • An open or high resistance in the wire
B4*B10 ORN*RED Under all conditions Connect terminal B4 and B10 with a jumper wire:The right front parking light, right taillight, and right inner taillight should come on.
  • Faulty LED
  • Poor ground (G251, G504) or an open in the ground wire
  • An open or high resistance in the wire
C5*C8 RED*YEL Under all conditions Connect terminal C5 and C8 with a jumper wire:The left daytime running light should come on.
  • Faulty LED
  • Poor ground (G351) or an open in the ground wire
  • An open or high resistance in the wire
B4*B3 ORN*PNK Under all conditions Connect terminal B4 and B3 with a jumper wire:The right daytime running light should come on.
  • Faulty LED
  • Poor ground (G251) or an open in the ground wire
  • An open or high resistance in the wire
C4 YEL Under all conditions Connect terminal to ground with a jumper wire:The front fog lights should come on.
  • Faulty front fog light relay
  • Blown bulb
  • Poor ground (G251) or an open in the ground wire
  • An open or high resistance in the wire

Reconnect the connectors to the relay control module, do the following input tests:

Cavity Wire Test condition Test: Desired result Possible cause if desired result is not obtained
A1 RED Under all conditions Measure the voltage to ground:There should be battery voltage. An open or high resistance in the wire
Cavity Wire Test condition Test: Desired result Possible cause if desired result is not obtained
A4 LT GRN Vehicle ON mode Measure the voltage to ground:There should be battery voltage. An open or high resistance in the wire
A6 BRN In all power modes Measure the voltage to ground:There should be less than 0.2 V.
  • Poor ground (G251)
  • An open or high resistance in the wire
C15 BRN In all power modes Measure the voltage to ground:There should be less than 0.2 V.
  • Poor ground (G251)
  • An open or high resistance in the ground wire
C10 PNK Combination light switch (headlight) ON Measure the voltage to ground:There should be less than 0.2 V.
  • Faulty combination light switch
  • An open or high resistance in the ground wire
Combination light switch OFF Measure the voltage to ground:There should be battery voltage.
  • Faulty combination light switch
  • A short to ground in the wire

10. If multiple failures are found on more than one control unit, replace the body control module . If input failures are related to a particular control unit, replace the control unit.