LEMON Manuals: Even more car manuals for everyone: 1960-2025
Home >> Honda >> 2021 >> CR-V LX, AWD >> Repair and Diagnosis (Single Page) >> Engine Performance >> Engine Control Systems >> Engine Control System / Engine Mechanical - Testing & Troubleshooting (Except Hybrid) >> Description & Operation >> Shutter Grille System Description
April 5, 2026: LEMON Manuals is launched! Read the announcement.

Shutter Grille System Description

The shutter grille system controls the heat dissipation by controlling the air flow to the engine room during engine warm-up. While vehicle running, improving the aerodynamic performance by controlling the opening and closing the shutter grille. Improving the fuel efficiency by the improvement of the engine warm-up and the aerodynamic performances.

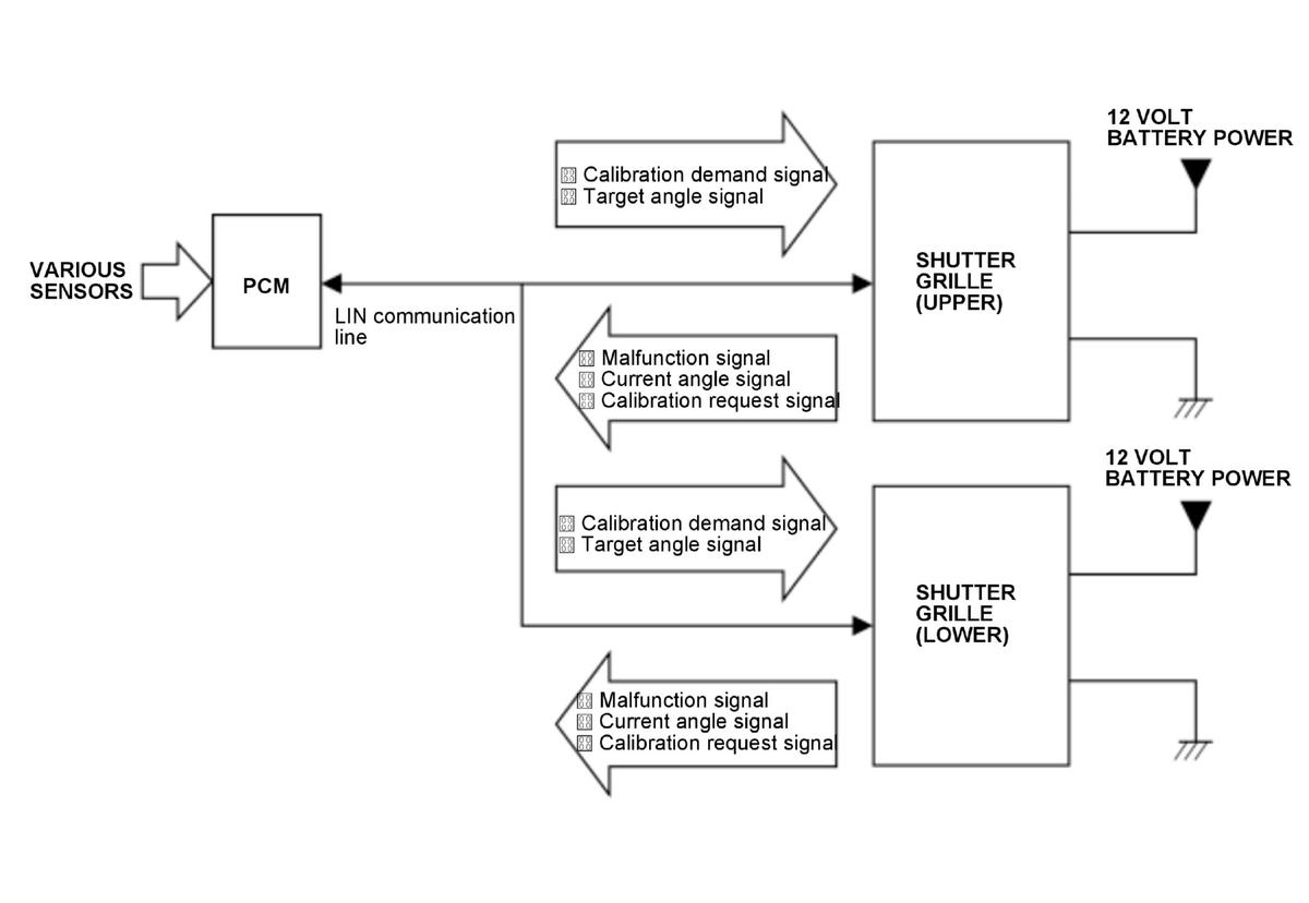
GHH426893Courtesy of HONDA, U.S.A., INC.

Operation 

The PCM communicates to the shutter grille through the LIN communication line.

For locations of each component on vehicle, refer to Component Location Index

GHH426894Courtesy of HONDA, U.S.A., INC.
GHH426895Courtesy of HONDA, U.S.A., INC.