LEMON Manuals: Even more car manuals for everyone: 1960-2025
Home >> Honda >> 2021 >> Clarity Plug-In Hybrid Touring >> Repair and Diagnosis >> Accessories & Equipment >> Anti-Theft Systems >> Security System / Keyless Entry System - Testing & Troubleshooting - (Plug-In) >> System Description >> Keyless/Power Door Locks/Security System Description - System Diagram
April 5, 2026: LEMON Manuals is launched! Read the announcement.

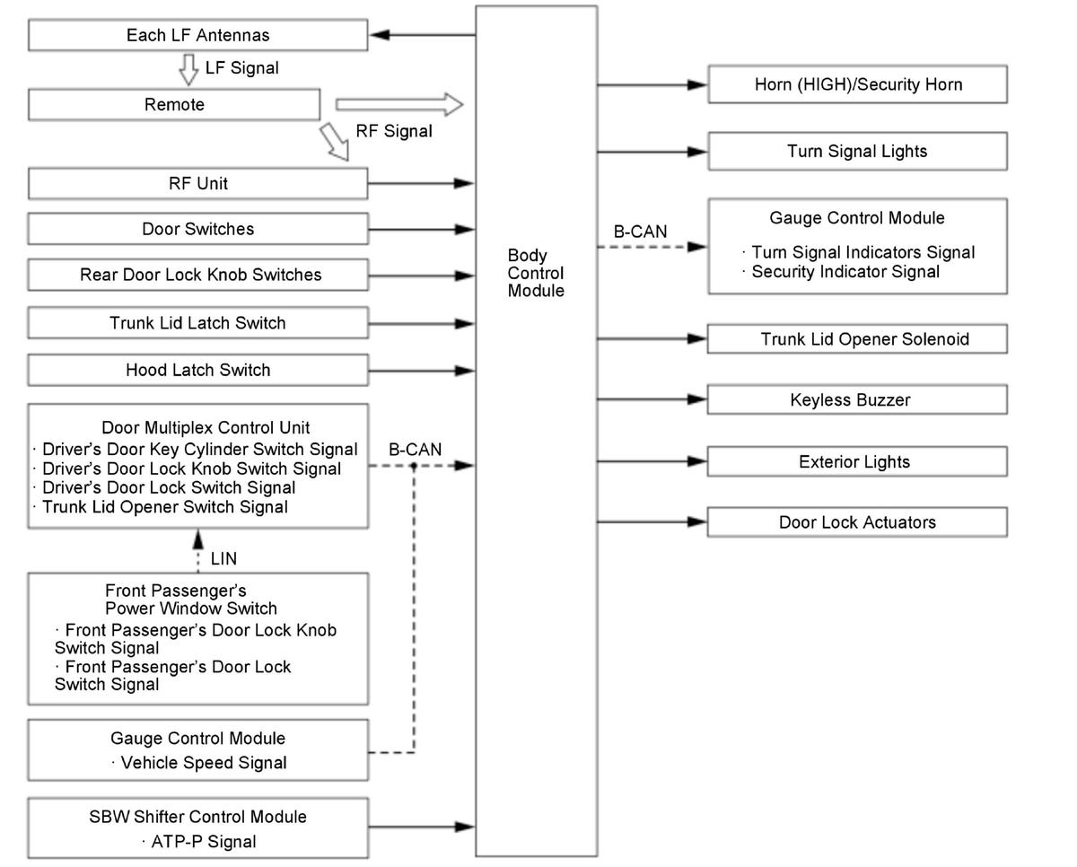
Keyless/Power Door Locks/Security System Description - System Diagram

For locations of each component on the vehicle, refer to Component Location Index 

GHH420406Courtesy of HONDA, U.S.A., INC.