LEMON Manuals: Even more car manuals for everyone: 1960-2025
Home >> Honda >> 2021 >> Clarity Plug-In Hybrid >> Repair and Diagnosis >> Brakes >> Traction Control >> VSA System - Advanced Diagnostics (P0CED - U3000) (Plug-In) >> Advanced Diagnostics >> DTC Advanced Diagnostics: P1D85 (479), P1D85 (479) (Generator Motor Control Module)
April 5, 2026: LEMON Manuals is launched! Read the announcement.

DTC Advanced Diagnostics: P1D85 (479), P1D85 (479) (Generator Motor Control Module)

DTC P1D85 (479):  Traction Motor Inverter Malfunction Signal Low (Traction Motor Control Module Detected)DTC P1D85 (479):  Traction Motor Inverter Malfunction Signal Low (Generator Motor Control Module Detected)

General Description 

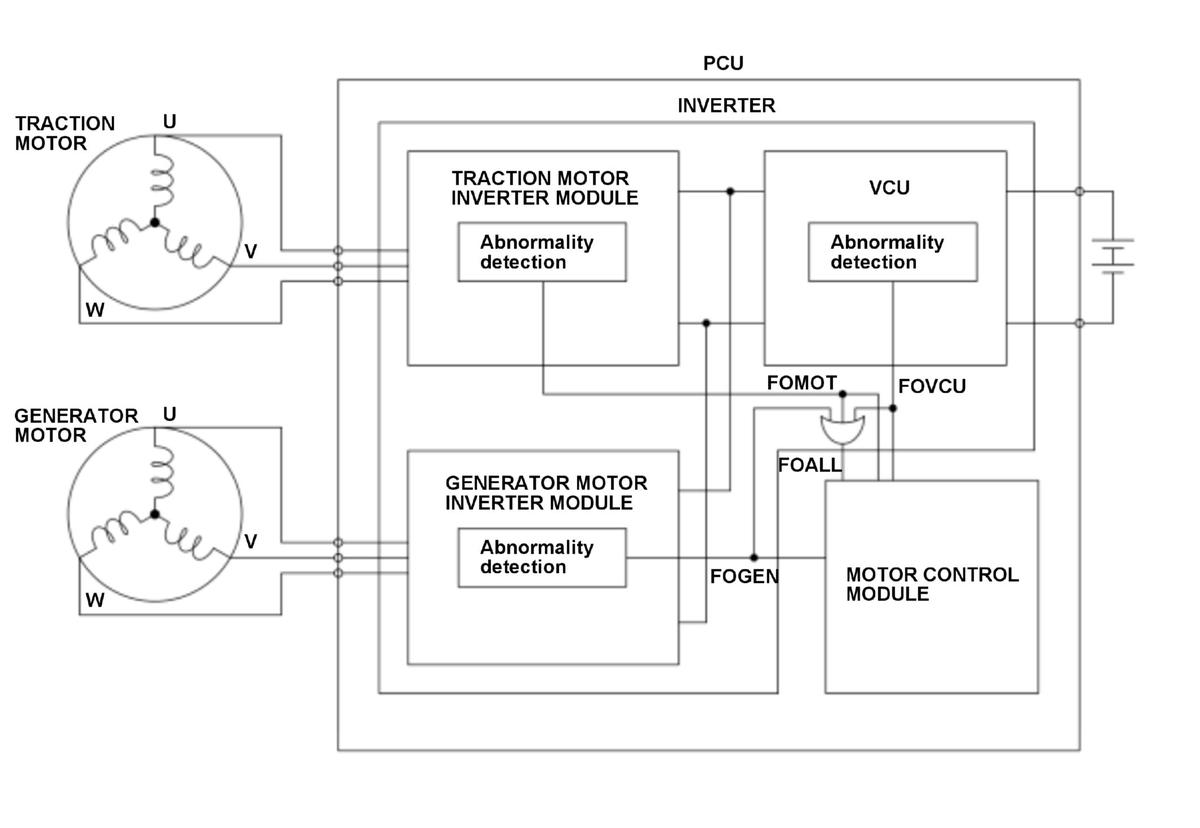
GHH421443Courtesy of HONDA, U.S.A., INC.

The motor control module receives abnormalities occurred in the inverter via an abnormal detection line. If the abnormal information is received for a specified time, the motor control module detects a malfunction and stores a DTC.

Monitor Execution, Sequence, Duration, DTC Type 

Execution Continuous
Sequence None
Duration 350 milliseconds or more
DTC Type One drive cycle, MIL on, POWER SYSTEM indicator on, 12 volt battery charging system indicator off

Enable Conditions 

Condition Minimum Maximum
12 volt battery voltage 9.0 - 9.2 V* -

*: Hysteresis voltage width

Malfunction Threshold 

The abnormal information from the inverter is received for at least 350 milliseconds.

Possible Cause 

NOTE:  The causes shown may not be a complete list of all potential problems, and it is possible that there may be other causes.

Diagnosis Details 

Conditions for setting the DTC 

When a malfunction is detected, the MIL and the POWER SYSTEM indicator comes on, and a Pending DTC, a Confirmed DTC, and the freeze data are stored in the motor control module memory.

Conditions for clearing the DTC 

The MIL and the POWER SYSTEM indicator is cleared if the malfunction does not return in three consecutive trips in which the diagnostic runs. The MIL, the POWER SYSTEM indicator, the Pending DTC, the Confirmed DTC, and the freeze data can be cleared with the scan tool Clear command or by disconnecting the 12 volt battery.