LEMON Manuals: Even more car manuals for everyone: 1960-2025
Home >> Honda >> 2021 >> Clarity Plug-In Hybrid >> Repair and Diagnosis >> Engine Performance >> System >> Engine Control System - Advanced Diagnostics (P081C - U160B) (Plug-In) >> Advanced Diagnostics >> DTC P170E
April 5, 2026: LEMON Manuals is launched! Read the announcement.

DTC P170E

DTC P170E:  Park Pawl Motor Power Relay Circuit High

General Description 

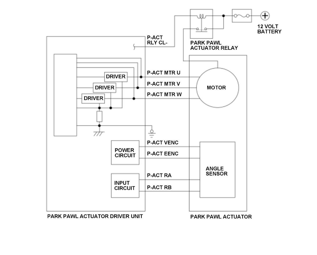
GHH416830Courtesy of HONDA, U.S.A., INC.

The park pawl actuator driver unit controls shifting/releasing of the park pawl actuator to/from the P position. The park pawl actuator driver unit monitors the voltage supplied to the park pawl actuator using three lines (P-ACT MTR U, P-ACT MTR V, and P-ACT MTR W). If the voltage supplied to the park pawl actuator continues to be a specified value or more for a specified length of time or more when turn ON command is not output to the park pawl actuator relay, the powertrain control module (PCM) receives malfunction from the park pawl actuator driver unit, and stores a DTC.

Monitor Execution, Sequence, Duration, DTC Type 

Execution -
Sequence None
Duration 64 milliseconds or more
DTC Type Two drive cycle, MIL off, Shift position indicator off

Enable Conditions 

Condition Minimum Maximum
12 volt battery voltage [Battery Voltage] 7.0 V -

[ ]: HDS Parameter

Malfunction Threshold 

The voltage supplied to the park pawl actuator continues to be 4.22 V or more for at least 64 milliseconds when turn ON command is not output to the park pawl actuator relay.

Possible Cause 

NOTE: The causes shown may not be a complete list of all potential problems, and it is possible that there may be other causes.
  • Park pawl actuator relay stuck on
  • Park pawl actuator driver unit P-ACT CL- line short to ground

Confirmation Procedure 

Operating Condition 

Turn the vehicle to the ON mode, and wait for at least 10 seconds.

With the HDS 

None.

Diagnosis Details 

Conditions for setting the DTC 

When a malfunction is detected during the first drive cycle, a Pending DTC is stored in the PCM memory. If the malfunction returns in the next (second) drive cycle, a Confirmed DTC and the freeze data are stored. The MIL does not come on and the shift position indicator does not blink.

Conditions for clearing the DTC 

The Pending DTC, the Confirmed DTC, and the freeze data can be cleared with the scan tool Clear command or by disconnecting the 12 volt battery.