LEMON Manuals: Even more car manuals for everyone: 1960-2025
Home >> Honda >> 2021 >> Clarity Plug-In Hybrid >> Repair and Diagnosis >> Engine Performance >> System >> Engine Control System - Advanced Diagnostics (P081C - U160B) (Plug-In) >> Advanced Diagnostics >> DTC P1726
April 5, 2026: LEMON Manuals is launched! Read the announcement.

DTC P1726

DTC P1726:  Park Pawl Motor Position Sensor

General Description 

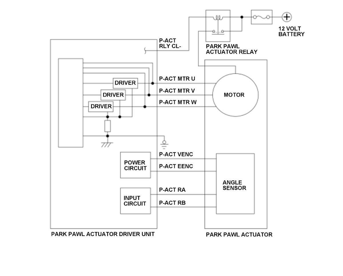
GHH416843Courtesy of HONDA, U.S.A., INC.

The park pawl actuator driver unit controls shifting/releasing of the park pawl actuator to/from the P position. The park pawl actuator driver unit performs the initial learning and issues the shift to/release from P position command according to the command from the powertrain control module (PCM). If an abnormal condition continues to occur in the angle sensor inside the park pawl actuator for a specified length of time or more, the PCM receives malfunction from the park pawl actuator driver unit, and stores a DTC.

Monitor Execution, Sequence, Duration, DTC Type 

Execution -
Sequence None
Duration 932 milliseconds*
104 milliseconds**
30 seconds***
DTC Type One drive cycle, MIL on, Shift position indicator blinks

*: Case 1

**: Case 2

***: Case 3

Enable Conditions 

Condition Minimum Maximum
12 volt battery voltage [BATTERY VOLTAGE] 10.5 V *, ** -
10.43 V *** -

[ ]: HDS Parameter

Malfunction Threshold 

Possible Cause 

NOTE: The causes shown may not be a complete list of all potential problems, and it is possible that there may be other causes.
  • Park pawl actuator driver unit P-ACT RA line open (includes a loose or disconnected connector)
  • Park pawl actuator driver unit P-ACT RB line open (includes a loose or disconnected connector)
  • Park pawl actuator driver unit P-ACT VENC line open (includes a loose or disconnected connector)
  • Park pawl actuator driver unit P-ACT EENC line open (includes a loose or disconnected connector)
  • Park pawl actuator driver unit GND line open (includes a loose or disconnected connector)
  • Park pawl actuator driver unit P-ACT RA line short to ground
  • Park pawl actuator driver unit P-ACT RB line short to ground
  • Park pawl actuator driver unit P-ACT VENC line short to ground
  • Park pawl actuator driver unit P-ACT EENC line short to ground
  • Park pawl actuator driver unit P-ACT RA line short to power
  • Park pawl actuator driver unit P-ACT RB line short to power
  • Park pawl actuator driver unit P-ACT EENC line short to power
  • Park pawl actuator driver unit internal failure
  • Park pawl actuator internal failure

Confirmation Procedure 

Operating Condition 

  1. Turn the vehicle to the ON mode, and wait for at least 10 seconds
  2. While pressing the brake pedal, shift to N position/mode, then shift to P position/mode and wait at least 5 seconds.

With the HDS 

None.

Diagnosis Details 

Conditions for setting the DTC 

When a malfunction is detected, the MIL comes on, the shift position indicator blinks and a Pending DTC, a Confirmed DTC, and the freeze data are stored in the PCM memory.

Conditions for clearing the DTC 

The shift position indicator comes off by turning the vehicle to the OFF (LOCK) mode. The MIL is cleared if the malfunction does not return in three consecutive trips in which the diagnostic runs the MIL, the Pending DTC, the Confirmed DTC, and the freeze data can be cleared with the scan tool Clear command or by disconnecting the 12 volt battery.