LEMON Manuals: Even more car manuals for everyone: 1960-2025
Home >> Honda >> 2021 >> Clarity Plug-In Hybrid >> Repair and Diagnosis >> Engine Performance >> System >> Engine Control System - DTC Diagnostics (P0221 - P0563) (Plug-In) >> DTC Troubleshooting >> DTC P04EF
April 5, 2026: LEMON Manuals is launched! Read the announcement.

DTC P04EF

DTC P04EF  : 0.02 inch Leak (Canister Leak)

Special Tools Required 

Vacuum/Pressure Gauge, 0-4 inHg 07JAZ-001000B 

Vacuum Pump/Gauge, 0-30 inHg Snap-on YA4000A or equivalent, commercially available 

NOTE: Before you troubleshoot, review the general troubleshooting information .
DTC Description Confirmed DTC Pending DTC
P04EF EVAP System Very Small Leak (Canister) Leak)    

DTC (PGM-FI)

  1. Problem verification

    -1. Turn the vehicle to the ON mode.

    -2. Clear the DTC with the HDS.

    -3. Turn the vehicle to the OFF (LOCK) mode.

    -4. Turn the vehicle to the ON mode.

    -5. Select the EVAP TEST in the Function Test Menu, then select the EVAP Leak Check Module Test with the HDS.

    EVAP TEST

    Is the result OK?

    YES 

    If the test result is PASSED, intermittent failure, the system is OK at this time. Check for poor connections or loose terminals at the EVAP canister purge valve, the fuel tank vapor containment valve, EVAP canister, the EVAP leak detection module, and the PCM. If the on-board snapshot of this DTC is recorded, try to reproduce the failure under the same conditions with the on-board snapshot.

    NO 

    The failure is duplicated. Go to step 2

  2. EVAP canister purge valve leak check

    -1. Turn the vehicle to the OFF (LOCK) mode.

    -2. Disconnect the purge hoses (A) from the EVAP canister purge valve (B) in the engine compartment, then connect a vacuum pump/gauge, 0-30 inHg, to the hose.

    GHH417470Courtesy of HONDA, U.S.A., INC.

    -3. Slowly apply a vacuum to the hose.

    Does it hold a vacuum?

    YES 

    Go to step 3.

    NO 

    Replace the EVAP canister purge valve .

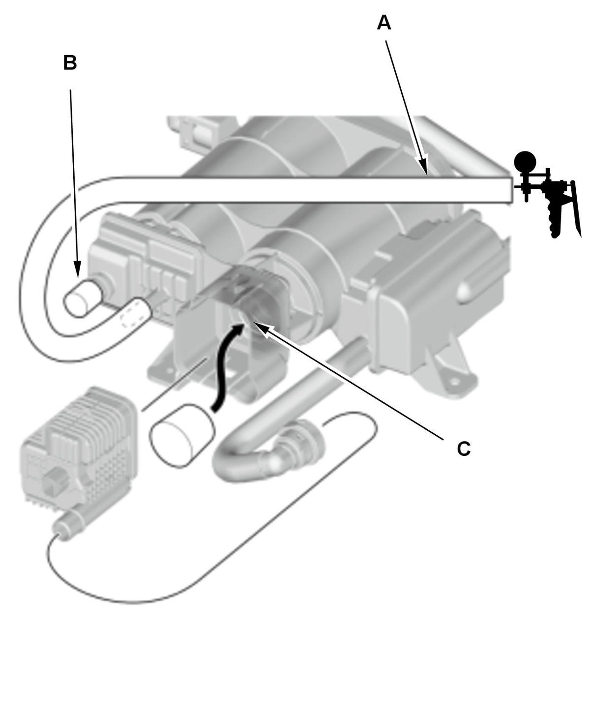
  3. EVAP leak detection module drain passage check

    -1. Remove the fuel tank .

    -2. Disconnect the drain hose (A) from the EVAP leak detection module (B), then connect the pressure fitting of the vacuum pump/gauge, 0-30 inHg, to the drain hose as shown.

    GHH417471Courtesy of HONDA, U.S.A., INC.

    -3. Slowly pressurize the drain passage while watching the gauge to check the blockage in the drain passage.

    Does it hold a pressure?

    YES 

    Remove the blockage from them, or replace the part(s) if needed.

    NO 

    Go to step 4.

  4. Determine possible failure area (Purge line, others)

    -1. Reconnect the purge hoses to the EVAP canister purge valve.

    -2. Disconnect the purge hose (A) from the EVAP canister (B), then connect the vacuum pump/gauge, 0-30 inHg, to the hose as shown.

    GHH417472Courtesy of HONDA, U.S.A., INC.

    -3. Slowly apply a vacuum to the hose.

    Does it hold a vacuum?

    YES 

    Go to step 5.

    NO 

    Repair or replace the purge line from the EVAP canister and the EVAP canister purge valve.

  5. Determine possible failure area (fuel vapor containment valve, others)

    -1. Disconnect the fuel vapor hoses and plug the ports (A). Disconnect the purge hose (B), then connect the vacuum pump/gauge, 0-30 inHg, to the hose as shown.

    GHH417473Courtesy of HONDA, U.S.A., INC.

    -2. Turn the vehicle to the ON mode.

    -3. Check and record the EVAP leak detection module pressure sensor reading in the DATA LIST with the HDS.

    Signal Current conditions
    Values Unit
    Absolute Pressure of ELCM Pressure Sensor    

    Data List

    -4. Apply about 2 kPa (0.6 inHg, 15 mmHg) of vacuum from the recorded reading to the hose.

    NOTE: To avoid damaging the EVAP leak detection module pressure sensor, do not apply more than 2 kPa (0.6 inHg, 15 mmHg) of vacuum.

    Does it hold a vacuum?

    YES 

    Replace the fuel vapor containment valve .

    NO 

    Go to step 6.

  6. EVAP canister check

    -1. Turn the vehicle to the OFF (LOCK) mode.

    -2. Remove the EVAP leak detection module from the EVAP canister .

    -3. Connect the vacuum hose (A) and the vacuum pump/gauge, 0-30 inHg, then plug the port (B) and the port (C),

    GHH417474Courtesy of HONDA, U.S.A., INC.

    -4. Slowly apply a vacuum to the hose.

    Does it hold a vacuum?

    YES 

    EVAP canister is OK, replace the EVAP leak detection module .

    NO 

    Replace the EVAP canister .