LEMON Manuals: Even more car manuals for everyone: 1960-2025
Home >> Honda >> 2021 >> Clarity Plug-In Hybrid >> Repair and Diagnosis >> Steering >> Power Steering >> Steering System - Testing & Troubleshooting (Plug-In) >> Description & Operation >> EPS System Description - System Diagram
April 5, 2026: LEMON Manuals is launched! Read the announcement.

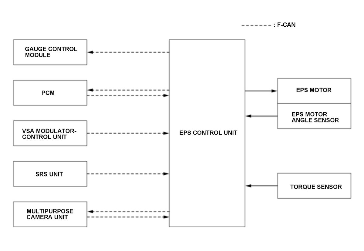
EPS System Description - System Diagram

For locations of each component on vehicle, refer to the Component Location Index:

GHH420726Courtesy of HONDA, U.S.A., INC.

F-CAN Communication Data 

EPS Control Unit Receiving Signal 

Transmitting Unit Signal Name
PCM
  • Vehicle speed signal
  • Engine speed signal
  • Cruise control operating state signal
Transmitting Unit Signal Name
VSA modulator-control unit
  • Vehicle behavior (understeer information)
  • Road surface state
  • Estimated longitudinal acceleration signal
  • Wheel speed signals
SRS unit
  • Yaw rate signal
  • Longitudinal acceleration signal
Multipurpose camera unit
  • LKAS control signal
  • Steering wheel vibration request

EPS Control Unit Transmitting Signal 

Transmitting Unit Signal Name
EPS Control Unit
  • Indicator drive signal
  • Motor load status
  • System failure Information
  • Steering torque signal
  • Motor speed signal
  • Steering angle signal