LEMON Manuals: Even more car manuals for everyone: 1960-2025
Home >> Honda >> 2021 >> HR-V EX, AWD >> Repair and Diagnosis (Single Page) >> Body & Frame >> Door Locks >> Security System Keyless Entry System - Testing & Troubleshooting >> Description & Operation >> Keyless Access System Description - Control/Function (2019 2020 2021)
April 5, 2026: LEMON Manuals is launched! Read the announcement.

Keyless Access System Description - Control/Function (2019 2020 2021)

Smart Entry Function 

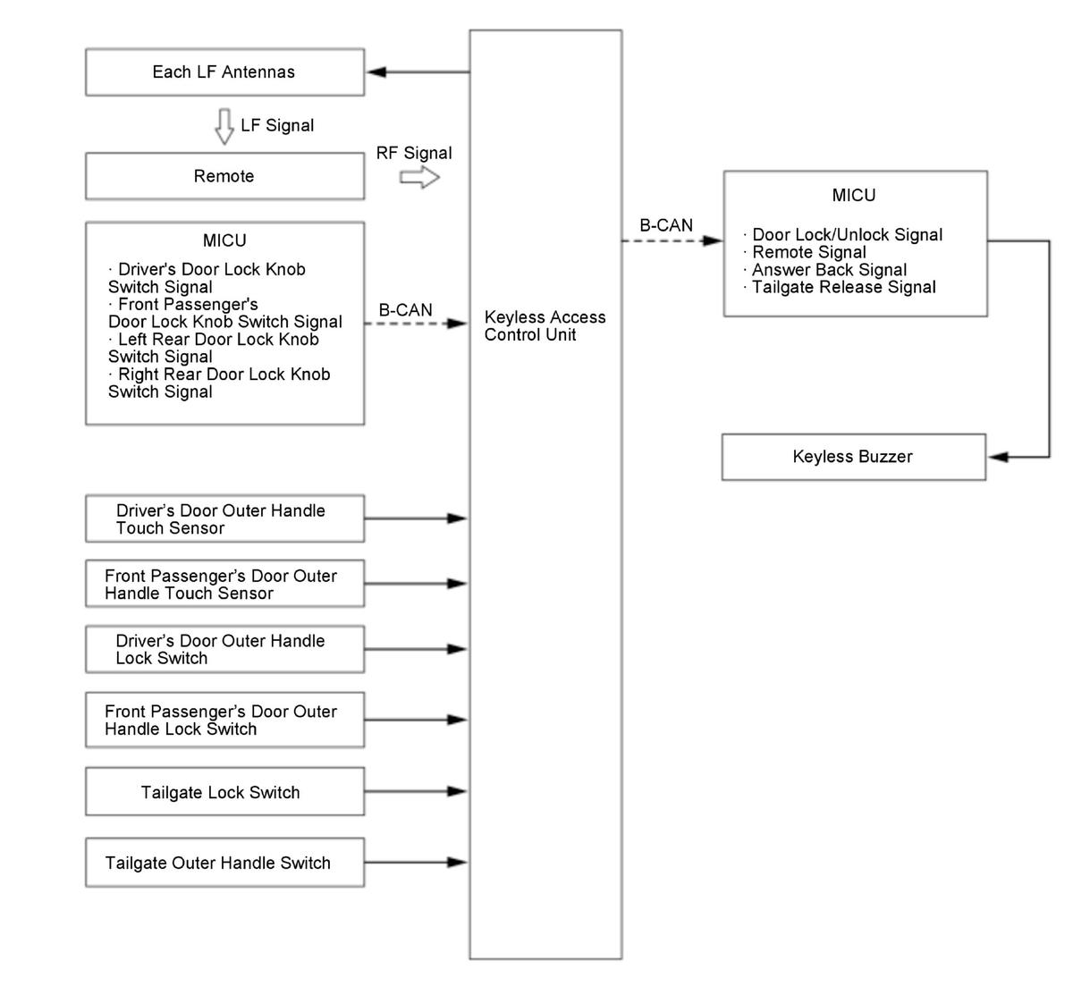
The keyless access control unit detects the input signal of the door outer handle touch sensor or the outer handle lock switch, and authenticates 2-way communication with the remote. Then the keyless access control unit sends a door lock/unlock signal, a tailgate release signal, and an answer back signal to the MICU via the B-CAN.

GHH438497Courtesy of HONDA, U.S.A., INC.

Keyless Entry Function 

The keyless access control unit receives the keyless transmitter signal from the remote. The keyless access control unit authenticates the RF signal, and sends a door lock/unlock signal and tailgate release signal to the MICU via the B-CAN.

GHH438498Courtesy of HONDA, U.S.A., INC.

Remote Search Function 

Determines if the remote is present inside the vehicle during operation.

Key Lockout Prevent Function 

The keyless access control unit monitors whether or not there is the remote in the vehicle. If the remote is in the vehicle, the system will not lock the doors. If the driver manually locks and closes the doors with the remote in the vehicle, the MICU energizes the door lock actuator and unlocks the doors. Also, if the tailgate is closed when the remote is left in the vehicle with all the door closed and the each door lock knob at lock position, the MICU energizes the door lock actuator and unlocks the doors. In addition, when the key lockout prevent function operates, the answer back is performed.

GHH438499Courtesy of HONDA, U.S.A., INC.

Electric Steering Lock (With Electric Steering Lock) 

The electric steering lock control unit is built into the electric steering lock, and it controls the steering lock motor. When the remote code is identified, the electric steering lock control unit unlocks the steering lock by controlling the steering lock motor.

GHH438500Courtesy of HONDA, U.S.A., INC.

Lighting and Indicator Function 

The keyless access control unit controls the engine start/stop switch indicator, and illuminates the keyless access indicators in the gauge control module.

Backup Communication Function 

When key authentication between the remote and the keyless access control unit is not possible because of a system abnormality or a drop of the battery voltage of the remote, the immobilizer function can be canceled by pressing the engine start/stop button once and bringing the remote close to the engine start/stop switch while the indicator of the engine start/stop switch is flashing. This causes the built-in immobilizer receiver of the engine start/stop switch to receive the immobilizer signal and to send the immobilizer signal to the keyless access control unit.

GHH438501Courtesy of HONDA, U.S.A., INC.

Immobilizer Function 

The immobilizer function is deactivated by mutual communication between the keyless access control unit, the PCM, and the MICU via the S-NET.

Alarm Function 

Every time the doors are detected as opened or closed with the vehicle in the ACCESSORY/ON mode, the remote search function determines if the remote is present inside the vehicle. When the remote is taken out of the vehicle, the keyless buzzer sounds, and the gauge control module (Only when the vehicle is in the ON mode) shows a warning. Before the remote battery level falls to the point where the remote cannot be detected, the gauge control module will show a warning and will sound an alarm.

Registration Facility 

The keyless access control unit can store up to 6 remotes with the HDS.

Fault Diagnosis Function 

The system has a fault diagnosis function. If any malfunction occurs, the keyless access indicator comes on in the gauge control module.

Customer Emergency 

If for any reason you need to shut off the engine while the vehicle is in motion, press the engine start/stop button quickly 3 times, or hold the engine start/stop button for 1.5 seconds. The engine turns off, and the vehicle mode switches to ACCESSORY. In this mode, the steering wheel remains unlocked *.

*: With electric steering lock

Panic Function 

When you press the PANIC button on the remote, the keyless access control unit sends a signal to the MICU via the B-CAN to sound the horn and activate the exterior lights.

Walk Away Auto Lock Function (If Equipped) 

The walk away auto lock function detects where the remote is and locks all doors on the vehicle when all the doors are closed and the remote is outside of the vehicle and out of the range.

To operate the walk away auto lock system, it is necessary to enter the auto lock mode. To enter the auto lock mode, the following conditions must be met:

Once the system enters the auto lock mode, the vehicle's buzzer beeps sound once. After the auto lock mode is engaged and the remote is away more than 1.5 m (5 ft) from the vehicle, all the doors become locked. At that time, the vehicle's buzzer beeps once and some exterior lights blink once to confirm that the walk away lock system is engaged. However, if the remote is within 1.5 m (5 ft) from the vehicle for 30 sec. or more, the doors automatically lock.

The walk away auto lock system does not work under the following conditions:

The walk away auto lock system does not work and the vehicle's buzzer beeps under the following conditions: