LEMON Manuals: Even more car manuals for everyone: 1960-2025
Home >> Honda >> 2021 >> HR-V EX, AWD >> Repair and Diagnosis >> Accessories & Equipment >> Anti-Theft Systems >> Security System Keyless Entry System - Testing & Troubleshooting >> Description & Operation >> Keyless Access System Description - Control/Function (2016 2017 2018)
April 5, 2026: LEMON Manuals is launched! Read the announcement.

Keyless Access System Description - Control/Function (2016 2017 2018)

Smart Entry Function 

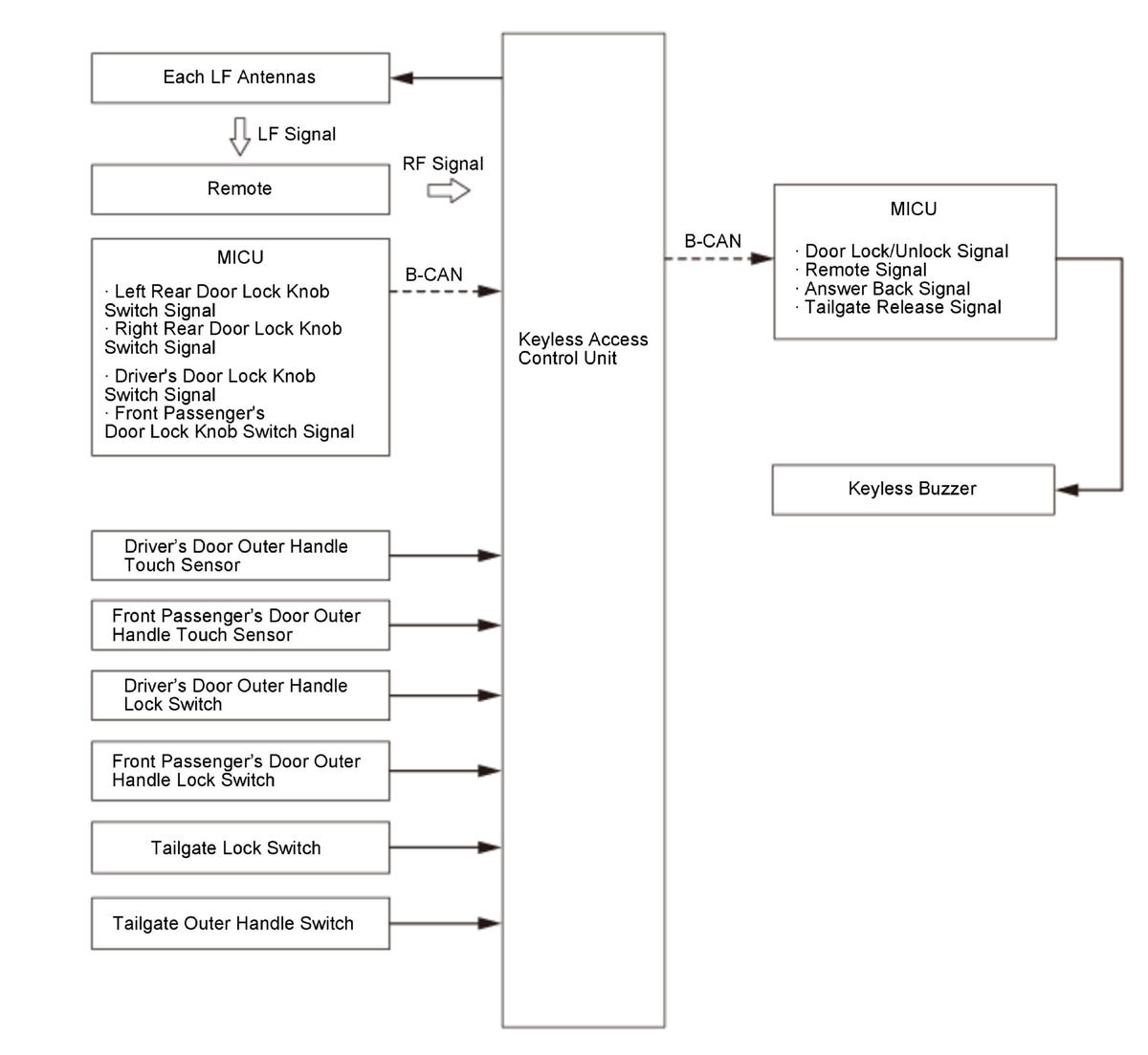
The keyless access control unit detects the input signal of the door outer handle touch sensor or the outer handle lock switch, and authenticates 2-way communication with the remote. Then the keyless access control unit sends a door lock/unlock signal, a tailgate release signal, and an answer back signal to the MICU via the B-CAN.

GHH438492Courtesy of HONDA, U.S.A., INC.

Keyless Entry Function 

The keyless access control unit receives the keyless transmitter signal from the remote. The keyless access control unit authenticates the RF signal, and sends a door lock/unlock signal and tailgate release signal to the MICU via the B-CAN.

GHH438493Courtesy of HONDA, U.S.A., INC.

Remote Search Function 

Determines if the remote is present inside the vehicle during operation.

Key Lockout Prevent Function 

The lockout prevent function observes the key switch signal input. If the input is "ON" (remote in the vehicle), the system will not lock the doors. If the driver manually locks and closes the doors with a remote in the vehicle (input ON), the MICU energizes the driver's door actuator and unlocks the driver's door. If the remote remains in the cargo area, the system will not lock the tailgate. If the tailgate is closed when the remote remains in the cargo area, the tailgate lock will not lock.

GHH438494Courtesy of HONDA, U.S.A., INC.

Electric Steering Lock (With Electric Steering Lock) 

The electric steering lock control unit is built into the electric steering lock, and it controls the steering lock motor. When the remote code is identified, the electric steering lock control unit unlocks the steering lock by controlling the steering lock motor.

GHH438495Courtesy of HONDA, U.S.A., INC.

Lighting and Indicator Function 

The keyless access control unit controls the engine start/stop switch indicator, and illuminates the keyless access indicators in the gauge control module.

Backup Communication Function 

When key authentication between the remote and the keyless access control unit is not possible because of a system abnormality or a drop of the battery voltage of the remote, the immobilizer function can be canceled by pressing the engine start/stop button once and bringing the remote close to the engine start/stop switch while the indicator of the engine start/stop switch is flashing. This causes the built-in immobilizer receiver of the engine start/stop switch to receive the immobilizer signal and to send the immobilizer signal to the keyless access control unit.

GHH438496Courtesy of HONDA, U.S.A., INC.

Immobilizer Function 

The immobilizer function is deactivated by mutual communication between the keyless access control unit, the PCM, and the MICU via the S-NET.

Alarm Function 

This function detects if the door is opened or closed with the vehicle in the ACCESSORY or ON mode. When the remote is taken out of the vehicle, the keyless buzzer will sound and the gauge control module (Only at the vehicle in the ON mode) will show a warning. Before the remote battery level falls to the point where the remote cannot be detected, the gauge control module will show a warning and will sound an alarm.

Registration Facility 

The keyless access control unit can store up to 6 remotes with the HDS.

Fault Diagnosis Function 

The system has a fault diagnosis function. If any malfunction occurs, the keyless access indicator comes on in the gauge control module.

Customer Emergency 

If for any reason you need to shut off the engine while the vehicle is in motion, press the engine start/stop button quickly 2 times, or hold the engine start/stop button for 1.5 seconds. The engine turns off, and the vehicle mode switches to ACCESSORY. In this mode, the steering wheel remains unlocked.

Panic Function 

When you press the PANIC button on the remote, the keyless access control unit sends a signal to the MICU via the B-CAN to sound the horn and activate the exterior lights.