LEMON Manuals: Even more car manuals for everyone: 1960-2025
Home >> Honda >> 2021 >> Insight EX >> Repair and Diagnosis (Single Page) >> Body & Frame >> Door Locks >> Security System / Keyless Entry System - Testing & Troubleshooting >> System Description >> Keyless/Power Door Locks/Security >> Security Control >> Notes
April 5, 2026: LEMON Manuals is launched! Read the announcement.

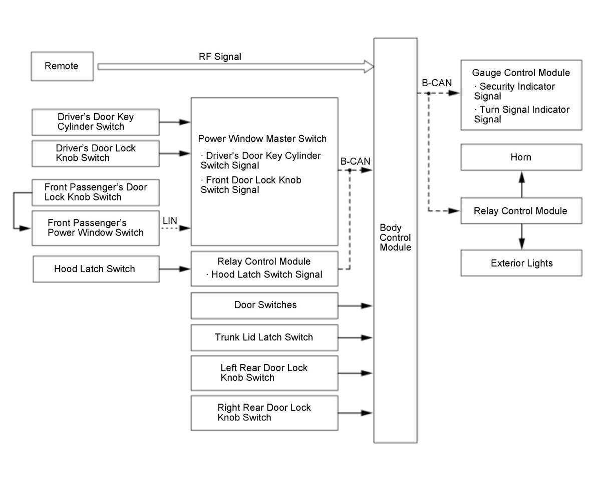
Security Control: Notes

When the security alarm is set, the body control module sends the security set signal using the B-CAN.

GHH387947Courtesy of HONDA, U.S.A., INC.