LEMON Manuals: Even more car manuals for everyone: 1960-2025
Home >> Honda >> 2021 >> Insight EX >> Repair and Diagnosis (Single Page) >> Engine Performance >> System >> Engine Control System - Advanced Diagnostics (1 Of 2) >> Advanced Diagnostics >> DTC P04C2 >> General Description
April 5, 2026: LEMON Manuals is launched! Read the announcement.

DTC P04C2: General Description

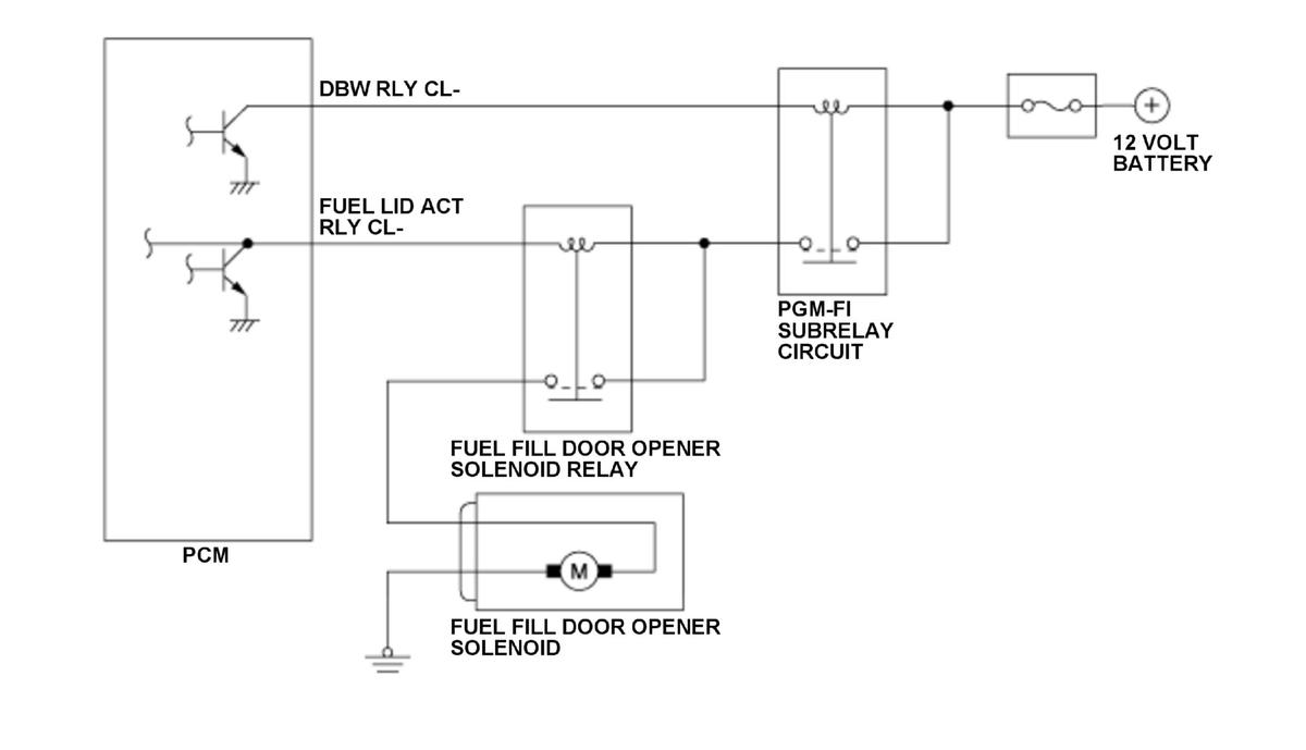
GHH384529Courtesy of HONDA, U.S.A., INC.

The fuel fill door opener solenoid relay is installed to switch the power source of the actuator for the fuel lid open control for refueling. The fuel fill door opener solenoid relay is normally non-energized and the fuel lid is closed. The powertrain control module (PCM) detects a malfunction and stores a DTC when close signal is returned continuously for the prescribed time or more though open signal is not output to the fuel fill door opener solenoid relay.