LEMON Manuals: Even more car manuals for everyone: 1960-2025
Home >> Honda >> 2021 >> Insight EX >> Repair and Diagnosis (Single Page) >> Hybrid/Electric Powertrain >> Electric Converters and Controllers >> Electric Powertrain - Testing & Troubleshooting >> Connector View >> Battery Condition Monitor Module Connector for Inputs and Outputs
April 5, 2026: LEMON Manuals is launched! Read the announcement.

Battery Condition Monitor Module Connector for Inputs and Outputs

Battery Condition Monitor Module Connector for Inputs and Outputs 

Connector Index
Battery Condition Monitor Module Connector A (28P)
Battery Condition Monitor Module Connector B (28P)
Battery Condition Monitor Module Connector C (28P)
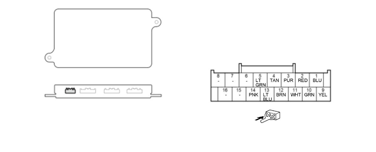
Battery Condition Monitor Module Connector D (16P)
Battery Condition Monitor Module Connector E (32P)
Battery Condition Monitor Module Connector F (12P)

Battery Condition Monitor Module Connector A (28P) (female terminals) 

GHH384012Courtesy of HONDA, U.S.A., INC.
Terminal number Terminal name Description
1 Not used  
2 Not used  
3 Not used  
4 BATT- Detects high voltage battery negative (-) pole terminal signal
5 Not used  
6 Not used  
7 Not used  
8 VH0 Detects battery cell voltage signal
9 VH2 Detects battery cell voltage signal
10 VH4 Detects battery cell voltage signal
11 VH6 Detects battery cell voltage signal
12 VH8 Detects battery cell voltage signal
13 Not used  
14 Not used  
15 BATT+ Detects high voltage battery positive (+) pole terminal signal
16 Not used  
17 Not used  
18 Not used  
19 Not used  
20 Not used  
21 Not used  
22 Not used  
Terminal number Terminal name Description
23 VH1 Detects battery cell voltage signal
24 VH3 Detects battery cell voltage signal
25 VH5 Detects battery cell voltage signal
26 VH7 Detects battery cell voltage signal
27 VH9 Detects battery cell voltage signal
28 Not used  

Battery Condition Monitor Module Connector B (28P) (female terminals) 

GHH384013Courtesy of HONDA, U.S.A., INC.
Terminal number Terminal name Description
1 VH11 Detects battery cell voltage signal
2 VH13 Detects battery cell voltage signal
3 VH15 Detects battery cell voltage signal
4 VH17 Detects battery cell voltage signal
5 VH19 Detects battery cell voltage signal
6 Not used  
7 VH20 Detects battery cell voltage signal
8 VH22 Detects battery cell voltage signal
9 VH24 Detects battery cell voltage signal
10 VH26 Detects battery cell voltage signal
11 VH28 Detects battery cell voltage signal
12 VH30-0 Detects battery cell voltage signal
13 Not used  
14 Not used  
15 VH10 Detects battery cell voltage signal
16 VH12 Detects battery cell voltage signal
17 VH14 Detects battery cell voltage signal
18 VH16 Detects battery cell voltage signal
19 VH18 Detects battery cell voltage signal
20 Not used  
21 Not used  
22 VH21 Detects battery cell voltage signal
23 VH23 Detects battery cell voltage signal
Terminal number Terminal name Description
24 VH25 Detects battery cell voltage signal
25 VH27 Detects battery cell voltage signal
26 VH29 Detects battery cell voltage signal
27 Not used  
28 Not used  

Battery Condition Monitor Module Connector C (28P) (female terminals) 

GHH384014Courtesy of HONDA, U.S.A., INC.
Terminal number Terminal name Description
1 VH31 Detects battery cell voltage signal
2 VH33 Detects battery cell voltage signal
3 VH35 Detects battery cell voltage signal
4 VH37 Detects battery cell voltage signal
5 VH39 Detects battery cell voltage signal
6 Not used  
7 VH40 Detects battery cell voltage signal
8 VH42 Detects battery cell voltage signal
9 VH44 Detects battery cell voltage signal
10 VH46 Detects battery cell voltage signal
11 VH48 Detects battery cell voltage signal
12 Not used  
13 Not used  
14 Not used  
15 VH30-1 Detects battery cell voltage signal
16 VH32 Detects battery cell voltage signal
17 VH34 Detects battery cell voltage signal
18 VH36-0 Detects battery cell voltage signal
19 VH38 Detects battery cell voltage signal
20 Not used  
21 Not used  
22 VH41 Detects battery cell voltage signal
23 VH43 Detects battery cell voltage signal
24 VH45 Detects battery cell voltage signal
Terminal number Terminal name Description
25 VH47 Detects battery cell voltage signal
26 VH49 Detects battery cell voltage signal
27 Not used  
28 Not used  

Battery Condition Monitor Module Connector D (16P) (female terminals) 

GHH384015Courtesy of HONDA, U.S.A., INC.
Terminal number Terminal name Description
1 VH51 Detects battery cell voltage signal
2 VH53 Detects battery cell voltage signal
3 VH55 Detects battery cell voltage signal
4 VH57 Detects battery cell voltage signal
5 VH59 Detects battery cell voltage signal
6 Not used  
7 Not used  
8 Not used  
9 VH50 Detects battery cell voltage signal
10 VH52 Detects battery cell voltage signal
11 VH54 Detects battery cell voltage signal
12 VH56 Detects battery cell voltage signal
13 VH58 Detects battery cell voltage signal
14 VH60 Detects battery cell voltage signal
15 Not used  
16 Not used  

Battery Condition Monitor Module Connector E (32P) (female terminals) 

GHH384016Courtesy of HONDA, U.S.A., INC.
Terminal number Terminal name Description
1 +B IGB Power source for battery condition monitor module (backup)
2 IGB Power source for battery condition monitor module
3 CNTPSIN Power source for contactors
4 CNTP Drives high voltage contactor
5 CNTN Drives high voltage sub contactor
6 PRE Drives bypass contactor
7 IG1MONI Detects IG1 signal
8 F-CAN A_L Sends and receives F-CAN A communication signal (LOW)
9 F-CAN A_H Sends and receives F-CAN A communication signal (HIGH)
10 EP-CAN A_L Sends and receives EP-CAN communication signal (LOW)
11 EP-CAN A_H Sends and receives EP-CAN communication signal (HIGH)
12 Not used  
13 Not used  
14 NFAN Detects high voltage battery module fan revolution speed signal
15 Not used  
16 Not used  
17 PG Ground for battery condition monitor module
18 Not used  
19 IGHLDB Drives IGHLDB relay
20 IGHLD Drives IGHLD1 relay
21 IGHLD2 Drives battery fan relay
22 Not used  
23 IGAMONI Detects IGA signal
24 FANCTL Drives high voltage battery module fan
25 Not used  
26 ISOC Detects battery current sensor signal (normal range)
27 ISOCF Detects battery current sensor signal (fine range)
28 VCCISOC Provides battery current sensor reference voltage
29 SGISOC Sensor ground for battery current sensor
30 CDS Detects collision detection signal from SRS unit
31 Not used  
32 Not used  

Battery Condition Monitor Module Connector F (12P) (female terminals) 

GHH384017Courtesy of HONDA, U.S.A., INC.
Terminal number Terminal name Description
1 TBATT1 Detects high voltage battery module temperature sensor 1 signal
2 TBATT3 Detects high voltage battery module temperature sensor 3 signal
3 TBATT5 Detects high voltage battery module temperature sensor 5 signal
4 Not used  
5 BATTIND1 Detects high voltage battery module identification resistor signal
6 SGTB Sensor ground for high voltage battery module
7 TBATT2 Detects high voltage battery module temperature sensor 2 signal
8 TBATT4 Detects high voltage battery module temperature sensor 4 signal
9 Not used  
10 Not used  
11 BATTIND2 Detects high voltage battery module identification resistor signal
12 Not used