LEMON Manuals: Even more car manuals for everyone: 1960-2025
Home >> Honda >> 2021 >> Insight LX >> Repair and Diagnosis >> Engine Performance >> System >> Engine Control System - Advanced Diagnostics (1 Of 2) >> Advanced Diagnostics >> DTC P0130 (2020 2021) >> General Description
April 5, 2026: LEMON Manuals is launched! Read the announcement.

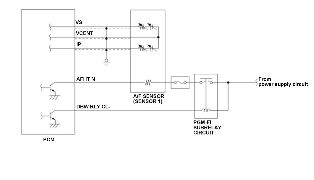
DTC P0130 (2020 2021): General Description

GHH384454Courtesy of HONDA, U.S.A., INC.

The air/fuel ratio (A/F) sensor (sensor 1) is a sensor used for the air/fuel feedback. The limit of the air/fuel ratio (A/F) sensor (sensor 1) output is specified. If the output exceeds that limit, the powertrain control module (PCM) detects a malfunction and stores a DTC.