LEMON Manuals: Even more car manuals for everyone: 1960-2025
Home >> Honda >> 2021 >> Insight LX >> Repair and Diagnosis >> Engine Performance >> System >> Engine Control System - Advanced Diagnostics (2 Of 2) >> Advanced Diagnostics >> DTC P24B9 >> General Description
April 5, 2026: LEMON Manuals is launched! Read the announcement.

DTC P24B9: General Description

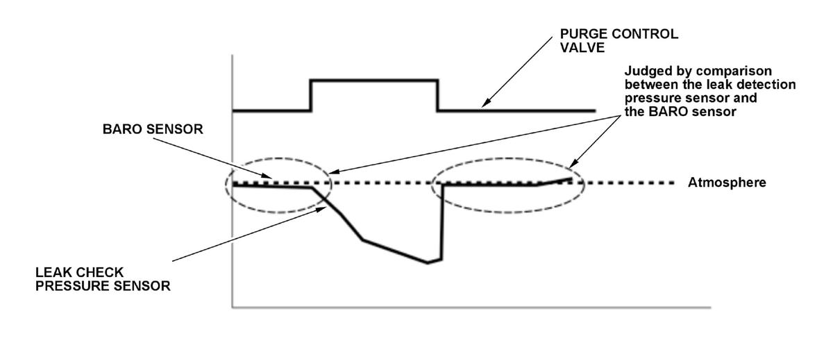
GHH384677Courtesy of HONDA, U.S.A., INC.

The fuel vapor in the fuel tank is temporarily stored in the evaporative emission (EVAP) canister and drawn into the engine through the EVAP canister purge valve. The powertrain control module (PCM) controls the amount of vapor introduced into the engine by varying the duty cycle of the EVAP canister purge valve according to the condition of the engine. While purge control is stopped, the leak check pressure sensor output is a pressure equivalent to the atmospheric pressure. If the difference between the barometric pressure (BARO) sensor pressure and leak check pressure sensor pressure exceeds the specified value for a set time, the PCM detects a malfunction and stores a DTC.