LEMON Manuals: Even more car manuals for everyone: 1960-2025
Home >> Honda >> 2021 >> Odyssey EX >> Repair and Diagnosis (Single Page) >> Accessories & Equipment >> Entertainment Systems >> Audio / Visual Systems - Symptom Troubleshooting >> Symptom Troubleshooting >> Audio and Visual System Symptom Troubleshooting >> Error code: Check Antenna is displayed
April 5, 2026: LEMON Manuals is launched! Read the announcement.

Error code: Check Antenna is displayed

NOTE: 

  1. Problem verification

    -1. Turn the vehicle to the ON mode.

    -2. Turn on the audio system, and select the XM radio.

    Is Check Antenna displayed on the center display?

    YES 

    Intermittent failure, the system is OK at this time.

    NO 

    The failure is duplicated, go to step 2.

  2. Determine possible failure area (SXM circuit, others)

    -1. Turn the vehicle to the OFF (LOCK) mode.

    -2. Open the driver's door, and wait more than 1 minute.

    -3. Disconnect the following connector.

    Roof antenna connector B (2P)

    -4. Turn the vehicle to the ON mode.

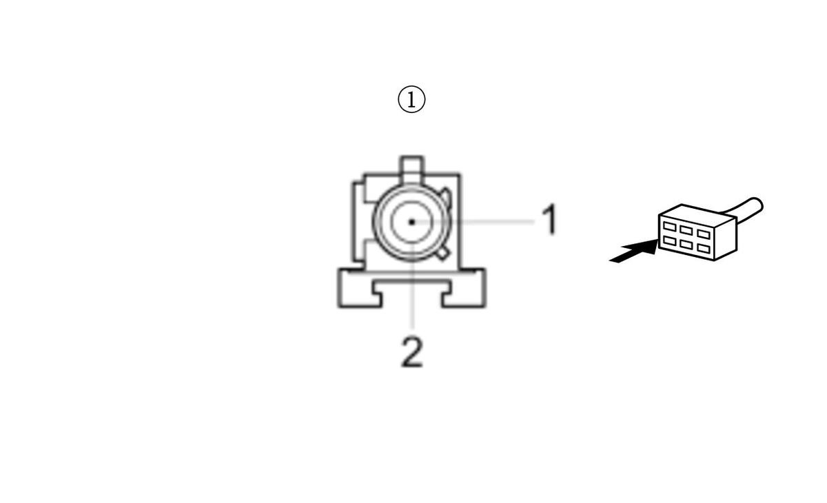
    -5. Measure the voltage between test points 1 and 2.

    Test condition Vehicle ON mode
      Roof antenna connector B (2P): disconnected
    Test point 1 Roof antenna connector B (2P) (male terminals) No. 1:
    Test point 2 Roof antenna connector B (2P) (male terminals) No. 2:
    GHH440093Courtesy of HONDA, U.S.A., INC.

    Is there about 4.0 V - 5.0 V?

    YES 

    Go to step 3.

    NO 

    Go to step 4.

  3. XM antenna check

    -1. Turn the vehicle to the OFF (LOCK) mode.

    -2. Open the driver's door, and wait more than 1 minute.

    -3. Substitute a known-good roof antenna .

    -4. Reconnect all the connectors, and recheck.

    Does the symptom go away?

    YES 

    Replace the original roof antenna.

    NO: With 11 speakers

    Replace the tuner unit .

    NO: With 7 speakers

    Replace the tuner-amplifier unit .

  4. Open wire check (SH (SXM) line)

    -1. Turn the vehicle to the OFF (LOCK) mode.

    -2. Open the driver's door, and wait more than 1 minute.

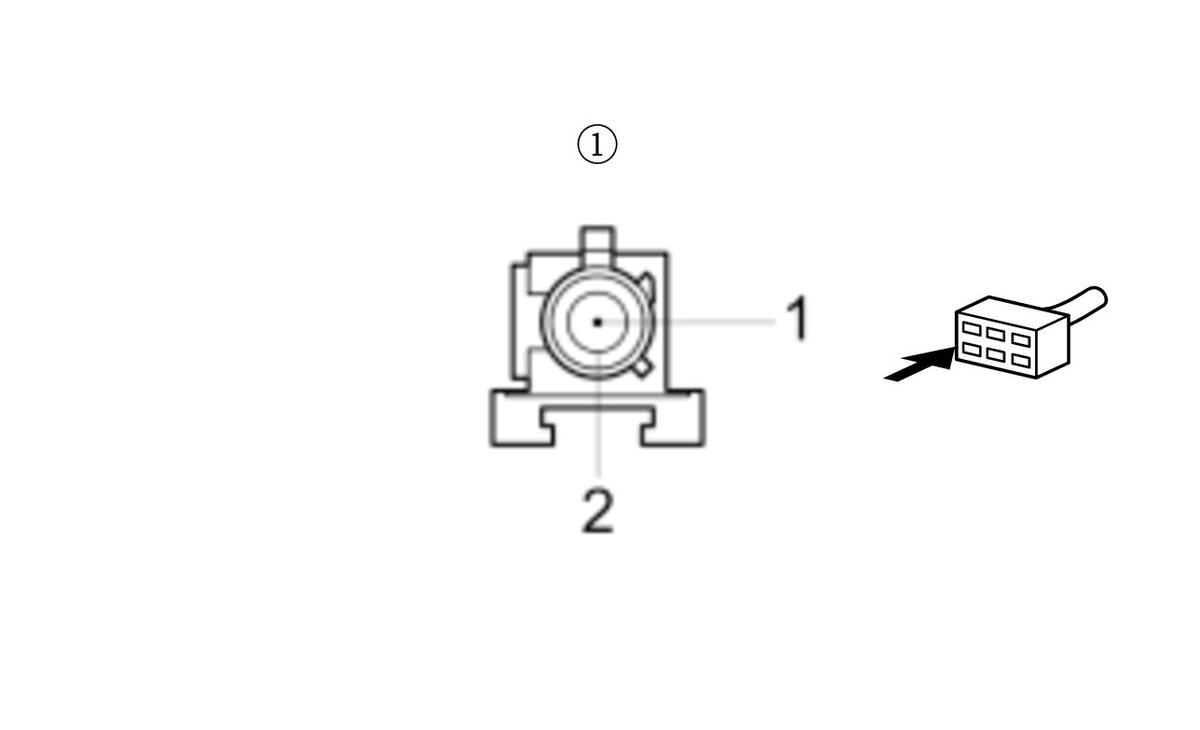
    -3. Check for continuity between test points 1 and 2.

    Test condition Vehicle OFF (LOCK) mode
      Roof antenna connector B (2P): disconnected
    Test point 1 Roof antenna connector B (2P) (male terminals) No. 2:
    Test point 2 Body ground
    GHH440095Courtesy of HONDA, U.S.A., INC.

    Is there continuity?

    YES: With 11 speakers

    The SH (SXM) wire is not open. Go to step 5.

    YES: With 7 speakers

    The SH (SXM) wire is not open. Go to step  8.

    NO 

    There is an open in the wire. Replace the affected antenna lead.

  5. Shorted wire check (SXM line)

    -1. Disconnect the following connector.

    Tuner unit connector E (2P)

    -2. Check for continuity between test points 1 and 2.

    Test condition Vehicle OFF (LOCK) mode
      Roof antenna connector B (2P): disconnected
      Tuner unit connector E (2P): disconnected
    Test point 1 Tuner unit connector E (2P) No. 1
    Test point 2 Body ground

    Is there continuity?

    YES 

    There is a short to body ground in the wire. Replace the affected antenna lead.

    NO 

    The SXM wire is not shorted to ground. Go to step 6.

  6. Shorted wire check (SXM line to SH (SXM) line)

    -1. Check for continuity between test points 1 and 2.

    Test condition Vehicle OFF (LOCK) mode
      Roof antenna connector B (2P): disconnected
      Tuner unit connector E (2P): disconnected
    Test point 1 Tuner unit connector E (2P) No. 1
    Test point 2 Tuner unit connector E (2P) No. 2

    Is there continuity?

    YES 

    There is a short in the wire. Replace the affected antenna lead.

    NO 

    The SXM wire is not shorted to the SH (SXM) wire. Go to step 7.

  7. Open wire check (SXM line)

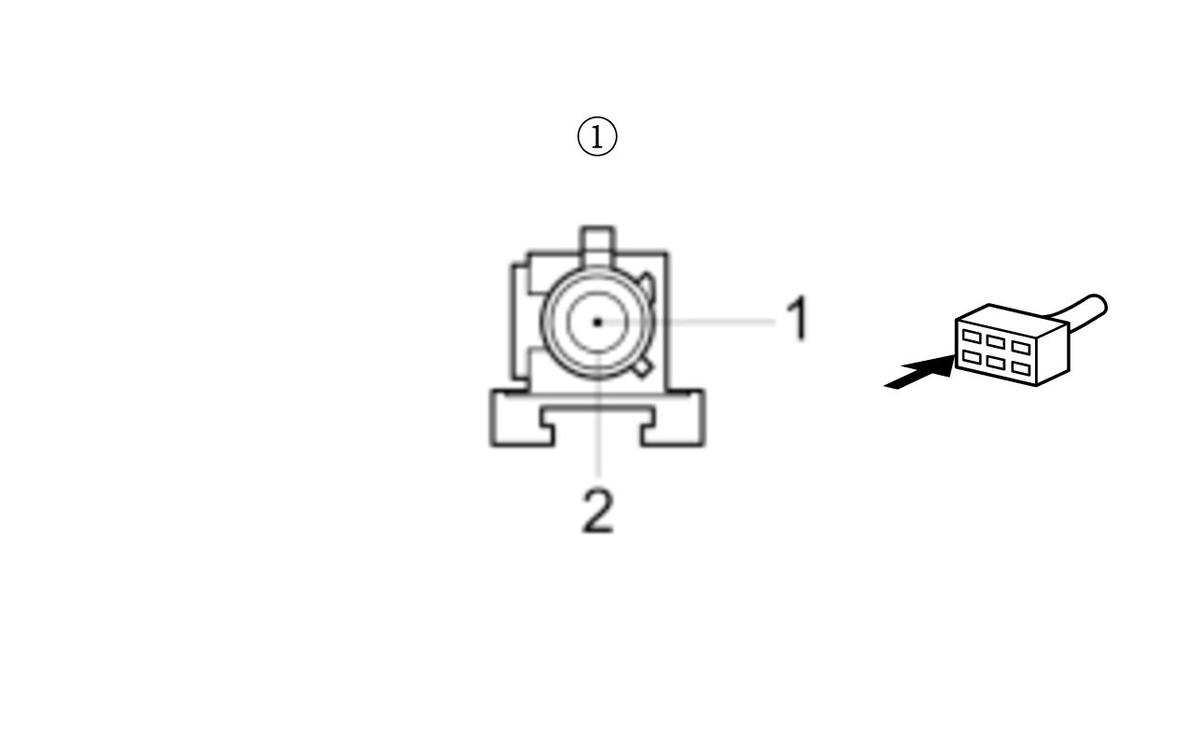
    -1. Check for continuity between test points 1 and 2.

    Test condition Vehicle OFF (LOCK) mode
      Roof antenna connector B (2P): disconnected
      Tuner unit connector E (2P): disconnected
    Test point 1 Tuner unit connector E (2P) No. 1
    Test point 2 Roof antenna connector B (2P) (male terminals) No. 1:
    GHH440097Courtesy of HONDA, U.S.A., INC.

    Is there continuity?

    YES 

    Replace the tuner unit .

    NO 

    There is an open in the wire. Replace the affected antenna lead.

  8. Shorted wire check (SXM line)

    -1. Disconnect the following connector.

    Tuner-amplifier unit connector F (2P)

    -2. Check for continuity between test points 1 and 2.

    Test condition Vehicle OFF (LOCK) mode
      Roof antenna connector B (2P): disconnected
      Tuner-amplifier unit connector F (2P): disconnected
    Test point 1 Tuner-amplifier unit connector F (2P) No. 1
    Test point 2 Body ground

    Is there continuity?

    YES 

    There is a short to body ground in the wire. Replace the affected antenna lead.

    NO 

    The SXM wire is not shorted to ground. Go to step 9.

  9. Shorted wire check (SXM line to SH (SXM) line)

    -1. Check for continuity between test points 1 and 2.

    Test condition Vehicle OFF (LOCK) mode
      Roof antenna connector B (2P): disconnected
      Tuner-amplifier unit connector F (2P): disconnected
    Test point 1 Tuner-amplifier unit connector F (2P) No. 1
    Test point 2 Tuner-amplifier unit connector F (2P) No. 2

    Is there continuity?

    YES 

    There is a short in the wire. Replace the affected antenna lead.

    NO 

    The SXM wire is not shorted to the SH (SXM) wire. Go to step 10.

  10. Open wire check (SXM line)

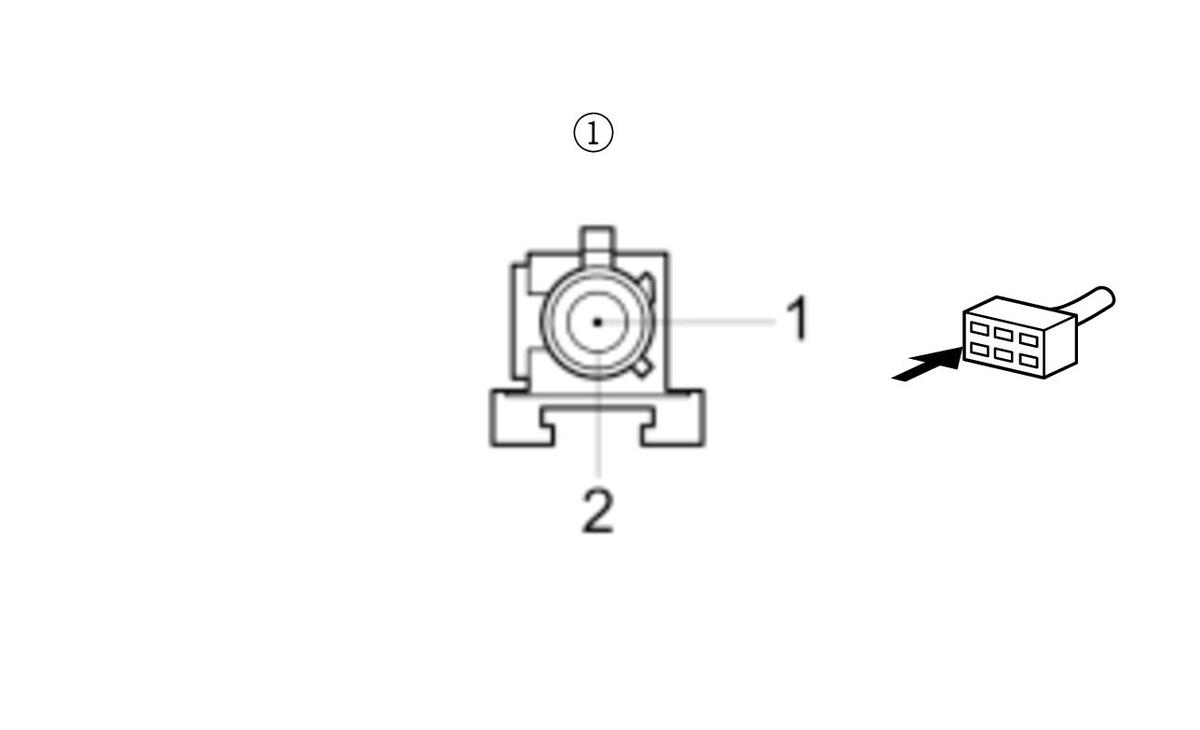
    -1. Check for continuity between test points 1 and 2.

    Test condition Vehicle OFF (LOCK) mode
      Roof antenna connector B (2P): disconnected
      Tuner-amplifier unit connector F (2P): disconnected
    Test point 1 Tuner-amplifier unit connector F (2P) No. 1
    Test point 2 Roof antenna connector B (2P) (male terminals) No. 1:
    GHH440099Courtesy of HONDA, U.S.A., INC.

    Is there continuity?

    YES 

    Replace the tuner-amplifier unit .

    NO 

    There is an open in the wire. Replace the affected antenna lead.