LEMON Manuals: Even more car manuals for everyone: 1960-2025
Home >> Honda >> 2021 >> Odyssey EX >> Repair and Diagnosis (Single Page) >> Body & Frame >> Door Locks >> Security System / Keyless Entry System - Testing & Troubleshooting >> Description & Operation >> Keyless Access System Description
April 5, 2026: LEMON Manuals is launched! Read the announcement.

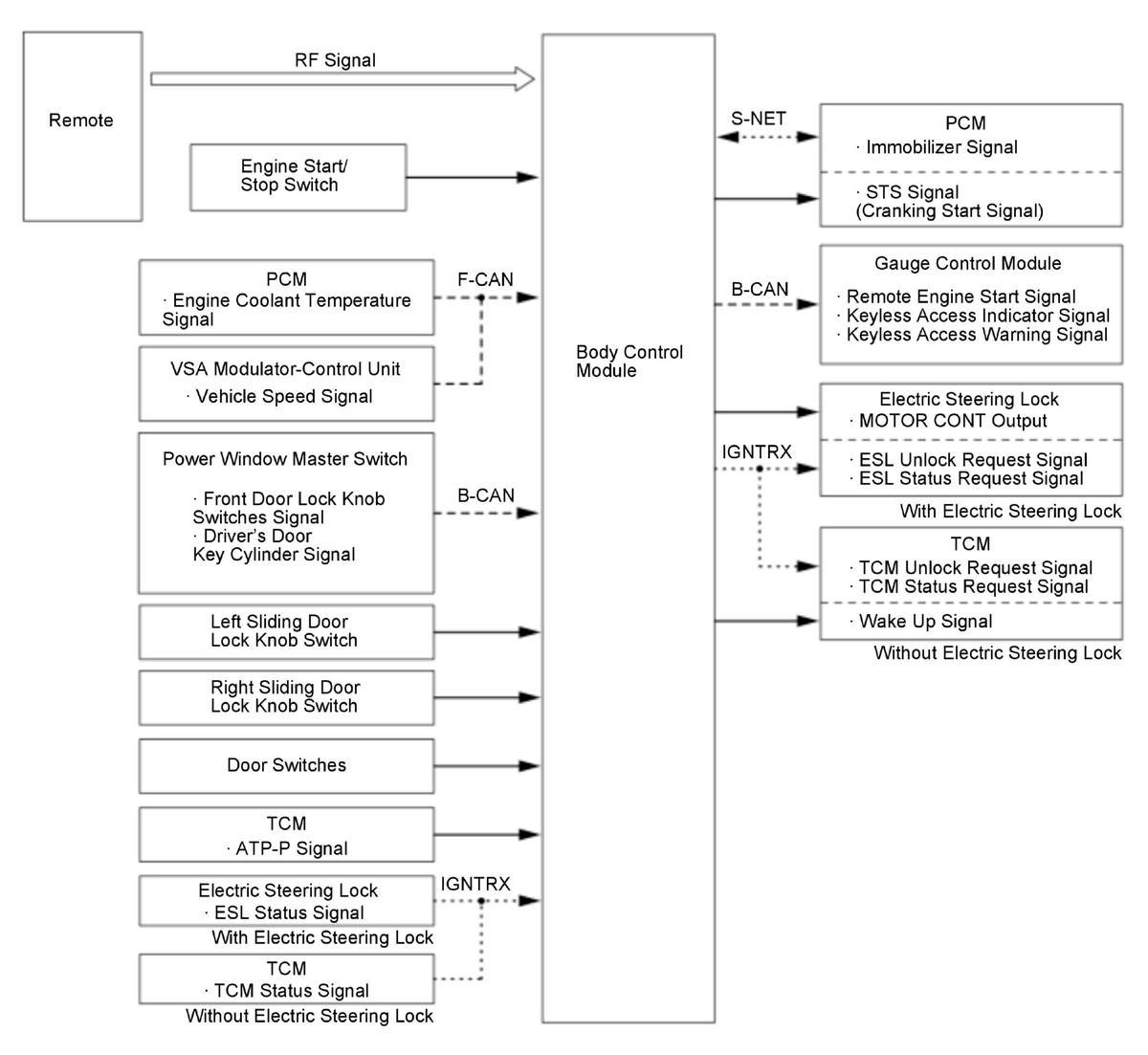
Keyless Access System Description

Smart Entry Function (With Smart Entry Function) 

The body control module detects the input signal of the door outer handle touch sensor, the outer handle lock switch, the tailgate outer handle switch, or the tailgate lock switch, and authenticates 2-way communication with the remote. The body control module then activates the door lock actuators or tailgate release actuator, and an answer back. In addition, vehicles equipped with the power tailgate send the smart unlock permission signal. The body control module also activates the tailgate release actuator when the tailgate outer handle switch is pressed. For details on the illumination patterns of the warning lights and the functional check of the system, refer to keyless access system symptom troubleshooting information .

GHH447290Courtesy of HONDA, U.S.A., INC.

Smart Entry Answer Back (Lock) 

When the body control module receives a lock signal, it sends a signal to the turn signal lights and the keyless buzzer sounds.

GHH447291Courtesy of HONDA, U.S.A., INC.

Smart Entry Answer Back (Unlock) 

When the body control module receives an unlock signal, it sends a signal two times to the turn signal lights and the keyless buzzer sounds.

GHH447292Courtesy of HONDA, U.S.A., INC.

Remote Search Function 

Every time the doors are detected as opened or closed with the vehicle in the ACCESSORY/ON mode, the remote search function determines if the remote is present inside the vehicle. When the remote is taken out of the vehicle, the keyless buzzer sounds, and the gauge control module, (Only when the vehicle is in the ON mode) shows a warning.

Lighting and Indicator Function 

The body control module controls the engine start/stop switch light, displays information in the multi-information display (MID), and illuminates the keyless access indicators in the gauge control module.

Backup Communication Function 

When key authentication between the remote and the body control module is not possible because of a system abnormality or a drop of the battery voltage of the remote, the immobilizer function can be canceled by pressing the engine start/stop switch button once and bringing the remote close to the engine start/stop switch while the engine start/stop switch indicator is flashing. This causes the immobilizer signal to be sent to the body control module via the LF antenna of the engine start/stop switch.

GHH447293Courtesy of HONDA, U.S.A., INC.

Remote Engine Start System (With Remote Engine Start) 

The remote engine start feature is initiated by first pressing the lock button, then pressing and holding the "START" button within 5 seconds on the remote. A RF signal from the remote is received by the body control module, which then sends the request to start the engine to the PCM. At the same time, the body control module authenticates the key for the immobilizer system. The PCM starts the engine and sends feedback to the body control module indicating the status of the engine.

GHH447294Courtesy of HONDA, U.S.A., INC.

Electric Steering Lock (With Electric Steering Lock) 

The electric steering lock control unit is built into the electric steering lock and controls the steering lock motor. When the remote code is identified, the electric steering lock control unit unlocks the steering lock by controlling the steering lock motor.

GHH447295Courtesy of HONDA, U.S.A., INC.

Key Lockout Prevent Function 

The body control module monitors whether or not there is the remote in the vehicle. If the remote is in the vehicle, the system will not lock the doors. If the driver manually locks and closes the doors with the remote in the vehicle, the body control module energizes the door lock actuator and unlocks the doors. Also, if the tailgate is closed when the remote is left in the vehicle with all the door closed and the driver's door lock knob at lock position, the tailgate can be unlocked by the tailgate outer handle switch operation. In addition, when the keyless lockout prevent function operates, the answer back is performed.

GHH447296Courtesy of HONDA, U.S.A., INC.

Immobilizer Function 

The immobilizer function provides mutual authentication between the body control module, the PCM, and the VSA modulator-control unit when the vehicle is turned to the ON mode. The engine stays running after engine start-up if the immobilizer signal matches. The body control module authenticates the VSA modulator-control unit and the immobilizer signal only one time, when the vehicle is turned to the ON mode after resetting of the 12 volt battery, removing and installing the back-up fuse or removing and installing the VSA modulator-control unit. For some model*, the brake pedal must be depressed to perform the immobilizer authentication.*: Canada models

GHH447297Courtesy of HONDA, U.S.A., INC.

Alarm Function 

Detects if the doors are opened or closed with the vehicle in the ACCESSORY/ON mode. When the remote is taken out of the vehicle, the keyless buzzer will sound and the gauge control module (Only when the vehicle is in the ON mode) will show a warning. Before the remote battery level falls to the point where the remote cannot be detected, the gauge control module will show a warning and an alarm will sound.

Registration Facility 

The body control module can store up to 6 remotes using the HDS.

Fault Diagnosis Function 

The system has a fault diagnosis function. If any malfunction occurs, the keyless access indicator comes on in the gauge control module.

Customer Emergency 

When the engine start/stop button is pressed continuously at least three times or once for 1.5 seconds or longer in an emergency while driving, the engine turns off, and the vehicle mode switches to the ACCESSORY mode. In this mode, the steering wheel remains unlocked.

Panic Function (With Panic Button) 

When you press the PANIC button on the remote, the body control module sounds the horn and activates the exterior lights.

Walk Away Auto Lock Function (If Equipped) 

The walk away auto lock system detects where the remote is and locks all the doors and the tailgate (if equipped) on the vehicle when all the doors and tailgate are closed and the remote is outside of the vehicle and out of the range. To operate the walk away auto lock system, it is necessary to enter the auto lock mode. To enter the auto lock mode, all of the following conditions must be met:

The vehicle's buzzer beeps once to confirm that the auto lock mode is engaged.

When the remote is carried beyond 2 m (7 ft) from the vehicle and remains outside of this range for more than 2 seconds, the system engages and locks all of the doors including the tailgate (if equipped). At that time, the keyless buzzer sounds and some exterior lights will flash. However, if the remote remains within 2 m (7 ft) from the vehicle for 30 seconds or more after entering the auto lock mode, the doors and tailgate will automatically lock.

The system does not work under the following conditions:

The walk away auto lock system can be cancelled temporarily by customization.

Keyless Access System Operation Manual Customize 

The keyless access system can be enabled and disabled by the operation shown in the table. The system is enabled and disabled each time the unlock button is pressed on the remote in the customize mode.

GHH447298Courtesy of HONDA, U.S.A., INC.

Failsafe Function 

If there is a failure in the keyless access system that terminates the keyless access features, the system enters the failsafe mode and displays the keyless access system indicator.