LEMON Manuals: Even more car manuals for everyone: 1960-2025
Home >> Honda >> 2021 >> Odyssey EX >> Repair and Diagnosis (Single Page) >> Quick Lookups >> Electrical Component Locations >> Electrical System - Testing & Troubleshooting >> Fuse Relay Box Connector Locations >> Fuse/Relay Box Connector Locations
April 5, 2026: LEMON Manuals is launched! Read the announcement.

Fuse/Relay Box Connector Locations

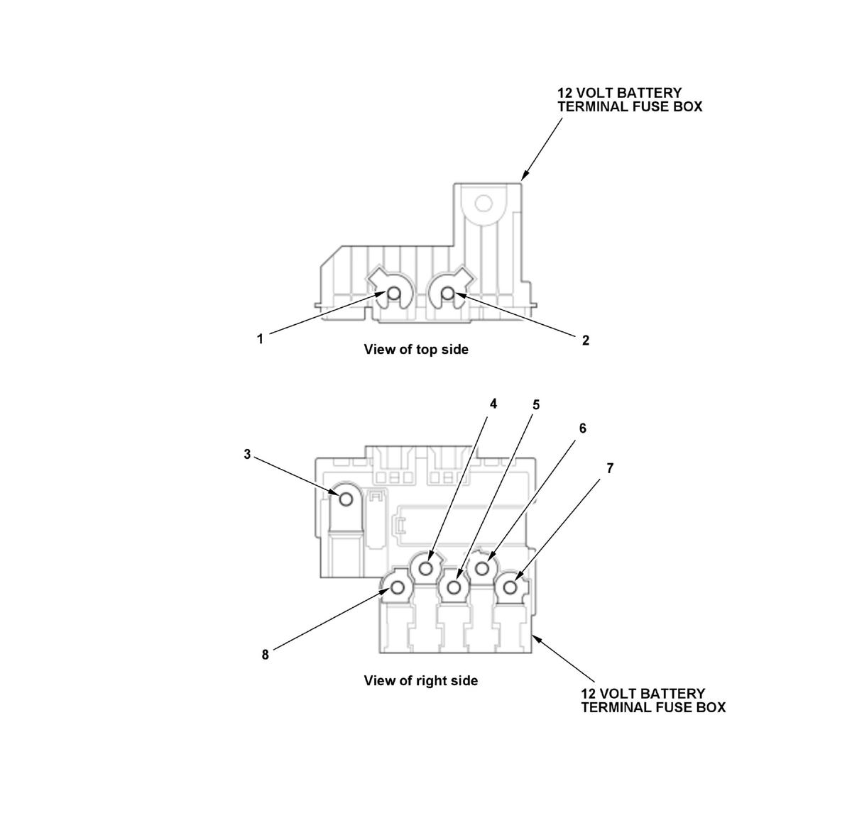
12 Volt Battery Terminal Fuse Box 

Socket Ref Terminal Connects to Notes
T1 1 --- Engine wire harness  
T2 2 --- Starter cable  
T3 3 --- Left engine compartment wire harness  
T4 8 --- Left engine compartment wire harness  
T5 4 --- Left engine compartment wire harness  
T6 5 --- Left engine compartment wire harness  
T7 6 --- Left engine compartment wire harness  
T8 7 --- Left engine compartment wire harness  
GHH442311Courtesy of HONDA, U.S.A., INC.

Fuse Holder 

Socket Ref Terminal Connects to Notes
T13 1 --- Left engine compartment wire harness  
GHH442312Courtesy of HONDA, U.S.A., INC.

Under-Dash Fuse/Relay Box 

Socket Ref Terminal Connects to Notes
A (optional connector) 2 4 Not used  
B 1 22 Floor wire harness  
C 3 27 Left engine compartment wire harness  
D 7 4 Dashboard wire harness  
E 4 18 Dashboard wire harness  
F 5 12 Dashboard wire harness  
G 6 20 Dashboard wire harness  
GHH442313Courtesy of HONDA, U.S.A., INC.