LEMON Manuals: Even more car manuals for everyone: 1960-2025
Home >> Honda >> 2021 >> Pilot EX, AWD >> Repair and Diagnosis >> Engine Performance >> Engine Control Systems >> Engine Control System / Engine Mechanical - Service Information >> Removal And Installation >> Piston, Ring, Pin, And Connecting Rod >> Removal
April 5, 2026: LEMON Manuals is launched! Read the announcement.

Piston, Ring, Pin, And Connecting Rod: Removal

  1. Engine/Transmission - Remove - Refer to:

    Engine Removal and Installation (6-Speed A/T) ('16-'18 9-Speed A/T)  or

    Engine Removal and Installation (9-Speed A/T) (2019 2020 2021) 

  2. Transmission - Remove - Refer to:

    Automatic Transmission Removal and Installation (9-Speed A/T) or

    Automatic Transmission Removal and Installation (6-Speed A/T) .

  3. Drive Plate - Remove - Refer to:

    Drive Plate (9-Speed A/T) (2019 2020 2021)  or

    Drive Plate (6-Speed A/T) [(9-Speed A/T) (2016 2017 2018] .

  4. Cylinder Head - Remove - Refer to:

    Cylinder Head Removal and Installation (9-Speed A/T) (2019 2020 2021) or

    Cylinder Head Removal and Installation

  5. Oil Pan - Remove 
  6. Oil Filter Base/Oil Filter Assembly - Remove
  7. Oil Strainer - Remove
  8. Baffle Plate - Remove
  9. Metal or Hard Carbon - Remove
    GHH308615Courtesy of HONDA, U.S.A., INC.
    1. If you can feel a ridge of metal or hard carbon around the top of each cylinder, remove it with a ridge reamer (A). Follow the reamer manufacturer's instructions. If the ridge is not removed, it may damage the piston as it is pushed out.
  10. Piston/Connecting Rod Assembly - Remove
    GHH308616GHH308617Courtesy of HONDA, U.S.A., INC.HONDA, U.S.A., INC.
    GHH308616GHH308617Courtesy of HONDA, U.S.A., INC.HONDA, U.S.A., INC.
    1. Remove the connecting rod caps after setting the connecting rod journal at bottom dead center (BDC) for each cylinder. Remove the piston/connecting rod assembly by pushing on the connecting rod. Take care not to damage the oil jets, the connecting rod journal, or the cylinder with the connecting rod.

    2. Remove the bearing from the rod cap. Keep all caps/bearings in order.

    3. Remove the upper bearing halves from the connecting rods, and set them aside with their respective caps.

    4. After removing a piston/connecting rod assembly, reinstall the rod cap on the rod.

    NOTE:

    • Mark the cylinder number on the connecting rod and the connecting rod bearing cap to avoid mixing them up during reassembly.
    • The factory markings on the connecting rods do not indicate cylinder position.
  11. Piston Ring - Remove
    GHH308618Courtesy of HONDA, U.S.A., INC.
    1. Using a ring expander (A), remove the old piston rings (B).

    2. Clean all the ring grooves thoroughly with a squared-off broken ring, or a ring groove cleaner with a blade to fit the piston grooves. File down the blade, if necessary. The top ring and second ring grooves are 1.2 mm (0.047 in) wide, and the oil ring groove is 2.0 mm (0.079 in) wide. Do not use a wire brush to clean the ring grooves, or cut the ring grooves deeper with the cleaning tool.

    NOTE:  If the piston is to be separated from the connecting rod, do not install new rings yet.

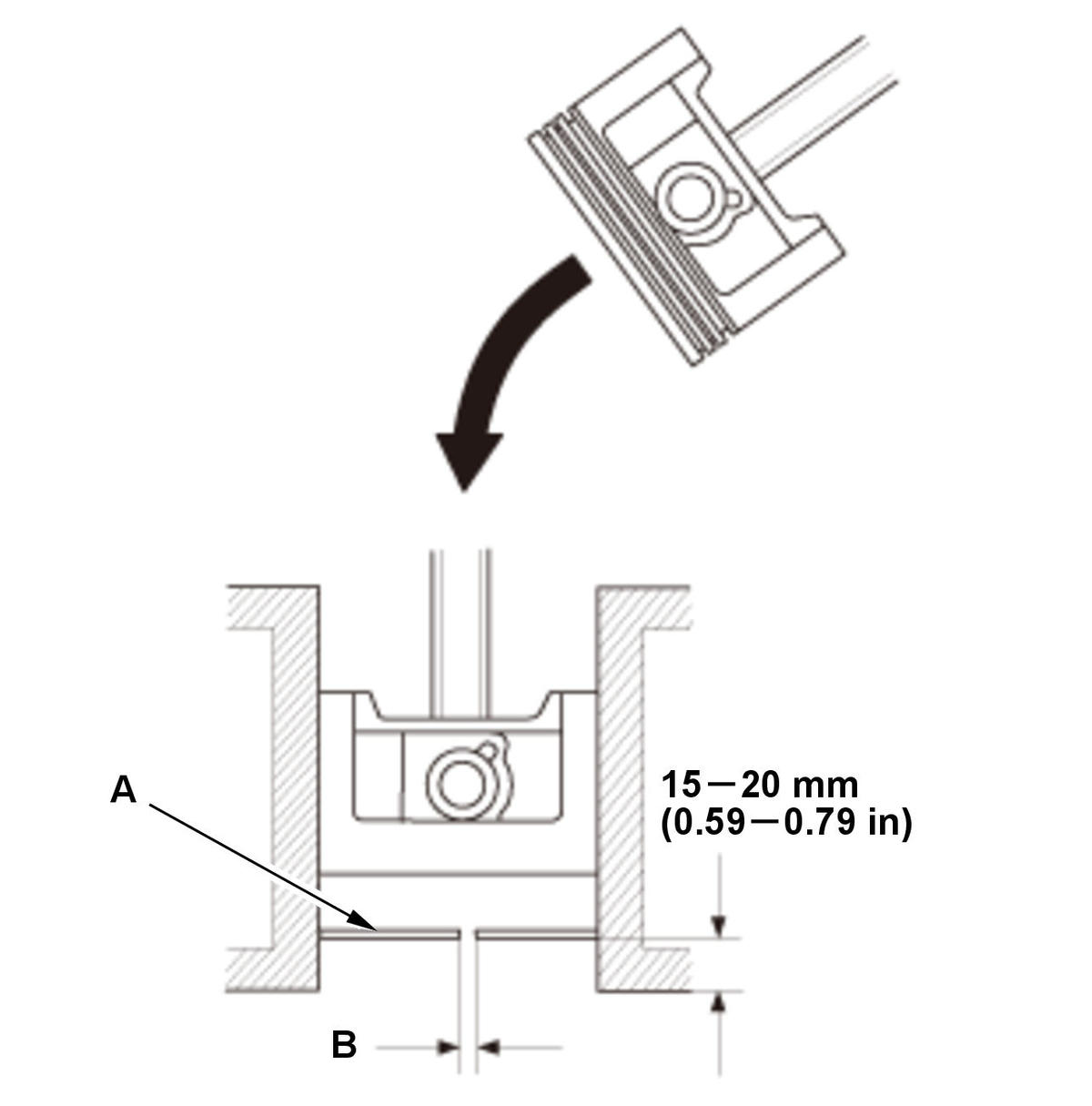
  12. Piston Ring End Gap - Inspect
    GHH308619Courtesy of HONDA, U.S.A., INC.
    1. Using a piston, push a new ring (A) into the cylinder bore 15-20 mm (0.59-0.79 in) from the bottom.

    2. Measure the piston ring end-gap (B) with a feeler gauge:


    Piston Ring End-Gap 
    Top Ring: 
    Standard (New): 0.20-0.35 mm (0.008-0.013 in) 
    Service Limit: 0.6 mm (0.024 in) 
    Second Ring: 
    Standard (New): 0.40-0.55 mm (0.016-0.021 in) 
    Service Limit: 0.7 mm (0.028 in) 
    Oil Ring: 
    Standard (New): 0.20-0.70 mm (0.008-0.027 in) 
    Service Limit: 0.8 mm (0.031 in  )
  13. Piston Pin - Remove
    GHH308620Courtesy of HONDA, U.S.A., INC.
    1. Apply new engine oil to the piston pin snap rings (A) and turn them in the ring grooves until the end gaps are lined up with the cutouts in the piston pin bores (B).
     
    NOTE:  Take care not to damage the ring grooves.
    GHH308621Courtesy of HONDA, U.S.A., INC.
    2. Remove the snap rings (A) from both sides of each piston. Start at the cutout in the piston pin bore. Remove the snap rings carefully so they do not go flying or get lost. Wear eye protection.
    GHH308622Courtesy of HONDA, U.S.A., INC.
    3. Separately heat each piston and connecting rod assembly to about 158 °F (70 °C), then remove the piston pin.
  14. Piston Pin - Inspect
    GHH308623Courtesy of HONDA, U.S.A., INC.
    1. Measure the diameter of the piston pin.
     
    Piston Pin Diameter 
    Standard (New): 21.961-21.965 mm (0.86460-0.86476 in) 
    Service Limit: 21.954 mm (0.86433 in) 
    GHH308624Courtesy of HONDA, U.S.A., INC.
    2. Zero the dial indicator to the piston pin diameter.
    GHH308625Courtesy of HONDA, U.S.A., INC.
    3. Check the difference between the piston pin diameter and the piston pin hole diameter on the piston.
     
    Piston Pin-to-Piston Clearance 
    Standard (New): -0.005-0.002 mm (-0.00020-0.00008 in) 
    Service Limit: 0.004 mm (0.00016 in) 
    GHH308626Courtesy of HONDA, U.S.A., INC.
    4. Measure the piston pin-to-connecting rod clearance.
     
    Piston Pin-to-Connecting Rod Clearance 
    Standard (New): 0.005-0.015 mm (0.00020-0.00059 in) 
    Service Limit: 0.019 mm (0.00075 in) 

    5. Measure the connecting rod small end bore diameter.


    Connecting Rod Small End Bore Diameter 
    Standard (New): 21.970-21.976 mm (0.86496-0.86520 in)