LEMON Manuals: Even more car manuals for everyone: 1960-2025
Home >> Honda >> 2021 >> Pilot EX-L, FWD >> Repair and Diagnosis (Single Page) >> Transmission >> Automatic Trans >> Automatic Transaxle - Service, Testing And Troubleshooting >> Description >> A/T System Description - Electronic Control System (6-Speed A/T)
April 5, 2026: LEMON Manuals is launched! Read the announcement.

A/T System Description - Electronic Control System (6-Speed A/T)

Electronic Control 

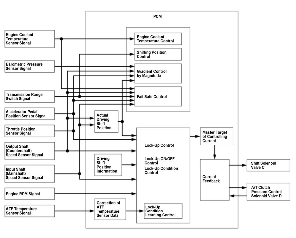
The PCM receives input signals from the sensors, switches, and other control units, processes data, and outputs signals for the engine control system and the A/T control system. The A/T control system includes shift control, clutch pressure control, lock-up control, and A/T system hydraulic control. The PCM switches the shift solenoid valves and the A/T clutch pressure control solenoid valves ON and OFF in a specific sequence to control gear selection and the torque converter clutch lock-up. It also controls the appropriate operating hydraulic pressure to the automatic transmission.

GHH304801Courtesy of HONDA, U.S.A., INC.

Shift Control 

The PCM instantly determines which gear should be selected by various inputs from sensors and switches, and it actuates the solenoid valves to control gear selection.

Shift solenoid valve: Shift solenoid valves A, B, and C switch to the hydraulic pressure supply circuit to the clutch. Shift solenoid valves A, B, and C are normally closed (ON-OPEN/OFF-CLOSE); the normally closed solenoid valve port opens to allow ATF to pass through when the PCM turns it ON, and the port closes, blocking fluid flow when turned OFF.

A/T clutch pressure control solenoid valve: A/T clutch pressure control solenoid valves A, B, C, and D apply hydraulic pressure to each clutch via the hydraulic valve body circuit. A/T clutch pressure control solenoid valve D supplies hydraulic pressure to the torque converter clutch. A/T clutch pressure control solenoid valves A, B, C, and D are normally closed (ON-OPEN/OFF-CLOSE); the normally closed solenoid valve port opens to allow ATF to pass through when the PCM turns it ON, and the port closes, blocking fluid flow when turned OFF. These solenoid valves are controlled by current and are duty controlled depending on the vehicle speed and the throttle position.

Line pressure solenoid valve: Line pressure solenoid valve A controls the hydraulic pressure in the hydraulic control system valve bodies of the automatic transmission. Line pressure solenoid valve A is normally closed (ON-OPEN/OFF-CLOSE); the normally closed solenoid valve port opens to allow ATF to pass through when the PCM turns it ON, and the port closes, blocking fluid flow when turned OFF.

Shift Lever Position P R N D, L and D4 driving mode
1st 2nd 3rd 4th 5th 6th
Shift Solenoid Valve A ON OFF ON ON ON OFF OFF OFF OFF
Shift Solenoid Valve B OFF OFF OFF ON ON ON ON or OFF ON or OFF OFF
Shift Solenoid Valve C ON ON OFF ON or OFF ON or OFF ON or OFF ON or OFF ON or OFF ON or OFF
Line pressure solenoid valve A ON or OFF ON or OFF ON or OFF ON or OFF ON or OFF ON or OFF ON or OFF ON or OFF ON or OFF
A/T clutch pressure control solenoid valve A OFF OFF OFF OFF ON OFF OFF ON OFF
A/T clutch pressure control solenoid valve B OFF OFF OFF OFF OFF ON OFF OFF ON
A/T clutch pressure control solenoid valve C OFF OFF OFF OFF OFF OFF ON OFF OFF
A/T clutch pressure control solenoid valve D OFF ON OFF ON or OFF ON or OFF ON or OFF ON or OFF ON or OFF ON or OFF

Shift Control - Grade Logic Control 

The grade logic control system is used to control shifting in D, and D4 driving mode. The PCM compares actual driving conditions with programmed driving conditions, based on the input signal from the throttle position sensor, the engine coolant temperature sensor, the barometric pressure sensor, the brake pedal position switch, and the transmission range switch to switch shifting control from the normal control to the ascending or descending control when the PCM determines that the vehicle is ascending a slope or being driven down a slope.

GHH304802Courtesy of HONDA, U.S.A., INC.

Grade Logic Control: Ascending Control 

When the PCM determines that the vehicle is climbing a hill in D the system extends the engagement area of 2nd gear, 3rd gear, 4th gear, and 5th gear to prevent the transmission from frequently shifting between 2nd and 3rd gears, between 3rd and 4th gears, between 4th and 5th gears, and between 5th and 6th gears, so the vehicle can run smoothly and have more power when needed.

NOTE:

Shift commands stored in the PCM between 2nd and 3rd gears, between 3rd and 4th gears, between 4th and 5th gears, and between 5th and 6th gears, enable the PCM to automatically select the most suitable gear based on the steepness of the grade.

GHH304803Courtesy of HONDA, U.S.A., INC.

Grade Logic Control: Descending Control 

When the PCM determines that the vehicle is going down a hill in D the upshift speed from 5th to 6th gear, from 4th to 5th gear, from 3rd to 4th gear, and from 2nd to 3rd (when the throttle is closed) becomes higher than the set speed for flat road driving to extend the 5th gear, 4th gear, 3rd gear, and 2nd gear driving conditions and modes. This, in combination with engine braking from the deceleration lock-up, achieves smooth driving when the vehicle is descending. There are descending modes stored in the PCM with different 5th gear, 4th gear, 3rd gear, and 2nd gear driving conditions and modes based on the steepness of the grade. When the vehicle is in 6th, 5th, or 4th gear, and the vehicle is decelerating while applying the brakes on a steep hill, the transmission downshifts to a lower gear. When you accelerate, the transmission then returns to a higher gear.

Deceleration Control 

When the vehicle goes around a corner and needs to decelerate first and then accelerate, the PCM goes into the deceleration control mode to reduce the number of times the transmission shifts. When the vehicle is decelerating from speeds above 27 mph (43 km/h), the PCM anticipates upcoming acceleration, and shifts the transmission from 4th to 3rd earlier than normal.

Shift-Hold Control 

Shift-hold control maintains transmission gear position during cornering to avoid frequently shifting. When the vehicle is cornering, the PCM extends the engagement of 2nd, 3rd, 4th, and 5th to prevent the transmission from frequently shifting between 3rd, 4th, 5th, and 6th gears. When the PCM determines that the vehicle is cornering by the accelerator pedal position, the vehicle speed, and the lateral G-force estimate from the rpm difference between each wheel, it delays the upshift from 3rd to 4th, 4th to 5th, and 5th to 6th gears, which improves the engine output and the engine braking. The transmission resumes the normal upshift pattern after the PCM determines that normal driving has resumed.

GHH304804Courtesy of HONDA, U.S.A., INC.

Shift Control - D Position D4 Driving Mode Control 

This automatic transmission is equipped with a D4 driving mode in D. D has two modes; general driving mode (shifts gears automatically 1st through 6th), and the D4 driving mode (shifts gears automatically 1st through 4th). The transmission switches mode when you press the D4 switch on the shift lever knob in D.

In D4 driving mode, the D4 indicator next to the D indicator in the gauge assembly comes on. The D4 driving mode is cancelled by pushing the D4 switch, and the D4 indicator goes off. Also, the D4 driving mode is cancelled when turning the vehicle to the OFF (LOCK) mode. When the shift lever is moved out of D in the D4 driving mode, the D4 indicator goes off, but the transmission returns to the D4 driving mode when the shift lever returned to D, and the D4 indicator comes on.

GHH304805Courtesy of HONDA, U.S.A., INC.

Clutch Pressure Control 

The PCM actuates A/T clutch pressure control solenoid valves A, B, C, and D to control the clutch pressure. When shifting between gears or during lock-up, the clutch pressure is regulated by A/T clutch pressure control solenoid valves A, B, C, and D engages and disengages the clutch smoothly. The PCM receives input signals from the various sensors and switches, then the processes data, and outputs current to A/T clutch pressure control solenoid valves A, B, C, and D.

GHH304806Courtesy of HONDA, U.S.A., INC.

Lock-Up Control 

Shift solenoid valve C and A/T clutch pressure control solenoid valve D control the hydraulic pressure to switch the lock-up shift valve and lock-up ON and OFF. When the PCM actuates shift solenoid valve C and A/T clutch pressure control solenoid valve D ON, lock-up starts. A/T clutch pressure control solenoid valve D applies and regulates hydraulic pressure to the lock-up control valve to control the amount of lock-up. The lock-up mechanism operates:

GHH304807Courtesy of HONDA, U.S.A., INC.