LEMON Manuals
: Even more car manuals for everyone: 1960-2025
Home
>>
Honda
>>
2021
>>
Ridgeline RTL-E
>>
Repair and Diagnosis (Single Page)
>>
Accessories & Equipment
>>
Communication Devices
>>
Integrated Control Systems - Testing & Troubleshooting
>>
Description & Operation
>>
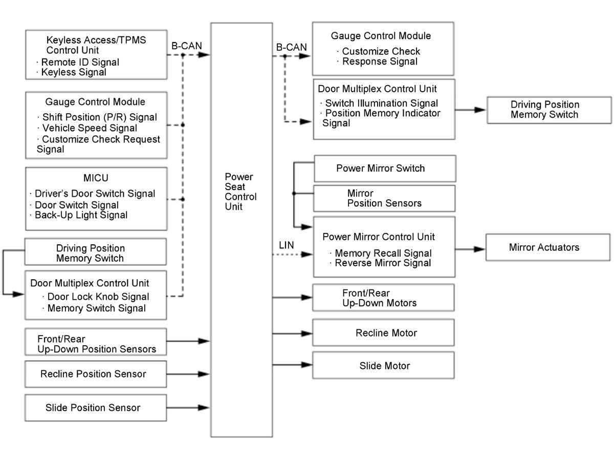
Driving Position Memory System Description - System Diagram
April 5, 2026:
LEMON Manuals is launched!
Read the announcement.
Driving Position Memory System Description - System Diagram
For locations of each component on the vehicle, refer to Component Location Index.
Driving Position Memory System (DPMS)
Power Seats
Courtesy of HONDA, U.S.A., INC.