LEMON Manuals: Even more car manuals for everyone: 1960-2025
Home >> Honda >> 2021 >> Ridgeline RTL-E >> Repair and Diagnosis (Single Page) >> Body & Frame >> Door Locks >> Security System / Keyless Entry System - Testing & Troubleshooting >> Description & Operation >> Keyless/Power Door Locks/Security System Description (2021 2022 2023 2024 2025)
April 5, 2026: LEMON Manuals is launched! Read the announcement.

Keyless/Power Door Locks/Security System Description (2021 2022 2023 2024 2025)

Overview 

Keyless Entry System 

The keyless entry system is integrated with the multiplex integrated control system. The multiplex integrated control unit (MICU) receives the LOCK, UNLOCK, and PANIC signals from the keyless access/TPMS control unit.

The keyless entry system allows you to lock and unlock the vehicle with the transmitter. When you press the LOCK button, all doors lock. When you press the UNLOCK button once, only the driver's door unlocks. The other doors will unlock when you press the button a second time. (The setting can be customized.) The doors will not lock with the transmitter if a door is not fully closed, or if the vehicle is in the ON mode.

When the switch for the interior light is in the middle (DOOR) position, it comes on when the UNLOCK button is pressed.

If a door is not opened, the light goes off and the doors will relock in about 30 seconds. If the doors are locked with the transmitter within 30 seconds, the light goes off immediately.

NOTE:  The keyless entry system can be customized to suit the customer's needs. For more information about keyless/security system options, refer to the Owner's Manual.

Door Lock System 

The system has three circuits between door lock actuators and the MICU to improve safety of the system. One is for the driver's side door lock actuator, and others are for the left rear door lock actuator and passenger's side door lock actuators.

Door lock actuator circuit has two fuses. When one fuse is blown, another fuse in the same circuit must be checked.

Security Alarm System 

The security alarm system automatically arms after the doors, the hood, and the in-bed trunk lid are closed and locked. For the system to arm, the vehicle mode must be in the OFF (LOCK) mode and the MICU must receive inputs that the doors, the hood, and the in-bed trunk lid are closed and locked. The alarm can be disarmed at any time by unlocking the driver's door with the mechanical key or pressing the UNLOCK button on the remote or smart function.

The security indicator in the gauge control module begins to flash immediately after the vehicle is completely closed and locked, and 15 seconds later, the security system arms. Once armed, the security indicator flashes slowly. If the security indicator does not flash after the doors are locked, the system is not arming.

Once the system is armed, it will sound an alarm when any of these occur:

When the system sounds the alarm, the horn sounds and the exterior lights flash for 120 seconds. The alarm can be stopped at any time by unlocking the driver's door by pressing the UNLOCK button on the remote.

Panic Mode 

The panic mode sounds the alarm in order to attract attention. When the PANIC button on the remote is pressed and held for 2 seconds, the horns sound and the exterior lights flash.

The panic mode can be canceled at anytime by pressing any button on the remote or by turning the vehicle to the ON mode. The panic mode will not function if the vehicle is in the ON mode.

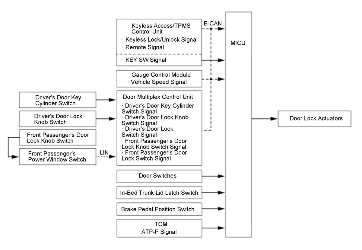
Door Lock Control 

The door lock control function allows the MICU to detect the status of various switch signals and control each actuator in order to lock and unlock the doors.

GHH459875Courtesy of HONDA, U.S.A., INC.

In-bed Trunk Lid Control 

The in-bed trunk lid control function allows the MICU to detect the status of various switch signals and control the in-bed trunk lid release actuator in order to unlock the in-bed trunk lid.

GHH459876Courtesy of HONDA, U.S.A., INC.

Keyless Door Lock Control 

The remote can transmit a lock or unlock signal to the keyless access/TPMS control unit, which sends the keyless request to the MICU using the B-CAN. The MICU then controls the door lock actuators by the B-CAN signal, and various switch signals. The customization menu can also set the relock timer value.

GHH459877Courtesy of HONDA, U.S.A., INC.

Automatic Door Lock/Unlock Control 

The automatic door lock/unlock control function allows the MICU to detect the status of B-CAN signals and various switch signals and controls each actuator in order to automatically lock/unlock the doors.

Automatic Door Lock Function: 

Automatic Door Unlock Function: 

Customizing Function: 

The locking method can be set as non-link, link to vehicle speed, link to shift position, or link to engine start/stop switch by the customizing function. For more information about customize options, refer to the Owner's manual.

GHH459878Courtesy of HONDA, U.S.A., INC.

Security Control 

When the security alarm is set, the MICU sends the security set signal using the B-CAN.

GHH459879Courtesy of HONDA, U.S.A., INC.

Security system operating term 

Start setting
  • Lock the door using a mechanical key
  • Lock the door by using the remote
  • Lock the door by pressing the door outer handle lock switch while having the remote
  • Operate a keyless relock
Cancellation
  • Unlock the door using a mechanical key
  • Unlock the door by using the remote
  • Unlock the door by pressing the door outer handle lock switch or in-bed trunk lid outer handle switch while having the remote
  • Press the engine start/stop switch while having the remote
Setting conditions (related systems are normally operated)
  • Door switch OFF (Door close)
  • Door unlock knob switch OFF (Lock)
  • In-bed trunk lid latch switch OFF (In-bed trunk lid close)
  • Driver's door key cylinder switch OFF
  • Hood latch switch ON (Hood close)
  • Vehicle OFF (LOCK) mode
  • Shift P position/mode
Start the alarm When any of the monitoring switch signal inputs are received without the signal for cancelling setting
Cancel the alarm Compliant with the conditions for cancelling setting

Security Setting 

When the security alarm is set, the MICU sends the security set signal using the B-CAN. When the gauge control module receives a security set signal from the MICU, the security indicator flashes at a slower pace to indicate the system has armed.

GHH459880Courtesy of HONDA, U.S.A., INC.

Security Alarm 

With the security system armed, manually opening the hood or the in-bed trunk lid or moving the door lock knob to the unlock position activates the security alarm. Alternatively, the horn sounds, the headlights low beam, the parking lights, the taillights, the license plate lights, and the side marker lights blink, repeating this alarm (one cycle is 120 seconds). Even if you remove the 12 volt battery, the alarming state cannot be changed. The alarm starts again when reinstalling the 12 volt battery.

GHH459881Courtesy of HONDA, U.S.A., INC.

Keyless Answer Back Control 

When using the remote, the MICU provides an answer back function to alert the customer that the MICU received a lock or unlock command from the remote.

GHH459882Courtesy of HONDA, U.S.A., INC.

When the MICU receives a second lock signal within 5 seconds, the MICU sends a signals to the turn signal lights and the keyless buzzer.

GHH459883Courtesy of HONDA, U.S.A., INC.

When the MICU receives an unlock signal, the MICU sends two signals to the turn signal lights.

GHH459884Courtesy of HONDA, U.S.A., INC.