LEMON Manuals: Even more car manuals for everyone: 1960-2025
Home >> Honda >> 2023 >> CR-V EX, AWD >> Repair and Diagnosis (Single Page) >> Steering >> Steering Gear >> Electrical Component Locator And Service Information - Front SUBFRAME/Steering Gearbox Area (Except Hybrid) >> Exploded View >> Front Subframe/Steering Gearbox Area >> Repair Procedure >> Procedure
April 5, 2026: LEMON Manuals is launched! Read the announcement.

Repair Procedure: Procedure

Fig 1: Front Subframe/Steering Gearbox Area Replacement Components With Torque Specifications (1 Of 2)
GHH549125Courtesy of HONDA, U.S.A., INC.
: Torque, N.m (lbf.ft) : Replace : Warning/Caution : Inspection/Adjustment *: Learning : ■SPL Tool : Required Removal
*1: Part(s) are shown for one side only as the procedure is the same for both sides.
*2: 2WD (The power steering heat baffle plate can be removed without removing the front subframe)
Fig 2: Front Subframe/Steering Gearbox Area Replacement Components With Torque Specifications (2 Of 2)
GHH549126Courtesy of HONDA, U.S.A., INC.
: Torque, N.m (lbf.ft) : Replace : Warning/Caution : Inspection/Adjustment *: Learning : ■SPL Tool : Required Removal
*1: Part(s) are shown for one side only as the procedure is the same for both sides.
*2: AWD
  1. A.

    ■ Key Information 

    Do the following before starting your work.

    Remove: 

  2. B.

    ■ Key Information 

    Do the following before starting your work.

    Remove: 

    ■ Sub-Procedure 

    GHH549127Courtesy of HONDA, U.S.A., INC.

    • Installation 

    Tightening Procedure 

    Step Operation Object Specification
    1 Temporarily Tighten All Bolts -
    2 Tighten All Bolts -> -> ->
  3. C.

    ■ Key Information 

    Do the following before starting your work.

    Remove: 

    ■ Sub-Procedure 

    GHH549132Courtesy of HONDA, U.S.A., INC.

    • Installation 

    Installation Directions 

    Mark Direction
    a Upper Side
    G00574679Courtesy of AMERICAN HONDA MOTOR CO., INC.

    Do the mount tightening procedure before tightening all of the mount bolts.

  4. D.

    ■ Key Information 

    Do the following before starting your work.

    2WD 

    Remove: 

    ■ Sub-Procedure 

    GHH549133Courtesy of HONDA, U.S.A., INC.

    • Installation 

    Tightening Procedure 

    Step Operation Object Specification
    1 Temporarily Tighten -
    2 Tighten All Bolts -> ->
  5. E.

    ■ Preconditions 

    ■ Key Information 

    Do the following before starting your work.

    Remove: 

    Disconnect: 

    • Steering Joint
      G00574679Courtesy of AMERICAN HONDA MOTOR CO., INC.

      Do not turn the steering wheel while disconnecting the steering joint.

      NOTE:  If the center guide is in place, discard it.

    • Front Suspension Area Parts
      • Front Stabilizer Link (Both sides)
      • Front Lower Arm Ball Joint (Both sides)

    ■ Sub-Procedure 

    • Removal 

    1. Refer to figure 1.

    G00574679Courtesy of AMERICAN HONDA MOTOR CO., INC.

    Be careful not to damage the ball joint boots when installing the ball joint remover . (Figure 1)

    Figure 1 

    GHH549138Courtesy of HONDA, U.S.A., INC.

    2. Refer to figure 2.

    Figure 2 

    GHH549139Courtesy of HONDA, U.S.A., INC.

    3. Attach the subframe adapter to the front subframe (a). (Figure 3)

    Tool Details (Figure 3) 

    Name
    b Transmission Jack (Commercially Available)

    Figure 3 

    GHH549140Courtesy of HONDA, U.S.A., INC.

    4. Raise a transmission jack and line up the slots in the subframe adapter arms with the bolt holes on the transmission jack base, then securely attach them with four bolts. (Figure 3)

    • Installation 

    1. Refer to figure 4.

    Installation Directions (Figure 4) 

    Position Direction
    d Front

    Tightening Procedure (Figure 4) 

    Step Operation Object Specification
    1 Temporarily Tighten All Bolts -
    2 Align Subframe -
    3 Tighten All Bolts -> -> -> -> -> -> -> ->

    Figure 4 

    GHH549150Courtesy of HONDA, U.S.A., INC.

    2. Refer to figure 5.

    Figure 5 

    GHH549151Courtesy of HONDA, U.S.A., INC.

    3. Refer to figure 6.

    Figure 6 

    GHH549152Courtesy of HONDA, U.S.A., INC.

    ■ After Installation 

  6. F.

    ■ Sub-Procedure 

    Figure 1 

    GHH549153Courtesy of HONDA, U.S.A., INC.

    • Installation 

    1. Align the cutout portion (a) with the lug portion (b). (Figure 1)

    Installation Directions (Figure 1) 

    Mark Direction
    c Front

    2. Turn the lip (d) of the pinion shaft grommet. (Figure 1)

    Figure 2 

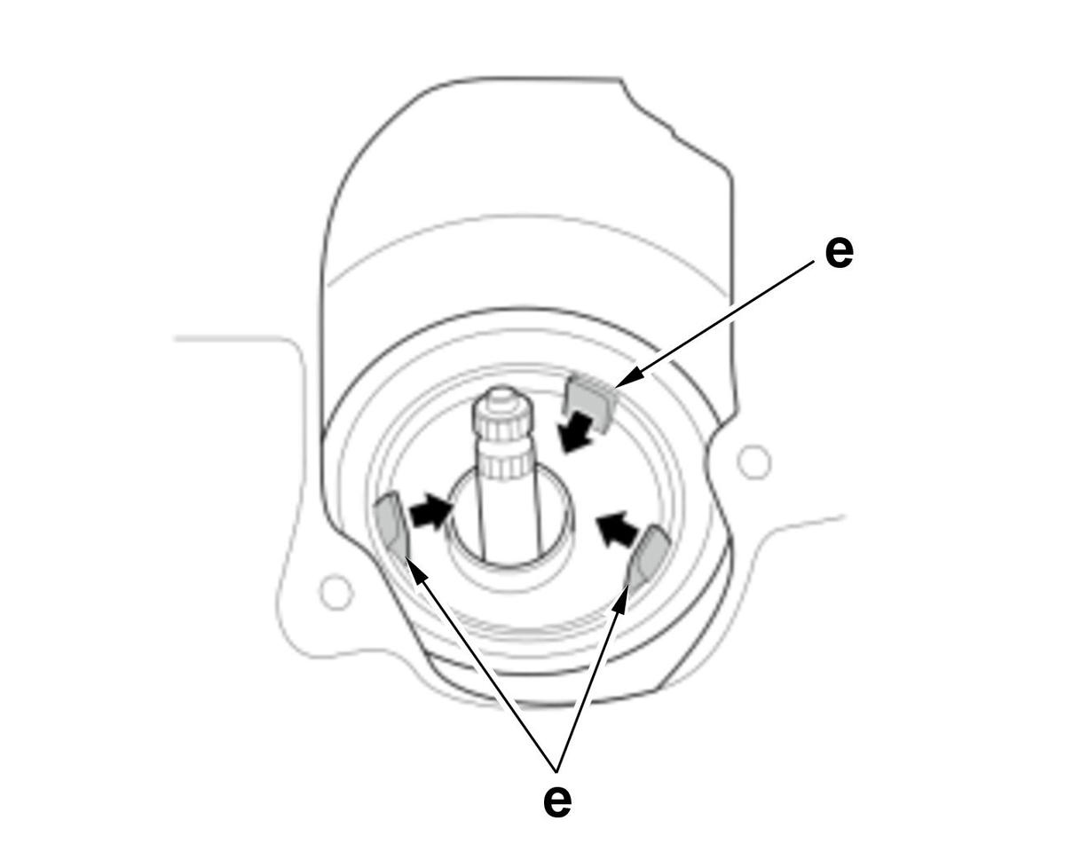
    GHH549154Courtesy of HONDA, U.S.A., INC.

    3. Pick up the tabs (e) of the pinion shaft grommet, and turn up the lip of the pinion shaft grommet securely in place. (Figure 2)

  7. G.

    ■ Preconditions 

    ■ Key Information 

    NOTE:  For the removal and installation procedure, refer to Steering Gearbox Removal and Installation - Refer to: Steering Linkage and Gearbox Inspection or Steering Gearbox Removal and Installation and the sub-procedure below.

    Sub-Procedure 

    GHH549155Courtesy of HONDA, U.S.A., INC.

    • Installation 

    Installation Directions 

    Position Direction
    a Front

    Tightening Procedure 

    Step Operation Object Specification
    1 Temporarily Tighten All Bolts -
    2 Tighten All Bolts -> -> -> ->

    ■ After Installation 

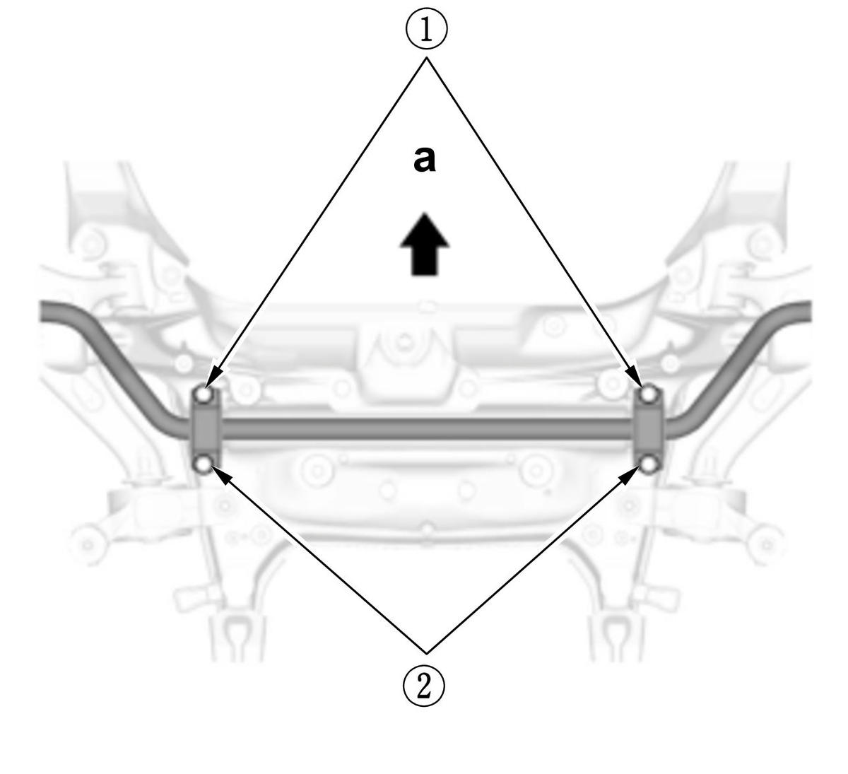
  8. H.
    G00574679Courtesy of AMERICAN HONDA MOTOR CO., INC.

    Before the removal and installation procedure, refer to Tightening Procedure of Bushing .

    ■ Key Information 

    NOTE:  For the removal and installation procedure, refer to Front Stabilizer Bar Removal and Installation and the sub-procedure below.

    ■ Sub-Procedure 

    GHH549161Courtesy of HONDA, U.S.A., INC.

    • Installation 

    Installation Directions 

    Position Direction
    a Front

    Tightening Procedure 

    Step Operation Object Specification
    1 Temporarily Tighten -
    2 Tighten All Bolts ->