LEMON Manuals: Even more car manuals for everyone: 1960-2025
Home >> Honda >> 2023 >> Pilot EX-L, AWD >> Repair and Diagnosis (Single Page) >> Accessories & Equipment >> Drivers Assistance Systems - ADAS >> Advanced Drive Assistance Systems - Service, Testing And Troubleshooting >> Removal and Installation >> Multi View Camera Aiming >> Adjustment
April 5, 2026: LEMON Manuals is launched! Read the announcement.

Multi View Camera Aiming: Adjustment

How to use this manual .

NOTE: 

  1. Before Aiming - Set

    Procedure 

    1. Set the cord along the center-line of the vehicle .

    GHH582495Courtesy of HONDA, U.S.A., INC.

    2. Make points (Z1, Y1, Z2 and Y2) and set a string along the center-line of the vehicle .

    3. Place a string between point (Z1) and point (Y1), point (Z2), and point (Y2) and tape both ends of the string on the floor surface .

    4. Measure the right and left front wheel arch height (a) from the floor surface to the top-center of the wheel arch.

    Distance Details 

    Standard Value
    a TRAILSPORT 866 mm (34.09 in)
    Except TRAILSPORT 841 mm (33.11 in)

    NOTE:  It is not necessary to do all of the aiming procedures listed in this procedure. Do the aiming procedure that is applicable to the component that was removed or requiring a re-aiming.

    Camera Aiming is Required Components 

    Component Removed or Adjusted Aim
    Front camera, front bumper, or front grille. Front Camera
    Side camera, power mirror, rear mirror housing lower cover, or front door. Side Camera
    Rearview camera, rear license garnish, or tailgate Rearview Camera

    5. Add the left and right measurements and divide it by 2. This is the average wheel arch height. Record this calculation as it will be used later.

  2. Front Camera - Aim

    Preconditions 

    Procedure 

    NOTE:  When marking on the floor surface, use suitable tape to mark the exact locations.

    1. Pull a string between point (Z1) and point (Y1), and tape both ends of the string on the floor surface.

    NOTE: Repeat this step for the opposite side (Z2 and Y2).

    Distance Between Point Z1 and Point V1 

    Value
    a 2,000 mm (78.74 in)
    GHH582496Courtesy of HONDA, U.S.A., INC.

    2. On the string, mark a new point (V1) which is 2,000 mm (78.74 in) from point (Z1).

    NOTE:

    Repeat this step for the opposite side (V2).

    3. Pull a string between the point (V1) and point (V2), and tape both ends of the string on the floor surface. Mark a new point (V3) where the string crosses with the center-line.

    4. Place two, 8 Dot Target Sheets at point (V3) on the floor as shown.

    5. Select the following menu buttons on the HDS screen in sequence.

    • During adjustment, check the audio unit when prompted by the HDS. The 8 dots on each target sheet must be within their respective red box.
    • If the aiming procedure cannot be completed properly, review the notes at the top of this procedure and make sure the instructions are followed correctly.
    1. Driving Support (System Selection Menu)
    2. Multi View Camera System
    3. Adjustment
    4. Auto Camera Aiming

    Result 

    • If the aiming procedure cannot be completed properly, go back to the NOTE at the top of this procedure and make sure the instructions are followed correctly.

      NOTE:  The top edge of the camera image will show a reflection of the target and floor during aiming. This is normal.

    GHH582497Courtesy of HONDA, U.S.A., INC.

    After Aiming 

  3. Rearview Camera - Aim

    Preconditions 

    Procedure 

    NOTE:  When marking on the floor surface, use suitable tape to mark the exact locations.

    1. Pull a string between point (Z1) and point (Y1), and tape both ends of the string on the floor surface.

    NOTE: Repeat this step for the opposite side (Z2 and Y2).

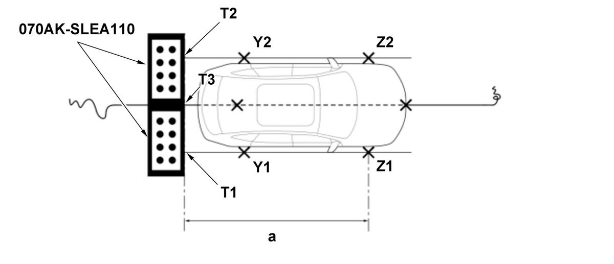
    Distance Between Point Z1 and Point T1 (Figure 1) 

    Value
    a 4,300 mm (169.29 in)

    Figure 1 

    GHH582498Courtesy of HONDA, U.S.A., INC.

    2. On the string, mark a new point (T1) which is 4,300 mm (169.29 in) from point (Z1).

    NOTE:

    Repeat this step for the opposite side (T2).

    3. Pull a string between the point (T1) and point (T2), and tape both ends of the string on the floor surface. Mark a new point (T3) where the string crosses with the center-line.

    4. Place two, 8 Dot Target Sheets at point (T3) on the floor as shown.

    5. Select the following menu buttons on the HDS screen in sequence.

    • During adjustment, check the audio unit when prompted by the HDS. The 8 dots on each target sheet must be within their respective red box.
    • If the aiming procedure cannot be completed properly, review the notes at the top of this procedure and make sure the instructions are followed correctly.
    1. Driving Support (System Selection Menu)
    2. Multi View Camera System
    3. Adjustment
    4. Auto Camera Aiming

    Result 

    • If the aiming procedure cannot be completed properly, go back to the NOTE at the top of this procedure and make sure the instructions are followed correctly.

    After Aiming 

  4. Side Camera - Aim

    Preconditions 

    Procedure 

    NOTE: 

    • When marking on the floor surface, use suitable tape to mark the exact locations.
    • During adjustment, check the audio unit when prompted by the HDS. The 8 dots on one target sheet and the 6 dots on the other target sheet must be within their respective red box.
    • The aiming of the side camera only requires 2 target sheets.

    1. Pull a string between point (Z1) and point (Y1), and tape both ends of the string on the floor surface. (Figure 1)

    NOTE: Repeat this step for the opposite side (Z2 and Y2).

    Distance Between Each Point (Figure 1) 

    Value
    a 1,100 mm (43.31 in)
    b 1,400 mm (55.12 in)
    c 4,300 mm (169.29 in)
    d 3,100 mm (122.05 in)

    Figure 1 

    GHH582499Courtesy of HONDA, U.S.A., INC.

    Figure 2 

    GHH582500Courtesy of HONDA, U.S.A., INC.

    Figure 3 

    GHH582501Courtesy of HONDA, U.S.A., INC.

    2. On the string, mark a new point (V1) which is 1,100 mm (43.31 in) from point (Z1). (Figure 1)

    NOTE:

    Repeat this step for the opposite side (V2).

    3. Pull a string between the point (V1) and point (V2), and tape both ends of the string on the floor surface. Mark a new point (V3) where the string crosses with the center-line. (Figure 1)

    4. On the string, mark a new point (S) which is 1,400 mm (55.12 in) from point (V3). (Figure 1)

    5. On the string, mark a new point (T1) which is 4,300 mm (169.29 in) from point (Z1). (Figure 1)

    NOTE:

    Repeat this step for the opposite side (T2).

    6. Pull a string between the point (T1) and point (T2), and tape both ends of the string on the floor surface. Mark a new point (T3) where the string crosses with the center-line. (Figure 1)

    7. On the string, mark a new point (T4) which is 1,400 mm (55.12 in) from point (T3). (Figure 1)

    8. Pull a string between point (S) and point (T4), and tape both ends of the string on the floor surface. (Figure 1)

    9. On the string, mark a new point (R) which is 3,100 mm (122.05 in) from point (S). (Figure 1)

    10. Place two, 8 Dot Target Sheets at point (S) and (R) on the floor as shown. (Figure 1, 2 and 3)

    11. Select the following menu buttons on the HDS screen in sequence.

    • During adjustment, check the audio unit when prompted by the HDS. The 8 dots on one target sheet and the 6 dots on the other target sheet must be within their respective red box.
    • If the aiming procedure cannot be completed properly, review the notes at the top of this procedure and make sure the instructions are followed correctly.
    1. Driving Support (System Selection Menu)
    2. Multi View Camera System
    3. Adjustment
    4. Auto Camera Aiming

    Result 

    • If the aiming procedure cannot be completed properly, go back to the NOTE at the top of this procedure and make sure the instructions are followed correctly.

    After Aiming