LEMON Manuals: Even more car manuals for everyone: 1960-2025
Home >> Honda >> 2023 >> Pilot EX-L, AWD >> Repair and Diagnosis (Single Page) >> Steering >> Steering Column >> Electrical Component Locator And Service Information - Dashboard/Steering Hanger Beam Area >> Exploded View >> Repair Procedure
April 5, 2026: LEMON Manuals is launched! Read the announcement.

Repair Procedure

How to use this manual .

WARNING: 

NOTICE: 

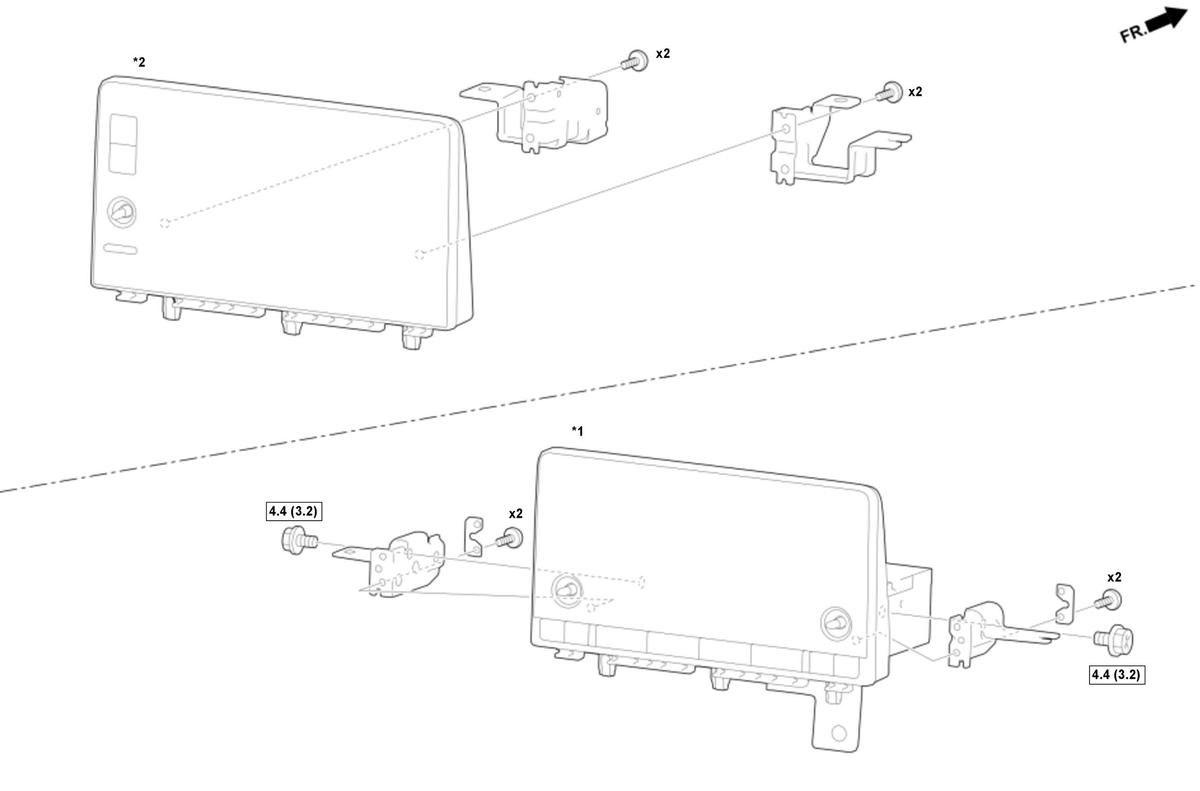
Special Mag-Form® self-tapping bolts are used to attach components to the steering hanger beam. If a Mag-Form® bolt hole is stripped, oversize bolts are available.

Fig 1: Dashboard/Steering Hanger Beam Area Replacement Components With Torque Specifications (1 Of 12)
GHH575929Courtesy of HONDA, U.S.A., INC.
: Torque, Nm (lbfft) : Replace : Warning/Caution : Inspection/Adjustment *: Learning ■: SPL Tool : Required Removal
*1: If a Mag-Form® bolt hole is stripped, oversize bolts are available.
*2: With color audio type
*3: With display audio type
*4: With glove box damper
Fig 2: Dashboard/Steering Hanger Beam Area Replacement Components (2 Of 12)
GHH575930Courtesy of HONDA, U.S.A., INC.
: Torque, Nm (lbfft) : Replace : Warning/Caution : Inspection/Adjustment *: Learning ■: SPL Tool : Required Removal
*1:For some models
Fig 3: Dashboard/Steering Hanger Beam Area Replacement Components (3 Of 12)
GHH575931Courtesy of HONDA, U.S.A., INC.
: Torque, Nm (lbfft) : Replace : Warning/Caution : Inspection/Adjustment *: Learning ■: SPL Tool : Required Removal
*1:With front passenger's tray light
Fig 4: Dashboard/Steering Hanger Beam Area Replacement Components (4 Of 12)
GHH575932Courtesy of HONDA, U.S.A., INC.
: Torque, Nm (lbfft) : Replace : Warning/Caution : Inspection/Adjustment *: Learning ■: SPL Tool : Required Removal
*1: Part(s) are shown for one side only as the procedure is the same for both sides.
*2: With front center speaker
Fig 5: Dashboard/Steering Hanger Beam Area Replacement Components (5 Of 12)
GHH575933Courtesy of HONDA, U.S.A., INC.
: Torque, Nm (lbfft) : Replace : Warning/Caution : Inspection/Adjustment *: Learning ■: SPL Tool : Required Removal
*1: With footwell light
Fig 6: Dashboard/Steering Hanger Beam Area Replacement Components With Torque Specifications (6 Of 12)
GHH575934Courtesy of HONDA, U.S.A., INC.
: Torque, Nm (lbfft) : Replace : Warning/Caution : Inspection/Adjustment *: Learning ■: SPL Tool : Required Removal
*1: With color audio type
*2: With display audio type
Fig 7: Dashboard/Steering Hanger Beam Area Replacement Components With Torque Specifications (7 Of 12)
GHH575935Courtesy of HONDA, U.S.A., INC.
: Torque, Nm (lbfft) : Replace : Warning/Caution : Inspection/Adjustment *: Learning ■: SPL Tool : Required Removal
*1: With head up display
*2: With multi view camera system
*3: If a Mag-Form® bolt hole is stripped, oversize bolts are available.
Fig 8: Dashboard/Steering Hanger Beam Area Replacement Components With Torque Specifications (8 Of 12)
GHH575936Courtesy of HONDA, U.S.A., INC.
: Torque, Nm (lbfft) : Replace : Warning/Caution : Inspection/Adjustment *: Learning ■: SPL Tool : Required Removal
*1: With display audio type
*2: With parking and back-up sensor control unit
*3: If a Mag-Form® bolt hole is stripped, oversize bolts are available.
Fig 9: Dashboard/Steering Hanger Beam Area Replacement Components With Torque Specifications (9 Of 12)
GHH575937Courtesy of HONDA, U.S.A., INC.
: Torque, Nm (lbfft) : Replace : Warning/Caution : Inspection/Adjustment *: Learning ■: SPL Tool : Required Removal
*1: With AC inverter unit
*2: With telematics control unit
Fig 10: Dashboard/Steering Hanger Beam Area Replacement Components With Torque Specifications (10 Of 12)
GHH575938Courtesy of HONDA, U.S.A., INC.
: Torque, Nm (lbfft) : Replace : Warning/Caution : Inspection/Adjustment *: Learning ■: SPL Tool : Required Removal
*1: With display audio type
Fig 11: Dashboard/Steering Hanger Beam Area Replacement Components With Torque Specifications (11 Of 12)
GHH575939Courtesy of HONDA, U.S.A., INC.
: Torque, Nm (lbfft) : Replace : Warning/Caution : Inspection/Adjustment *: Learning ■: SPL Tool : Required Removal
*1: With head up display
*2: If a Mag-Form® bolt hole is stripped, oversize bolts are available.
Fig 12: Dashboard/Steering Hanger Beam Area Replacement Components (12 Of 12)
GHH575940Courtesy of HONDA, U.S.A., INC.
: Torque, Nm (lbfft) : Replace : Warning/Caution : Inspection/Adjustment *: Learning ■: SPL Tool : Required Removal
  1. A.-
    GHH575941Courtesy of HONDA, U.S.A., INC.
  2. B.-
    GHH575942Courtesy of HONDA, U.S.A., INC.
  3. C.-

    Sub-Procedure 

    Removal 

    • Refer to the figure.
    GHH575943Courtesy of HONDA, U.S.A., INC.

    After Installation 

  4. D.-
    GHH575944Courtesy of HONDA, U.S.A., INC.
  5. E.-
    GHH575945Courtesy of HONDA, U.S.A., INC.
  6. F.-

    Sub-Procedure 

    Removal 

    • Refer to the figure.
    GHH575946Courtesy of HONDA, U.S.A., INC.
  7. G.-
    GHH575947Courtesy of HONDA, U.S.A., INC.
  8. H.-
    GHH575948Courtesy of HONDA, U.S.A., INC.
  9. I.-
    GHH575949Courtesy of HONDA, U.S.A., INC.
  10. J.-

    Sub-Procedure 

    Removal 

    After Installation 

  11. K.-
    GHH575950Courtesy of HONDA, U.S.A., INC.
  12. L.-
    GHH575951Courtesy of HONDA, U.S.A., INC.
  13. M.-
    GHH575952Courtesy of HONDA, U.S.A., INC.
  14. N.-
    GHH575953Courtesy of HONDA, U.S.A., INC.
  15. O.-
    GHH575954Courtesy of HONDA, U.S.A., INC.
  16. P.-
    GHH575955Courtesy of HONDA, U.S.A., INC.
  17. Q.-
    GHH575956Courtesy of HONDA, U.S.A., INC.
  18. R.-

    Sub-Procedure 

    Removal 

    • Refer to the figure 1 and 2.

    Figure 1 

    GHH575957Courtesy of HONDA, U.S.A., INC.

    Figure 2 

    GHH575958Courtesy of HONDA, U.S.A., INC.
  19. S.-

    Sub-Procedure 

    Removal 

    • Refer to the figure.
    GHH575959Courtesy of HONDA, U.S.A., INC.
  20. T.-
    GHH575960Courtesy of HONDA, U.S.A., INC.
  21. U.-
    GHH575961Courtesy of HONDA, U.S.A., INC.
  22. V.-

    Sub-Procedure 

    GHH575962Courtesy of HONDA, U.S.A., INC.

    Removal 

    • Refer to the figure.

    After Installation 

  23. W.-
    GHH575963Courtesy of HONDA, U.S.A., INC.
  24. X.-

    Sub-Procedure 

    GHH575964Courtesy of HONDA, U.S.A., INC.

    Removal 

    • Refer to the figure.

    Remote Battery Specifications 

    Type
    CR2032

    After Installation 

  25. Y.-

    NOTE:  Position of the switch is different depending on the model.

    Sub-Procedure 

    GHH575965Courtesy of HONDA, U.S.A., INC.

    Removal 

    • Refer to the figure.
  26. Z.-

    NOTE:  Position of the switch is different depending on the model.

    Sub-Procedure 

    GHH575966Courtesy of HONDA, U.S.A., INC.

    Removal 

    • Refer to the figure.
  27. AA.-

    NOTE:  Position of the switch is different depending on the model.

    Sub-Procedure 

    GHH575967Courtesy of HONDA, U.S.A., INC.

    Removal 

    • Refer to the figure.
  28. AB.-

    After Installation 

  29. AC.-
    GHH575968Courtesy of HONDA, U.S.A., INC.
  30. AD.-

    Sub-Procedure 

    GHH575969Courtesy of HONDA, U.S.A., INC.

    Removal 

    • Refer to the figure.
  31. AE.-

    Sub-Procedure 

    GHH575970Courtesy of HONDA, U.S.A., INC.

    Removal 

    • Refer to the figure.
  32. AF.-

    Sub-Procedure 

    GHH575971Courtesy of HONDA, U.S.A., INC.

    Removal 

    • Refer to the figure.
  33. AG.-

    Sub-Procedure 

    GHH575972Courtesy of HONDA, U.S.A., INC.

    Removal 

    • Refer to the figure.
  34. AH.-

    Sub-Procedure 

    GHH575973Courtesy of HONDA, U.S.A., INC.

    Removal 

    • Refer to the figure.
  35. AI.-

    Sub-Procedure 

    GHH575974Courtesy of HONDA, U.S.A., INC.

    Removal 

    • Refer to the figure.
  36. AJ.-

    Sub-Procedure 

    GHH575975Courtesy of HONDA, U.S.A., INC.

    Removal 

    • Refer to the figure.
  37. AK.-

    Sub-Procedure 

    GHH575976Courtesy of HONDA, U.S.A., INC.

    Removal 

    • Refer to the figure.
  38. AL.-

    Key Information 

    Do the following before starting your work.

    Remove: 

    • Dashboard
  39. AM.-

    WARNING: 

    NOTICE: 

    If you are replacing the front passenger's airbag after a deployment, refer to Component Replacement/Inspection After Deployment - Refer to: Airbag and Tensioner Disposal () or SRS Component Replacement/Inspection After Deployment () for a complete list of other parts that must also be replaced.

    Preconditions 

    Key Information 

    Do the following before starting your work.

    Remove: 

    • Globe Box

    Sub-Procedure 

    Installation 

    NOTICE: 

    • Make sure there are no objects between the airbag and the dashboard.
    • Make sure the airbag is fully seated, and make sure the dashboard is not deformed or damaged after the airbag is in place.
    • Make sure the hooks are set properly.
    • Do not install the airbag while it is in a plastic bag.
    • Before installing the glove box back cover, make sure the SRS indicator works normally.

    After Installation 

    1. 12 Volt Battery Negative Terminal Reconnect

    2. SRS Operation Confirm

    • Turn the vehicle to the ON mode, and check that the SRS indicator comes on for about 6 seconds and then goes off.
  40. AN.-

    Key Information 

    Do the following before starting your work.

    Remove: 

    • Passenger's Dashboard Undercover

    Sub-Procedure 

    Removal/Installation 

    NOTICE: 

    NOTE: 

    • Obtain a multi view camera unit before starting the rewriting process.
    • Rewriting is not possible on a multi view camera unit that will not communicate with the HDS.
    • Once you have started this procedure, you must complete it before removing the HDS from the DLC.
    • Before you rewrite the multi view camera unit, make sure the battery in the vehicle is fully charged and connect a jumper to the battery (not a battery charger) to maintain system voltage.

    1. Connect the HDS to the DLC .

    2. Select the following menu buttons on the HDS screen in sequence.

    1. DRIVING SUPPORT (System Selection Menu)
    2. MULTI VIEW CAMERA SYSTEM
    3. ADJUSTMENT
    4. CAMERA AIMING DATA TRANSFER

    3. Replace the multi view camera unit.

    4. Follow the instructions on the display to write the new aiming data on the new multi view camera unit.

    After Installation 

  41. AO.-

    Key Information 

    Do the following before starting your work.

    Remove: 

    • Driver's Lower Cover

    Sub-Procedure 

    GHH575977Courtesy of HONDA, U.S.A., INC.

    Removal 

    • Refer to the figure.

    After Installation 

  42. AP.-

    WARNING: 

    NOTICE: 

    If you are replacing the driver's knee airbag after a deployment, refer to Component Replacement/Inspection After Deployment - Refer to: Airbag and Tensioner Disposal () or SRS Component Replacement/Inspection After Deployment () for a complete list of other parts that must also be replaced.

    Preconditions 

    Key Information 

    Do the following before starting your work.

    Remove: 

    • Driver's Dashboard Lower Cover

    Sub-Procedure 

    Installation 

    NOTICE: 

    Before installing the driver's dashboard lower cover, make sure the SRS indicator works normally.

    After Installation 

    1. 12 Volt Battery Negative Terminal Reconnect

    2. Turn the vehicle to the ON mode, and check that the SRS indicator comes on for about 6 seconds and then goes off.

  43. AQ.-

    Preconditions 

    Key Information 

    Do the following before starting your work.

    Remove: 

    • Driver's Dashboard Lower Cover

    Sub-Procedure 

    Removal 

    • Refer to the figure.
    GHH575978Courtesy of HONDA, U.S.A., INC.

    After Installation 

    NOTE:  When replacing the body control module, do this procedure.

  44. AR.-

    Key Information 

    Do the following before starting your work.

    Remove: 

    • Passenger's Side Outlet
  45. AS.-

    Sub-Procedure 

    GHH575979Courtesy of HONDA, U.S.A., INC.

    Removal 

    • Refer to the figure.

    After Installation 

    NOTE:  If you are substituting a known-good parking and back-up sensor control unit, reset the parking and back-up sensor control unit - Refer to: Parking and Back-Up Sensor Control Unit Update () or Resetting the Parking and Back-Up Sensor Control Unit () .

  46. AT.-

    WARNING: 

    Preconditions 

    Key Information 

    Do the following before starting your work.

    Remove: 

    • Driver's Dashboard Lower Cover

    Sub-Procedure 

    Removal 

    • Carefully remove the relays using the relay puller tool.

      NOTE:  Do not use pliers. Pliers will damage the relays, which could cause the engine to stall, not start, or cause other functions to fail.

    GHH575980Courtesy of HONDA, U.S.A., INC.

    After Installation 

  47. AU.-

    Key Information 

    Do the following before starting your work.

    Remove: 

    • Driver's Lower Cover
  48. AV.-

    Key Information 

    Do the following before starting your work.

    Remove: 

    • Gauge Control Module

    After Installation 

  49. AW.-

    WARNING: 

    NOTICE: 

    If you are replacing the front passenger's knee airbag after a deployment, refer to Component Replacement/Inspection After Deployment - Refer to: Airbag and Tensioner Disposal () or SRS Component Replacement/Inspection After Deployment () for a complete list of other parts that must also be replaced.

    Preconditions 

    Key Information 

    Do the following before starting your work.

    Remove: 

    • Passenger's Dashboard Undercover
    • Glove Box (Lower)

    Sub-Procedure 

    Installation 

    NOTICE: 

    Before installing the glove box, make sure the SRS indicator works normally.

    After Installation 

    1. 12 Volt Battery Negative Terminal Reconnect

    2. Turn the vehicle to the ON mode, and check that the SRS indicator comes on for about 6 seconds and then goes off.

  50. AX.-

    WARNING: 

    Preconditions 

    Key Information 

    NOTE:  For the removal and installation procedure, refer to Dashboard Removal and Installation - Refer to: Dashboard Removal and Installation () or Dashboard/Steering Hanger Beam Removal and Installation () .

    Removal 

    • Refer to the figure.
    GHH575981Courtesy of HONDA, U.S.A., INC.

    After Installation 

  51. AY.-

    WARNING: 

    Preconditions 

    Key Information 

    NOTE:  For the removal and installation procedure, refer to Dashboard/Steering Hanger Beam Removal and Installation - Refer to: Dashboard Removal and Installation () or Dashboard/Steering Hanger Beam Removal and Installation () and the sub-procedure below.

    Sub-Procedure 

    Removal 

    1. Loosen the special bolts (a) until they disengage from the threads on the hanger beam (b), and engage the inside threads of the collar bolts (c). The thread lock on the special bolts makes the special bolts and the collar bolts turn together. (Figure 1)

    Figure 1 

    GHH575982Courtesy of HONDA, U.S.A., INC.

    2. Continue to loosen the special bolts to turned the collar bolts into the fixed space adjusters (d) until the collar bolts engage the adjuster brackets. This creates a gap (e) between the collar bolts and the body. (Figure 1)

    3. Check that the collar bolts (f) are seated in the fixed space adjusters (g). (Figure 2)

    NOTE: If either collar bolt was not seated, replace the special bolts.

    Figure 2 

    GHH575983Courtesy of HONDA, U.S.A., INC.

    Figure 3 

    GHH575984Courtesy of HONDA, U.S.A., INC.

    4. Lift up the dashboard/steering hanger beam to release it from the guide pins (h, i) on the body. (Figure 3)

    Installation 

    NOTE: 

    • Before reinstalling the dashboard, screw the special bolt (m) into the collar bolt (n), and check that they turn together. If they do not turn together, replace the special bolt. (Figure 4)
    • Before reinstalling the dashboard, be sure the collar bolts can be screwed/unscrewed lightly by hand, and then screw them into the fixed space adjusters (o) fully by hand. Do not tighten them with any tools. (Figure 4)
    • Make sure the dashboard fits onto the guide pins correctly.
    • Before tightening the bolts, make sure the wire harnesses are not pinched.
    • Make sure the connectors are plugged in properly.
    • After setting the dashboard in the body, reinstall all of the mounting bolts but do not tighten them.
    • Tighten the special bolts and the bolts to the specified torque.
    • As you tighten the bolts, the collar bolts screw out of the space adjuster until they contact the body. Continue tightening the special bolts to the specified torque.
    • If the bolt threads of the steering hanger beam are stripped, replace the bolts with one-size larger bolts (available as a service part), which are specifically designed to tighten the instrument panel to the specified torque setting.
    • Check for any DTCs that may have been set during repairs, and clear them.

    Figure 4 

    GHH575985Courtesy of HONDA, U.S.A., INC.

    After Installation