LEMON Manuals: Even more car manuals for everyone: 1960-2025
Home >> Honda >> 2023 >> Pilot LX, AWD >> Repair and Diagnosis (Single Page) >> Accessories & Equipment >> Communication Devices >> Integrated Control Systems - General Information >> Description and Operation >> Driving Position Memory System Description - System Diagram
April 5, 2026: LEMON Manuals is launched! Read the announcement.

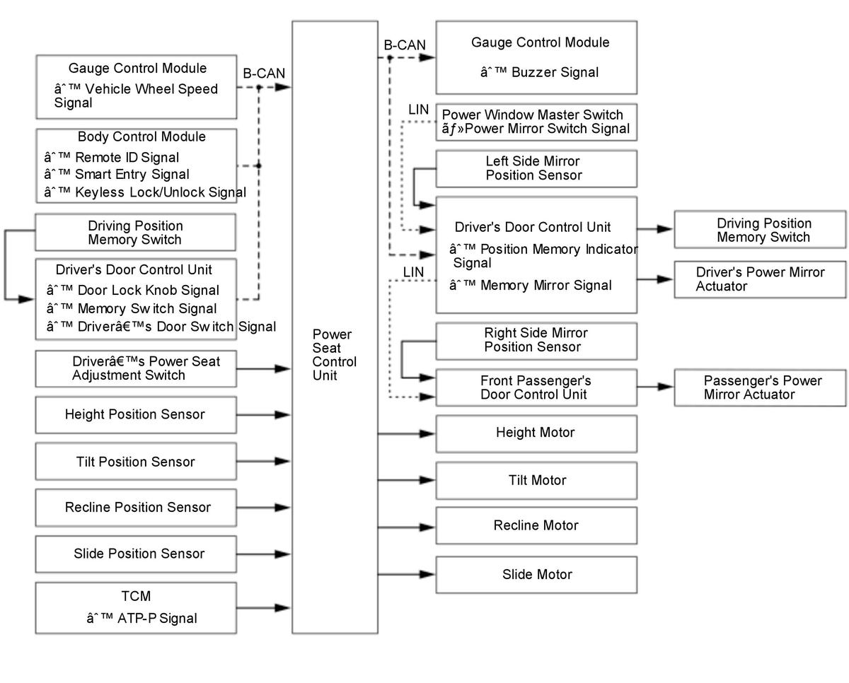
Driving Position Memory System Description - System Diagram

For locations of each component on vehicle, refer to Component Location Index 

GHH580008Courtesy of HONDA, U.S.A., INC.