LEMON Manuals: Even more car manuals for everyone: 1960-2025
Home >> Honda >> 2023 >> Pilot LX, AWD >> Repair and Diagnosis >> Engine Performance >> Engine Control Systems >> Engine Mechanical / Engine Control System - Service, Testing And Troubleshooting >> Removal and Installation >> Block and Piston Inspection >> Inspection
April 5, 2026: LEMON Manuals is launched! Read the announcement.

Block and Piston Inspection: Inspection

How to use this manual .

  1. Engine Block Warpage - Inspect

    Preconditions 

    GHH577909Courtesy of HONDA, U.S.A., INC.
    GHH577910Courtesy of HONDA, U.S.A., INC.

    Procedure/Specifications 

    • Check the top of the block for warpage. Measure along the edges and across the center as shown.

    Tool Details 

    Name
    a Precision Straight Edge (Commercially Available)
    b Feeler Gauge

    Specifications 

    Standard Value (New)
    0.07 mm (0.002 in) max.

    Result 

  2. Cylinder Bore - Inspect

    Preconditions 

    Figure 1 

    GHH577911Courtesy of HONDA, U.S.A., INC.

    Figure 2 

    GHH577912Courtesy of HONDA, U.S.A., INC.

    Procedure/Specifications 

    1. Measure the wear and taper in direction Y and X at three levels inside each cylinder as shown. (Figure 1 and 2)

    Measurement Position (Figure 1) 

    Standard Value
    a First Measurement 10 mm (0.39 in)
    b Second Measurement 50 mm (1.97 in)
    c Third Measurement 130 mm (5.12 in)

    Specifications (Cylinder Bore Size) (Figure 2) 

    Standard Value (New) Service Limit
    X 89.000-89.020 mm (3.50393-3.50472 in) 89.065 mm (3.50649 in)
    Y 89.000-89.015 mm (3.50393-3.50452 in)

    Oversize Bore 

    Standard Value
    0.25 86.250-86.265 mm (3.39566-3.39625 in)

    Specifications (Bore Taper) 

    Service Limit
    (Difference between first and third measurement) 0.025 mm (0.00098 in)

    2. Hone any cored or scratched cylinder bores - Refer to: Block and Piston Inspection ()  or Cylinder Bore Honing ()  if needed. If the engine block is being rebored, check the piston-to- cylinder bore clearance.

    Reboring Limit 

    Standard Value
    0.25 mm (0.0098 in) max.

    Result 

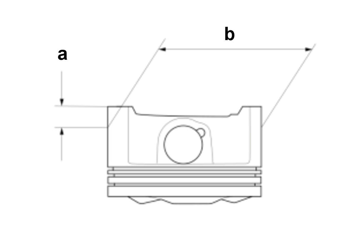
  3. Piston Skirt Diameter - Inspect

    Preconditions 

    Figure 1 

    GHH577913Courtesy of HONDA, U.S.A., INC.

    Figure 2 

    GHH577914Courtesy of HONDA, U.S.A., INC.

    Procedure/Specifications 

    1. Check the pistons for distortion or cracks.

    Specifications 

    Object Specification
    Piston No distortion or cracks

    2. Measure the piston skirt diameter at a point (a) from the bottom of the skirt. (Figure 1)

    Measurement Position (Figure 1) 

    Standard Value
    a 16 mm (0.63 in)

    Specifications (Figure 1) 

    Service Limit
    b 88.950 mm (3.50196 in)

    Tool Details (Figure 2) 

    Name
    c Micrometer

    Result 

    • If the measurement is not within specifications, replace the piston.
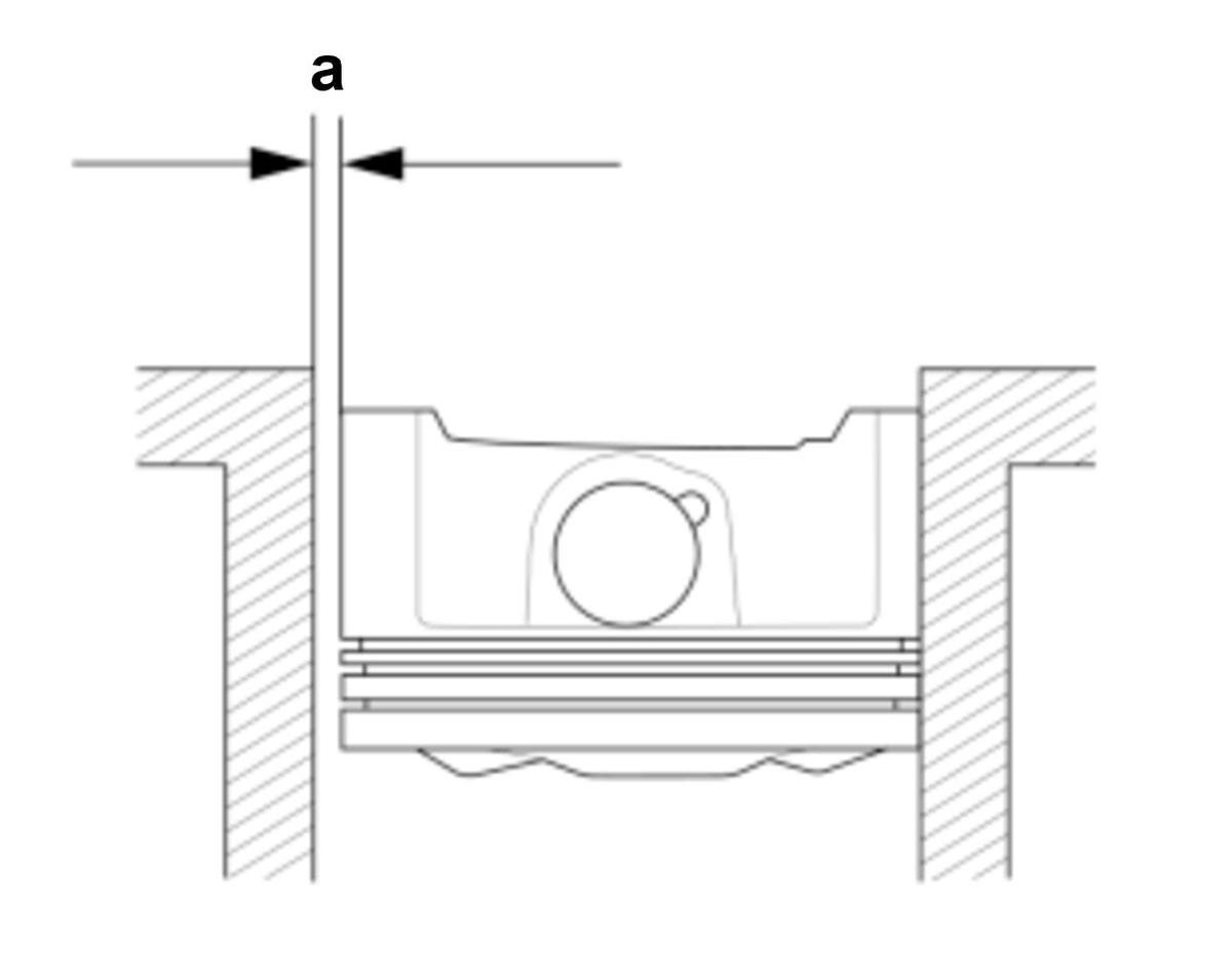
  4. Piston-to-Cylinder Bore Clearance - Inspect

    Preconditions 

    GHH577915Courtesy of HONDA, U.S.A., INC.

    Procedure/Specifications 

    • Calculate the difference between the cylinder bore diameter and the piston diameter.

    Specifications 

    Service Limit
    a 0.08 mm (0.0031 in)

    Result 

    • If the measurement is not within specifications, the clearance is near, or exceeds the service limit, inspect the piston and the cylinder bore for excessive wear.