LEMON Manuals: Even more car manuals for everyone: 1960-2025
Home >> Honda >> 2023 >> Pilot LX, AWD >> Repair and Diagnosis >> Engine Performance >> Engine Control Systems >> Engine Mechanical / Engine Control System - Service, Testing And Troubleshooting >> Removal and Installation >> Piston, Ring, Pin, and Connecting Rod Inspection >> Inspection
April 5, 2026: LEMON Manuals is launched! Read the announcement.

Piston, Ring, Pin, and Connecting Rod Inspection: Inspection

How to use this manual .

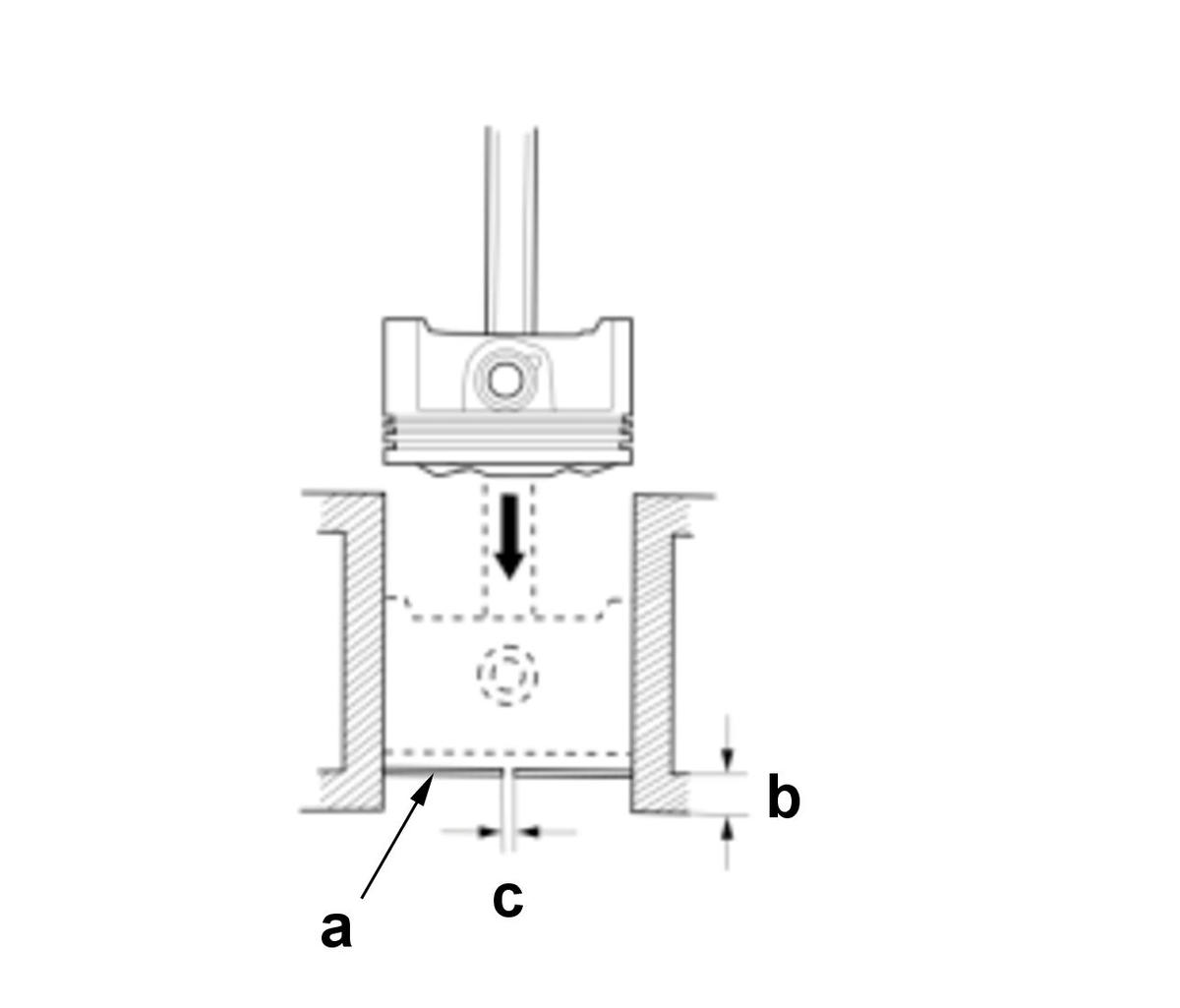
  1. Piston Ring End Gap - Inspect

    Preconditions 

    Procedure/Specifications 

    1. Using a piston that has its rings removed, push a new ring (a) into the cylinder bore.

    Measurement Position 

    Standard Value
    b 15-20 mm (0.59-0.79 in)
    GHH577951Courtesy of HONDA, U.S.A., INC.

    2. Measure the ring end-gap (c) with a feeler gauge.

    Specifications 

      Object Standard Value (New) Service Limit
    c Top Ring 0.20-0.23 mm (0.008-0.009 in) 0.23 mm (0.009 in)
    Second Ring 0.40-0.52 mm (0.016-0.021 in) 0.52 mm (0.021 in)
    Oil Ring 0.32-0.58 mm (0.013-0.022 in) 0.58 mm (0.022 in)

    Result 

  2. Piston Pin - Inspect

    Preconditions 

    GHH577952Courtesy of HONDA, U.S.A., INC.

    Procedure/Specifications 

    • Measure the diameter of the piston pin.

    Tool Details 

    Name
    a Micrometer

    Specifications 

    Object Standard Value (New) Service Limit
    Piston Pin 21.962-21.965 mm (0.86464-0.86476 in) 21.954 mm (0.86433 in)

    Result 

    • If the measurement is not within specifications, replace the piston pin.
  3. Piston Pin-to-Piston Clearance - Inspect

    Preconditions 

    Figure 1 

    GHH577953Courtesy of HONDA, U.S.A., INC.

    Procedure/Specifications 

    1. Measure the diameter of the pin.

    2. Zero the dial indicator (a) to the pin diameter. (Figure 1)

    Tool Details (Figure 1) 

    Name
    a Dial Indicator

    Figure 2 

    GHH577954Courtesy of HONDA, U.S.A., INC.

    3. Check the difference between the pin diameter and the pin hole diameter in the piston. (Figure 2)

    Specifications 

    Standard Value (New) Service Limit
    -0.005-0.002- mm (-0.00020-0.00008 in) 0.012 mm (0.00047 in)

    Result 

  4. Piston Pin-to-Connecting Rod Clearance - Inspect

    Preconditions 

    Figure 1 

    GHH577955Courtesy of HONDA, U.S.A., INC.

    Procedure/Specifications 

    1. Measure the diameter of the pin.

    2. Zero the dial indicator (a) to the pin diameter. (Figure 1)

    Tool Details (Figure 1) 

    Name
    a Dial Indicator

    Figure 2 

    GHH577956Courtesy of HONDA, U.S.A., INC.

    3. Measure the pin-to-rod clearance. (Figure 2)

    Specifications 

    Standard Value (New) Service Limit
    0.005-0.015 mm (0.00020-0.00059 in) 0.019 mm (0.00075 in)

    Result 

  5. Ring-to-Groove Clearance - Inspect

    Preconditions 

    GHH577957Courtesy of HONDA, U.S.A., INC.

    Procedure/Specifications 

    • After installing a new set of rings, measure the ring-to- groove clearances.

    Tool Details 

    Name
    a Feeler Gauge

    Specifications 

    Object Standard Value (New) Service Limit
    Top Ring 0.065-0.090 mm (0.003 in) 0.120 mm (0.005 in)
    Second Ring 0.030-0.055 mm (0.001-0.002 in) 0.085 mm (0.003 in)

    Result 

    • If the measurement is not within specifications, replace the piston.