LEMON Manuals: Even more car manuals for everyone: 1960-2025
Home >> Honda >> 2024 >> Pilot EX-L, AWD >> Repair and Diagnosis (Single Page) >> Accessories & Equipment >> Drivers Assistance Systems - ADAS >> Advanced Drive Assistance Systems - Service, Testing And Troubleshooting >> Description and Operation >> Multi View Camera System (MVCS) Description - System Diagram
April 5, 2026: LEMON Manuals is launched! Read the announcement.

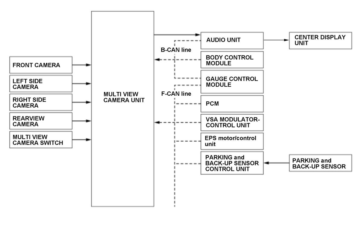
Multi View Camera System (MVCS) Description - System Diagram

The Multi View Camera System's unit first processes the image inputs (from the four wide-angle cameras), steering angle inputs (from the EPS motor/control unit), vehicle speed inputs (from the F-CAN), and switch inputs (from the related units) to send image signals or change view commands to the audio unit.

For locations of each component on vehicle, refer to the Component Location Index:

The system diagram of the multi view camera system is shown below.

GHH582537Courtesy of HONDA, U.S.A., INC.