LEMON Manuals: Even more car manuals for everyone: 1960-2025
Home >> Honda >> 2024 >> Pilot EX-L, AWD >> Repair and Diagnosis (Single Page) >> Electrical >> Charging Systems >> Alternator Components - Service Information >> Exploded View >> Alternator Components >> Repair Procedure
April 5, 2026: LEMON Manuals is launched! Read the announcement.

Repair Procedure

How to use this manual .

Fig 1: Alternator Replacement Components With Torque Specifications
GHH573735Courtesy of HONDA, U.S.A., INC.
: Torque, Nm (lbfft) : Replace : Warning/Caution : Inspection/Adjustment *: Learning ■: SPL Tool : Required Removal
GHH573736Courtesy of HONDA, U.S.A., INC.
: Torque, Nm (lbfft) : Replace : Warning/Caution : Inspection/Adjustment *: Learning ■: SPL Tool : Required Removal
  1. A.-

    Sub-Procedure 

    NOTICE:  

    While the cap is off, the grease inside the OAD pulley is exposed. Do not wipe the grease off, and make sure it does not become contaminated.

    GHH573737Courtesy of HONDA, U.S.A., INC.

    Removal 

    • Remove the OAD pulley seal cap by piercing the center of the rubber cap with a flat screwdriver and prying it loose.

    Installation 

    NOTICE:  

    • Do not distort the OAD pulley seal cap.
    • Make sure that the cap is installed securely.
  2. B.-

    Sub-Procedure 

    NOTICE:  

    While the cap is off, the grease inside the OAD pulley is exposed. Do not wipe the grease off, and make sure it does not become contaminated.

    GHH573738Courtesy of HONDA, U.S.A., INC.

    Removal 

    • Turn the alternator shaft clockwise.
  3. C.-

    Sub-Procedure 

    GHH573739Courtesy of HONDA, U.S.A., INC.

    Installation 

    Pin Specifications 

    Standard Value
    a About 1.6 mm (1/16 in)
  4. D.-

    Sub-Procedure 

    GHH573740Courtesy of HONDA, U.S.A., INC.

    Removal 

    NOTE:  Do not remove the bearing holder (a) from the stator assembly (b). If the bearing holder is not installed properly, replace the stator as assembly.

  5. E.-

    Sub-Procedure 

    Figure 1 

    GHH573741Courtesy of HONDA, U.S.A., INC.

    Removal 

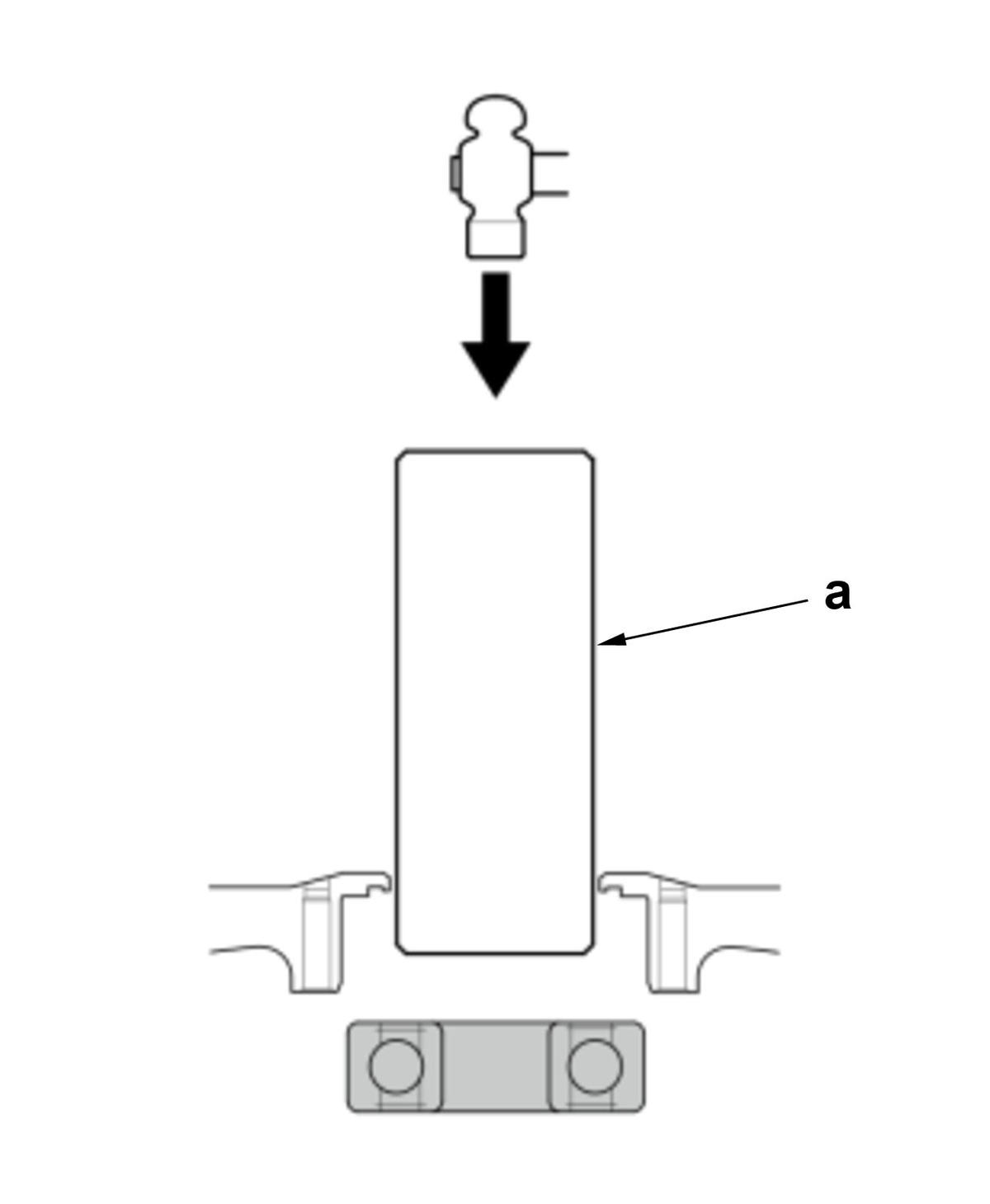
    Tool Details (Figure 1) 

    Name
    a Brass Drift(Commercially Available)

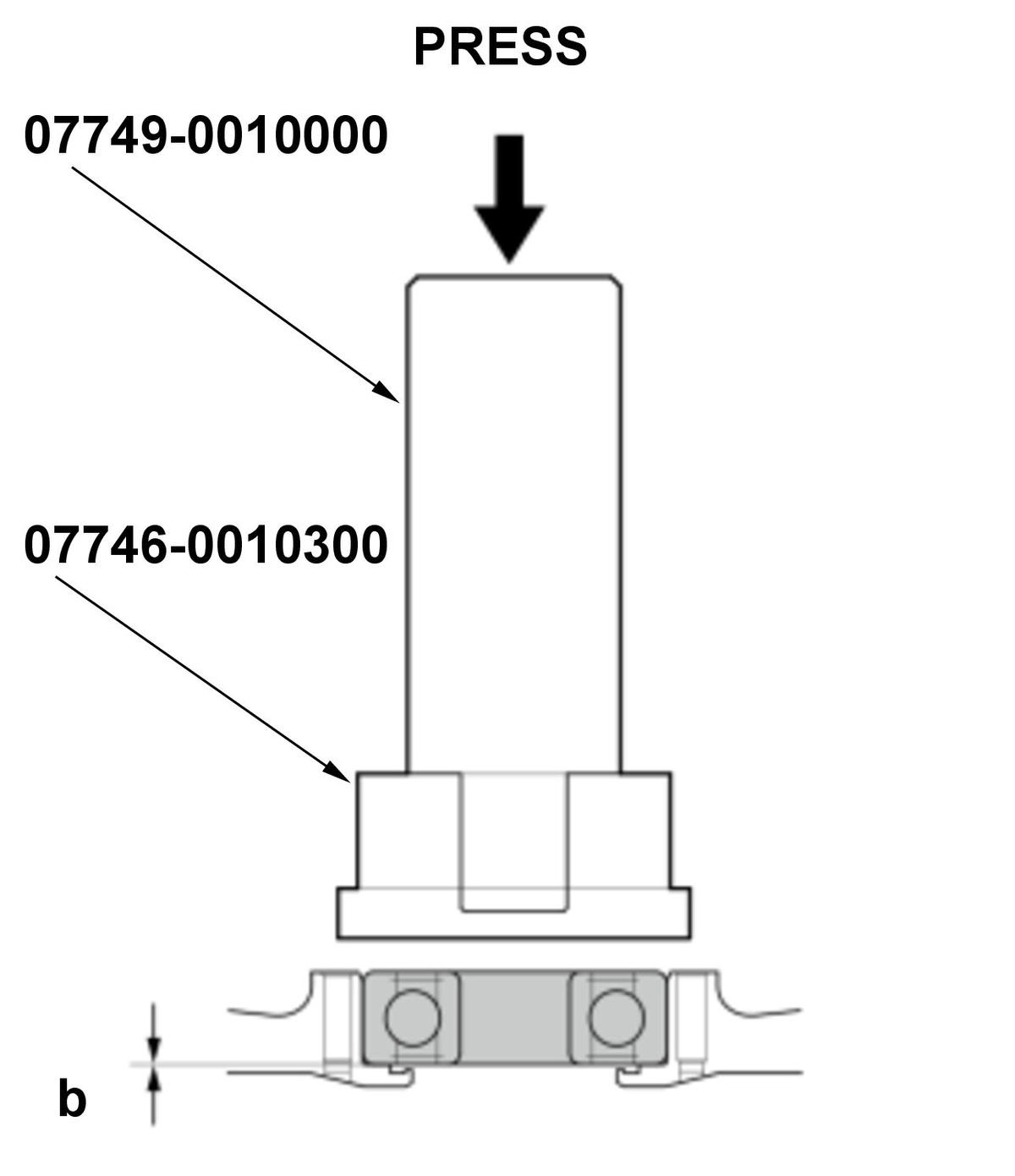
    Figure 2 

    GHH573742Courtesy of HONDA, U.S.A., INC.

    Installation 

    NOTICE:  

    Be sure to use a press.

    Specifications (Figure 2) 

    Specification
    b No Clearance