LEMON Manuals: Even more car manuals for everyone: 1960-2025
Home >> Honda >> 2025 >> Pilot EX-L, AWD >> Repair and Diagnosis (Single Page) >> Electrical >> Component Locations >> Electrical Component Locator And Service Information - Engine Block/Crankshaft Area >> Exploded View >> Engine Block/Crankshaft Area >> Repair Procedure
April 5, 2026: LEMON Manuals is launched! Read the announcement.

Repair Procedure

How to use this manual .

Engine Block/Crankshaft Area Replacement Components With Torque Specifications (1 Of 3) 

GHH576307Courtesy of HONDA, U.S.A., INC.
: Torque, Nm (lbfft) : Replace : Warning/Caution : Inspection/Adjustment *: Learning ■: SPL Tool : Required Removal

Engine Block/Crankshaft Area Replacement Components (2 Of 3) 

GHH576308Courtesy of HONDA, U.S.A., INC.
: Torque, Nm (lbfft) : Replace : Warning/Caution : Inspection/Adjustment *: Learning ■: SPL Tool : Required Removal
*1: In the illustration, other parts are omitted because the component parts and the removal/installation procedure are the same.

Engine Block/Crankshaft Area Replacement Components With Torque Specifications (3 Of 3) 

GHH576309Courtesy of HONDA, U.S.A., INC.
: Torque, Nm (lbfft) : Replace : Warning/Caution : Inspection/Adjustment *: Learning ■: SPL Tool : Required Removal
  1. A.-

    Key Information 

    Do the following before starting your work.

    Remove: 

    Sub-Procedure 

    GHH576310Courtesy of HONDA, U.S.A., INC.

    Installation 

    NOTICE: 

    Make sure the direction of the sensor connector (a) as shown.

    Installation Directions 

      Position Direction
    Front Bank b Crankshaft Pulley Side
    Rear Bank Transmission Side
  2. B.-

    Key Information 

    Do the following before starting your work.

    Remove: 

    Sub-Procedure 

    GHH576311Courtesy of HONDA, U.S.A., INC.

    Installation 

    • Install a cooling control spacer (a) in the engine block whenever the engine block is replaced, and check for free play between the cooling control spacer and the engine block. If there is any free play, install a new cooling control spacer.

    NOTICE: 

    • Make sure the cooling control spacer contacts the bottom of the water jacket (b).
    • Make sure the cooling control spacer upper end portions and the clearance of the cylinder block end face.

    Specifications 

    Standard Value
    c 0.2 mm (0.008 in) min.
  3. C.-

    Key Information 

    Do the following before starting your work.

    Remove: 

    Sub-Procedure 

    Removal 

    NOTE:  Be careful not to damage the crankshaft and the engine block end cover.

    Figure 1 

    GHH576312Courtesy of HONDA, U.S.A., INC.

    Figure 2 

    GHH576313Courtesy of HONDA, U.S.A., INC.

    Installation 

    • Clean and dry the oil seal housing.

    Lubricant Specifications (Figure 1) 

    Position Type
    a Engine Oil

    Installation Depth (Figure 2) 

    Standard Value
    b No Clearance
    • Clean the excess oil off the crankshaft, and check that the oil seal lip is not distorted.
  4. D.-

    Key Information 

    Do the following before starting your work.

    Remove: 

    Sub-Procedure 

    GHH576314Courtesy of HONDA, U.S.A., INC.

    Installation 

    1. Remove all of the old gasket from the mating surfaces of each part and clean it.

    Lubricant Specifications 

    Position Type Detail
    a Liquid Gasket (P/N 08718-0003, 08718-0004, or 08718-0009) b 2.5 mm (0.098 in)

    Lubricant Specifications 

    Position Type
    The lip of the oil seal Engine Oil

    NOTICE: 

    • Install the component within 5 minutes of applying the liquid gasket.
    • If too much time has passed after applying the liquid gasket, remove the old liquid gasket and residue, then reapply new liquid gasket.
    • Wait at least 30 minutes before filling the engine with oil.
    • Do not run the engine for at least 3 hours after installing the parts.
  5. E.-

    Key Information 

    Do the following before starting your work.

    Remove: 

    Sub-Procedure 

    Removal 

    NOTE:  Be careful not to damage the engine oil pump.

    Figure 1 

    GHH576315Courtesy of HONDA, U.S.A., INC.

    Figure 2 

    GHH576316Courtesy of HONDA, U.S.A., INC.

    Installation 

    • Clean and dry the oil seal housing.

    Lubricant Specifications (Figure 1) 

    Position Type
    a Engine Oil

    Installation Depth (Figure 2) 

    Standard Value
    b No Clearance
    • Clean the excess oil off the crankshaft, and check that the oil seal lip is not distorted.
  6. F.-

    Preconditions 

    Key Information 

    Do the following before starting your work.

    Remove: 

    Sub-Procedure 

    GHH576317Courtesy of HONDA, U.S.A., INC.

    Installation 

    1. Remove all of the old gasket from the mating surfaces of each part and clean it.

    Lubricant Specifications 

    Position Type Detail
    a Liquid Gasket (P/N 08718-0003, 08718-0004, or 08718-0009) b 2.5 mm (0.098 in)

    Lubricant Specifications 

    Position Type
    The lip of the oil seal Engine Oil

    Lubricant Specifications 

    Object Type Specified Amount
    Pump Rotor Chamber Engine Oil 2 mL (0.07 fl oz, 0.07 Imp oz)

    NOTICE: 

    • Install the component within 5 minutes of applying the liquid gasket.
    • If too much time has passed after applying the liquid gasket, remove the old liquid gasket and residue, then reapply new liquid gasket.
    • Wait at least 30 minutes before filling the engine with oil.
    • Do not run the engine for at least 3 hours after installing the parts.
  7. G.-

    NOTICE: 

    Keep all removed parts in order, and install them of the original position when installing.

    Sub-Procedure 

    Figure 1 

    GHH576318Courtesy of HONDA, U.S.A., INC.

    Figure 2 

    GHH576319Courtesy of HONDA, U.S.A., INC.

    Removal 

    • Refer to the figure 1.

    NOTICE: 

    • If you can feel a ridge of metal or hard carbon around the top of each cylinder, remove it with a ridge reamer (a). Follow the reamer manufacturer's instructions. If the ridge is not removed, it may damage the piston as it is pushed out. (Figure 2)
    • Take care not to damage the cylinder with the connecting rod.
    • Mark the cylinder number on the connecting rod and the connecting rod bearing cap to avoid mixing them up during reassembly.

    Tool Details (Figure 2) 

    Name
    a Ridge Reamer (Commercially Available)

    Figure 3 

    GHH576320Courtesy of HONDA, U.S.A., INC.

    Installation 

    1. Check the connecting rod bearing is securely in place.

    Lubricant Specifications 

    Position Type
    • Piston
    • Inside of Ring Compressor
    • Cylinder Bore
    Engine Oil

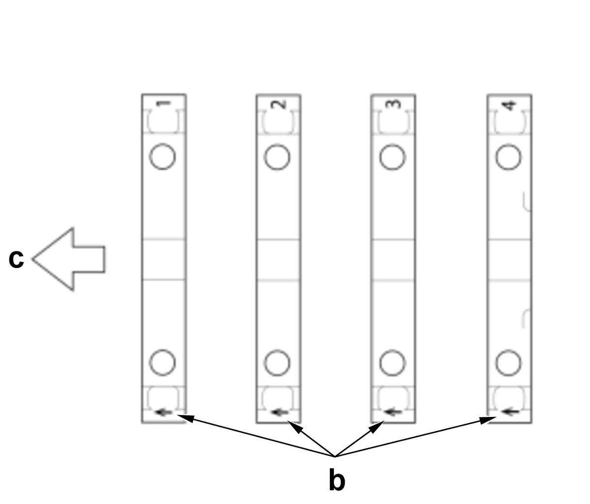
    2. Position the piston/rod assembly with the arrow (b) facing the timing belt side of the engine block. (Figure 3)

    Figure 4 

    GHH576321Courtesy of HONDA, U.S.A., INC.

    3. Push down on the ring compressor (c) to prevent the rings from expanding before entering the cylinder bore. (Figure 4)

    Tool Details (Figure 4) 

    Name
    c Ring Compressor (Commercially Available)

    4. Stop after the ring compressor pops free, and check the connecting rod-to-rod journal alignment before pushing the piston into place.

    5. Adjust the connecting rod bearing (if necessary).

    Figure 5 

    GHH576322Courtesy of HONDA, U.S.A., INC.

    6. Measure the diameter of each connecting rod bolt.

    7. Calculate the difference in diameter between point (d) and point (e). (Figure 5)

    Conditions (Figure 7) 

    Position
    d 35 mm (1.38 in)
    e 20 mm (0.79 in)

    Specifications (Figure 7) 

    Service Limit
    Outer diameter of the bolt (Difference in diameter) 0-0.1 mm (0-0.004 in)

    NOTE:  If the difference in diameter is out of specification, replace the connecting rod bolt.

    Figure 6 

    GHH576323Courtesy of HONDA, U.S.A., INC.

    Figure 7 

    GHH576324Courtesy of HONDA, U.S.A., INC.

    8. Set the crankshaft to bottom dead center (BDC) for the cylinder.

    9. Install the connecting rod cap. Line up the mark (f) on the connecting rod and the connecting rod cap. (Figure 6)

    Lubricant Specifications 

    Position Type
    • Threads
    • Flange
    Engine Oil

    Tightening Procedure (Figure 7) 

    Step Operation Standard Value
    1 Hand Tighten The bolts until they sit on the connecting rod cap
    2 Temporarily Tighten 20 Nm (15 lbfft)
    3 Angle Tighten g 90°

    NOTICE: 

    Remove the connecting rod bolt if you tightened it beyond the specified angle, and go back to step 1 of the tightening procedure. Do not loosen it back to the specified angle.

    10. Inspect the connecting rod and crankshaft end play - Refer to: Connecting Rod and Crankshaft End Play Inspection () or Piston, Ring, Pin, and Connecting Rod Inspection () . (if necessary)

  8. H.-

    Key Information 

    Do the following before starting your work.

    Remove: 

    Sub-Procedure 

    NOTICE: 

    • Keep all removed parts in order, and install them of the original position when installing.
    • Be careful not to damage the journals and the CKP pulse plate.

    NOTE:  The No. 1 journal is on the crankshaft pulley side.

    Figure 1 

    GHH576325Courtesy of HONDA, U.S.A., INC.

    Removal 

    • Loosen the bearing cap bolts and the bearing cap side bolts in sequence 1/3 turn at a time; repeat the sequence until all bolts are loosened. (Figure 1)

    Figure 2 

    GHH576326Courtesy of HONDA, U.S.A., INC.

    Installation 

    1. Adjust the main bearing (if necessary).

    2. Install the crankshaft.

    Lubricant Specifications 

    Position Type
    • Main Bearings
    • Connecting Rod Bearings
    Engine Oil

    3. Install the thrust washer (a) as shown. (Figure 2)

    Lubricant Specifications 

    Position Type
    Thrust Washer Surfaces Engine Oil

    Figure 3 

    GHH576327Courtesy of HONDA, U.S.A., INC.

    Figure 4 

    GHH576328Courtesy of HONDA, U.S.A., INC.

    4. Install the main bearings and the main bearing caps.

    NOTE:

    Install the main bearing caps aligning the arrows (b) facing the timing belt side of the engine block. (Figure 3)

    Lubricant Specifications 

    Position Type
    • Threads
    • Flanges
    Engine Oil

    Installation Directions 

    Position Direction
    c Crankshaft Pulley Side

    Specifications (Figure 4) 

    Position Type
    d 10 x 60 mm
    Position Type
    e 10 x 80 mm

    Figure 5 

    GHH576329Courtesy of HONDA, U.S.A., INC.

    Figure 6 

    GHH576330Courtesy of HONDA, U.S.A., INC.

    5. Tighten the bolts, in sequence. (Figure 5)

    Tightening Procedure (Figure 5 and 6) 

    Step Operation Object Specification
    1 Temporarily Tighten All Bolts
    2 Tighten _ 40 Nm (30 lbfft)
    3 Angle Tighten _ f 47°
    4 Tighten _ 49 Nm (36 lbfft)
  9. I.-

    Sub-Procedure 

    NOTICE: 

    Keep all removed parts in order, and install them of the original position when installing.

    Figure 1 

    GHH576338Courtesy of HONDA, U.S.A., INC.

    Removal 

    • Refer to the Figure 1.

    Tool Details (Figure 1) 

    Name
    a Ring Expander (Commercially Available)

    Figure 2 

    GHH576339Courtesy of HONDA, U.S.A., INC.

    Installation 

    1. Clean all ring grooves thoroughly with a squared-off broken ring or a ring groove cleaner with a blade to fit the piston grooves. File down a blade if necessary. Do not use a wire brush to clean the ring grooves, or cut the ring grooves deeper with the cleaning tools.

    2. If necessary, inspect the piston ring end gap - Refer to: Block and Piston Inspection () or Piston, Ring, Pin, and Connecting Rod Inspection ()

    .NOTE:  If the piston is to be separated from the connecting rod, do not install new rings yet.

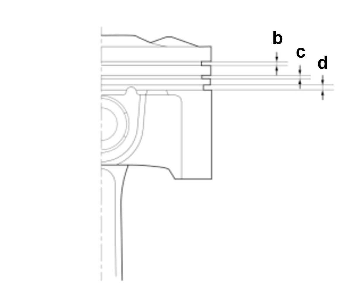
    Specifications (Figure 2) 

    Standard Value (New)
    b 1.2 mm (0.047 in)
    c 1.0 mm (0.039 in)
    d 2.0 mm (0.079 in)

    Figure 3 

    GHH576340Courtesy of HONDA, U.S.A., INC.

    Figure 4 

    GHH576341Courtesy of HONDA, U.S.A., INC.

    3. The manufacturing marks (e)/(f) must be facing upward. (Figure 3)

    Specifications (Figure 3) 

    Marking Position Mark
    e 1R
    f 2R

    Specifications (Figure 4) 

    Standard Value (New)
    Top Ring g 3.1 mm (0.122 in)
    h 1.2 mm (0.047 in)
    Second Ring g 3.1 mm (0.122 in)
    h 1.0 mm (0.039 in)

    Lubricant Specifications 

    Position Type
    Piston Rings Engine Oil

    4. Rotate the rings in their grooves to make sure they do not bind.

    Figure 5 

    GHH576342Courtesy of HONDA, U.S.A., INC.

    5. Position the ring end gaps as shown. (Figure 5)

    Specifications (Figure 5) 

    Position Object
    i Oil Ring Gap
    k Second Ring Gap
    m Oil Ring Gap
    n Top Ring Gap and Spacer Ring Gap
    o Piston Pin

    Specifications (Figure 5) 

    Specifications
    p About 90°
    q About 45°

    After Installation 

  10. J.-

    Sub-Procedure 

    NOTICE: 

    Keep all removed parts in order, and install them of the original position when installing.

    Figure 1 

    GHH576343Courtesy of HONDA, U.S.A., INC.

    Figure 2 

    GHH576344Courtesy of HONDA, U.S.A., INC.

    Removal 

    1. Remove the snap rings.

    Lubricant Specifications (Figure 1) 

    Position Type
    a Engine Oil

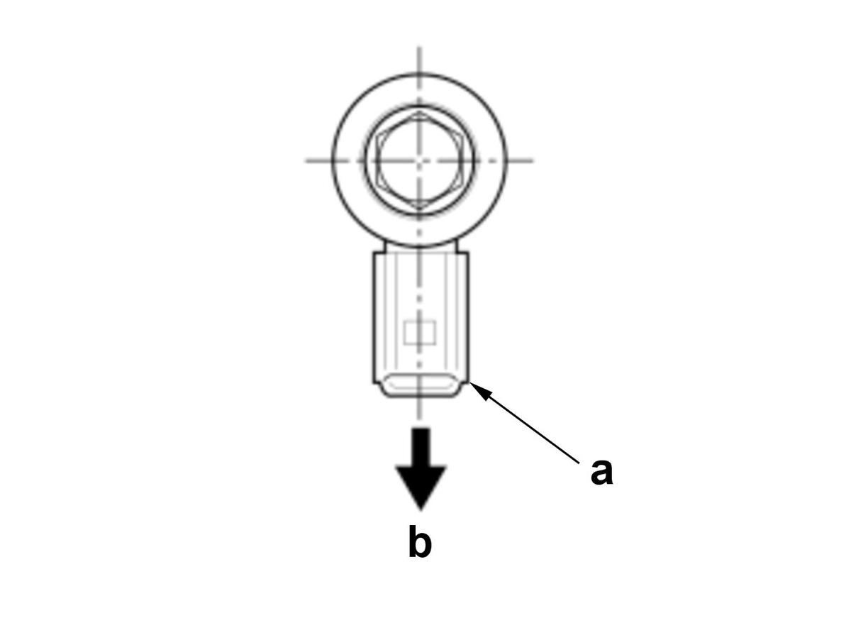
    - 1.Turn them in the ring grooves until the end gaps are lined up with the cutouts in the piston pin bores (b). (Figure 1)

    NOTICE: 

    Take care not to damage the ring grooves.

    - 2.Remove the snap rings from both sides of each piston. Start at the cutout in the piston pin bore. Remove the snap rings carefully so they do not go flying or get lost. Wear goggles or safety glasses to prevent eye injury. (Figure 2)

    Figure 3 

    GHH576345Courtesy of HONDA, U.S.A., INC.

    2. Remove the piston pin. (Figure 3)

    • Heat the piston/rod assembly to about 158°F (70°C).

    3. If necessary, do the following inspection.

    Figure 4 

    GHH576346Courtesy of HONDA, U.S.A., INC.

    Installation 

    1. Install the snap ring. (only on one side)

    2. Make sure the mark (c).

    Specifications (Figure 3) 

    Marking Position Mark
    c 5J6

    Figure 5 

    GHH576347Courtesy of HONDA, U.S.A., INC.

    Figure 6 

    GHH576348Courtesy of HONDA, U.S.A., INC.

    Figure 7 

    GHH576349Courtesy of HONDA, U.S.A., INC.

    3. Install the piston pin.

    Lubricant Specifications (Figure 5) 

    Position Type
    d Engine Oil
    e
    f
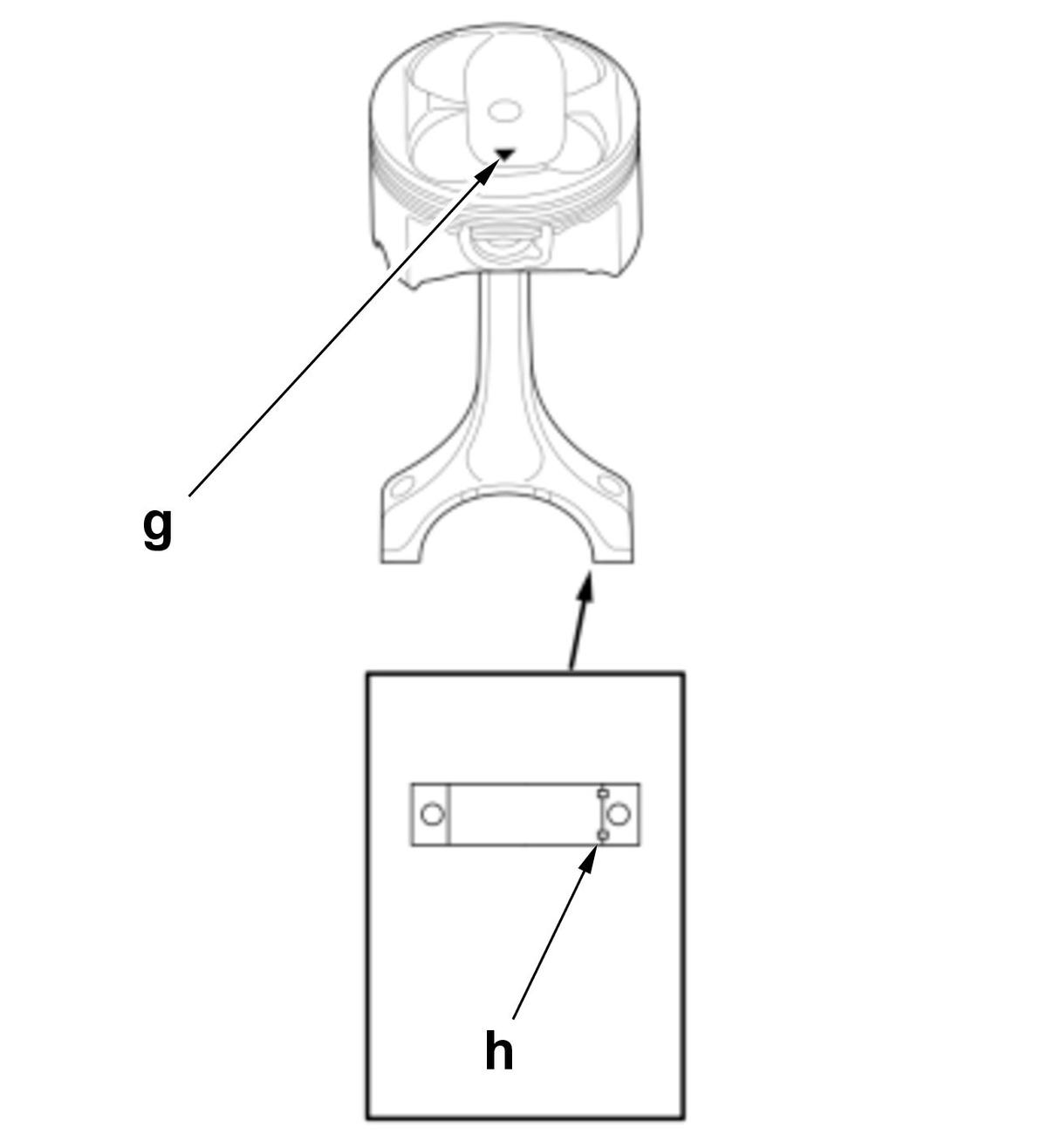
    • Heat the piston to about 158°F (70°C). (Figure 6)
    • Align the arrow (g) with the groove (h) direction on the connecting rod as shown. (Figure 7)

      NOTICE: 

      Pay attention to the direction for installing the connecting rod according to the marks.

    4. Install the remaining snap ring.

    • Turn the snap rings in the ring grooves until the end gaps are positioned at the bottom of the piston.
  11. K.-

    Sub-Procedure 

    NOTICE: 

    Be careful not to damage the CKP pulse plate.

    GHH576350Courtesy of HONDA, U.S.A., INC.

    Installation 

    • Align the portion (a) on the CKP pulse plate and groove (b) on the crankshaft.

    Lubricant Specifications 

    Position Type
    • Bolt Threads
    • Bolt Flange
    Engine Oil