LEMON Manuals: Even more car manuals for everyone: 1960-2025
Home >> Honda >> 2025 >> Pilot EX-L, AWD >> Repair and Diagnosis (Single Page) >> Quick Lookups >> Electrical Component Locations >> Electrical Component Locator And Service Information - HVAC Unit Area >> Exploded View >> Repair Procedure
April 5, 2026: LEMON Manuals is launched! Read the announcement.

Repair Procedure

How to use this manual .

GHH579868Courtesy of HONDA, U.S.A., INC.
: Torque, Nm (lbfft) : Replace : Warning/Caution : Inspection/Adjustment *: Learning ■: SPL Tool : Required Removal
GHH579869Courtesy of HONDA, U.S.A., INC.
: Torque, Nm (lbfft) : Replace : Warning/Caution : Inspection/Adjustment *: Learning ■: SPL Tool : Required Removal
GHH579870Courtesy of HONDA, U.S.A., INC.
: Torque, Nm (lbfft) : Replace : Warning/Caution : Inspection/Adjustment *: Learning ■: SPL Tool : Required Removal
GHH579871Courtesy of HONDA, U.S.A., INC.
: Torque, Nm (lbfft) : Replace : Warning/Caution : Inspection/Adjustment *: Learning ■: SPL Tool : Required Removal
GHH579872Courtesy of HONDA, U.S.A., INC.
: Torque, Nm (lbfft) : Replace : Warning/Caution : Inspection/Adjustment *: Learning ■: SPL Tool : Required Removal
  1. A.-

    Key Information 

    Do the following before starting your work.

    Remove: 

    Sub-Procedure 

    GHH579873Courtesy of HONDA, U.S.A., INC.

    Removal 

    • Refer to the figure.
  2. B.-

    After Installation 

  3. C.-

    Key Information 

    Do the following before starting your work.

    Remove: 

    After Installation 

  4. D.-

    Preconditions 

    • Set the driver's and front passenger's temperature to MAX COOL (Lo), FRESH, and VENT ( ) position.

    Key Information 

    Do the following before starting your work.

    Remove: 

  5. E.-

    Preconditions 

    • Set to the VENT ( ) position.

    Key Information 

    Do the following before starting your work.

    Remove: 

    Sub-Procedure 

    Installation 

    NOTICE:  

    Before installation, make sure the door and linkage move smoothly.

    • Refer to the figure.
    GHH579874Courtesy of HONDA, U.S.A., INC.

    After Installation 

  6. F.-

    Preconditions 

    • Set the rear temperature to MAX COOL (Lo).

    Key Information 

    Do the following before starting your work.

    Remove: 

    Sub-Procedure 

    Installation 

    NOTICE:  

    Before installation, make sure the door and linkage move smoothly.

    • Refer to the figure.
    GHH579875Courtesy of HONDA, U.S.A., INC.

    After Installation 

  7. G.-

    Sub-Procedure 

    GHH579876Courtesy of HONDA, U.S.A., INC.

    Removal 

    • Refer to the figure.
  8. H.-

    Key Information 

    Do the following before starting your work.

    Remove: 

  9. I.-
    GHH579877Courtesy of HONDA, U.S.A., INC.

    Key Information 

    Do the following before starting your work.

    Remove: 

  10. J.-

    Preconditions 

    • Set the driver's temperature to MAX COOL (Lo).

    Key Information 

    Do the following before starting your work.

    Remove: 

    Sub-Procedure 

    Installation 

    NOTICE:  

    Before installation, make sure the door and linkage move smoothly.

    • Refer to the figure.
    GHH579878Courtesy of HONDA, U.S.A., INC.

    After Installation 

  11. K.-

    Preconditions 

    • Set to the VENT ( ) position.

    Key Information 

    Do the following before starting your work.

    Remove: 

    Sub-Procedure 

    Installation 

    NOTICE:  

    Before installation, make sure the door and linkage move smoothly.

    • Refer to the figure.
    GHH579879Courtesy of HONDA, U.S.A., INC.

    After Installation 

  12. L.-

    Key Information 

    Do the following before starting your work.

    Remove: 

    Sub-Procedure 

    GHH579880Courtesy of HONDA, U.S.A., INC.

    Removal 

    • Refer to the figure.

    After Installation 

  13. M.-

    Key Information 

    Do the following before starting your work.

    Remove: 

    Sub-Procedure 

    GHH579881Courtesy of HONDA, U.S.A., INC.

    Removal 

    • Refer to the figure.

    After Installation 

  14. N.-

    Key Information 

    Do the following before starting your work.

    Remove: 

  15. O.-

    Key Information 

    Do the following before starting your work.

    Remove: 

    After Installation 

  16. P.-

    Preconditions 

    • Set to the VENT ( ) position.

    Key Information 

    Do the following before starting your work.

    Remove: 

    Sub-Procedure 

    Installation 

    NOTICE:  

    Before installation, make sure the door and linkage move smoothly.

    • Refer to the figure.
    GHH579882Courtesy of HONDA, U.S.A., INC.

    After Installation 

  17. Q.-

    Preconditions 

    • Set the front passenger's temperature to MAX COOL (Lo).

    Key Information 

    Do the following before starting your work.

    Remove: 

    Sub-Procedure 

    Installation 

    NOTICE:  

    Before installation, make sure the door and linkage move smoothly.

    • Refer to the figure.
    GHH579883Courtesy of HONDA, U.S.A., INC.

    After Installation 

  18. R.-
    GHH579884Courtesy of HONDA, U.S.A., INC.

    Key Information 

    Do the following before starting your work.

    Remove: 

  19. S.-
    GHH579885Courtesy of HONDA, U.S.A., INC.

    Key Information 

    Do the following before starting your work.

    Remove: 

  20. T.-
    GHH579886Courtesy of HONDA, U.S.A., INC.
  21. U.-

    Preconditions 

    Key Information 

    Do the following before starting your work.

    Remove: 

    Procedure: 

    After Installation 

  22. V.-

    Preconditions 

    Key Information 

    Do the following before starting your work.

    Remove: 

    Procedure: 

    Sub-Procedure 

    Removal 

    NOTICE:  

    Engine coolant will run out when the hoses are disconnected; drain it into a clean drip pan. Be sure not to let coolant spill on electrical parts or painted surfaces. If any coolant spills, rinse it off immediately.

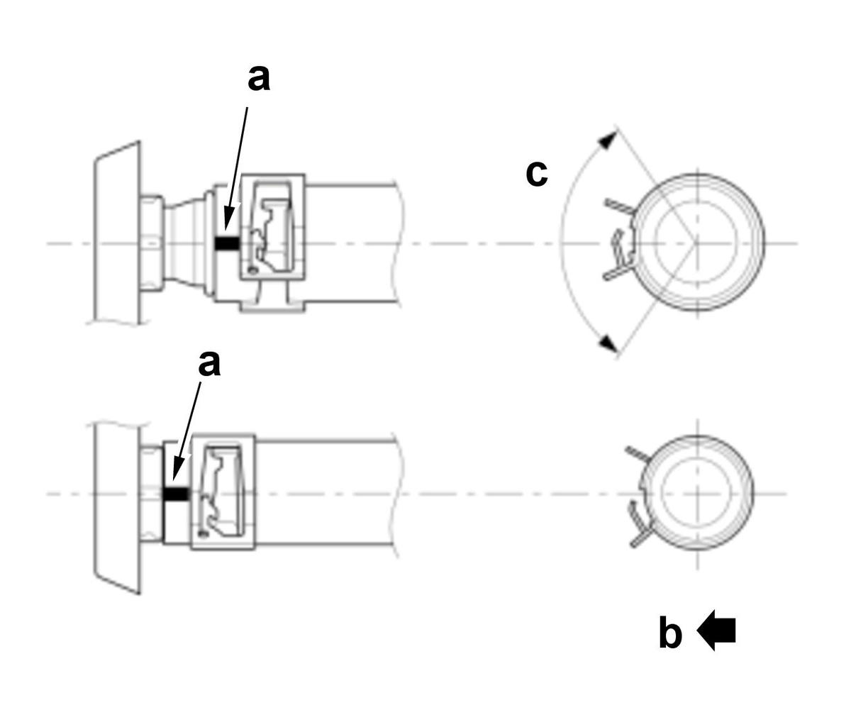
    GHH579887Courtesy of HONDA, U.S.A., INC.

    Installation 

    • Refer to the figure.

    Heater Hose Installation Directions (Upper and lower) 

    Position Direction
    a Vehicle right side
    b Vehicle right side

    Specifications (Upper and lower) 

    Standard Value
    c 110°

    After Installation 

  23. W.-

    Preconditions 

    • Set to the FRESH position.

    Sub-Procedure 

    Installation 

    NOTICE:  

    Before installation, make sure the door and linkage move smoothly.

    • Refer to the figure.
    GHH579888Courtesy of HONDA, U.S.A., INC.

    After Installation 

  24. X.-

    Preconditions 

    After Installation 

  25. Y.-
    GHH579889Courtesy of HONDA, U.S.A., INC.
  26. Z.-

    Preconditions 

    After Installation