LEMON Manuals: Even more car manuals for everyone: 1960-2025
Home >> Honda >> 2025 >> Pilot EX-L, AWD >> Repair and Diagnosis (Single Page) >> Quick Lookups >> Electrical Component Locations >> Electrical Component Locator And Service Information - Windshield Wiper Area >> Exploded View >> Windshield Wiper Area >> Repair Procedure
April 5, 2026: LEMON Manuals is launched! Read the announcement.

Repair Procedure

How to use this manual .

Windshield Wiper Area Replacement Components With Torque Specificaitons (1 Of 2) 

GHH585035Courtesy of HONDA, U.S.A., INC.
: Torque, Nm (lbfft) : Replace : Warning/Caution : Inspection/Adjustment *: Learning ■: SPL Tool : Required Removal
*1: Part(s) are shown for one side only as the procedure is the same for both sides.

Windshield Wiper Area Replacement Components With Torque Specificaitons (2 Of 2) 

GHH585036Courtesy of HONDA, U.S.A., INC.
: Torque, Nm (lbfft) : Replace : Warning/Caution : Inspection/Adjustment *: Learning ■: SPL Tool : Required Removal
  1. A.-
    GHH585037Courtesy of HONDA, U.S.A., INC.
  2. B.-
    GHH585038Courtesy of HONDA, U.S.A., INC.
  3. C.-

    Sub-Procedure 

    GHH585039Courtesy of HONDA, U.S.A., INC.

    Removal 

    1. Turn the vehicle to the ON mode.

    2. Turn and hold the wiper/washer switch to the MIST position, and then turn the vehicle to the OFF (LOCK) mode.

    3. Release the wiper/washer switch.

    NOTE:

    The wiper arm stops at the service position.

    4. Remove the wiper blade holder (a).

    After Installation 

  4. D.-

    Sub-Procedure 

    Figure 1 

    GHH585040Courtesy of HONDA, U.S.A., INC.

    Removal 

    1. Turn the vehicle to the ON mode.

    2. Turn and hold the wiper/washer switch to the MIST position, and then turn the vehicle to the OFF (LOCK) mode.

    3. Release the wiper/washer switch.

    NOTE:

    The wiper arm stops at the service position.

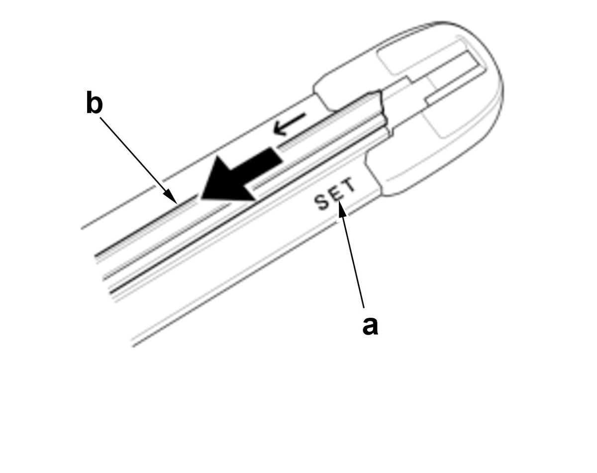
    4. On the "SET" label (a) side, pull back the wiper blade (b). (Figure 1)

    Figure 2 

    GHH585041Courtesy of HONDA, U.S.A., INC.

    5. Pull out the wiper blade (c). (Figure 2)

    Figure 3 

    GHH585042Courtesy of HONDA, U.S.A., INC.

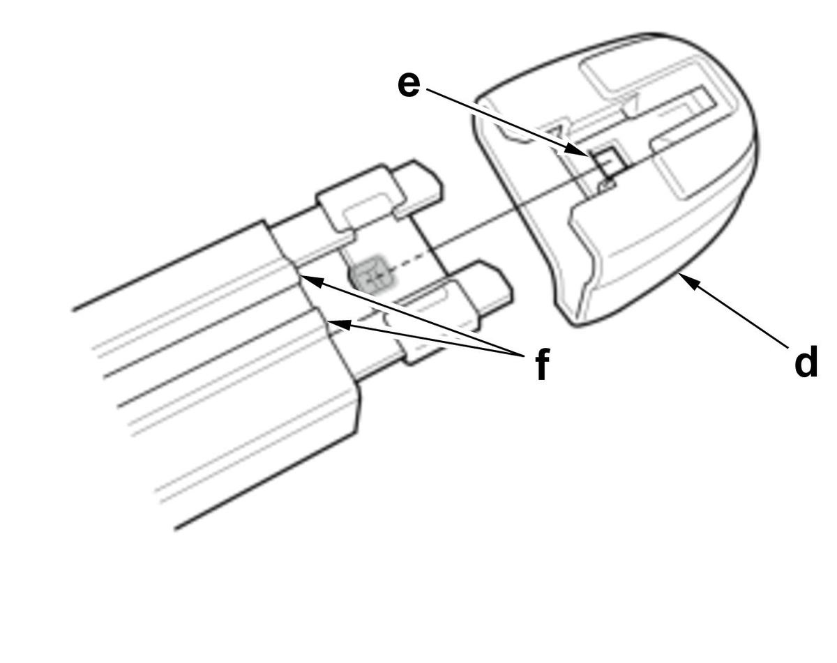
    6. If necessary, remove the end cap (d) by pressing the tab (e). (Figure 3)

    NOTE: When removing it, take care not to damage the rubber holder (f). (Figure 3)
  5. E.-

    NOTE:  Before removal, turn the wiper/washer switch ON to the (LO) or (HI) position, then OFF to return the motor shaft to the park position.

    After Installation 

  6. F.-

    Sub-Procedure 

    GHH585043Courtesy of HONDA, U.S.A., INC.

    Installation 

    • Align the painted mark (a) of the seal (b) with the notch (c) on the cowl cover, then push the hood rear seal against the cowl cover.
  7. G.-

    Sub-Procedure 

    Removal 

    • Refer to the figure.
    GHH585044Courtesy of HONDA, U.S.A., INC.
  8. H.-

    Sub-Procedure 

    Removal 

    • Refer to the figure.
    GHH585045Courtesy of HONDA, U.S.A., INC.
  9. I.-
    GHH585046Courtesy of HONDA, U.S.A., INC.
  10. J.-

    Sub-Procedure 

    GHH585047Courtesy of HONDA, U.S.A., INC.

    Removal 

    • Refer to the figure.
  11. K.-

    Sub-Procedure 

    GHH585048Courtesy of HONDA, U.S.A., INC.

    Installation 

    • Refer to the figure.

      NOTICE:  

      Do not wipe off part (a) because special grease is applied.

    After Installation 

  12. L.-
    GHH585049Courtesy of HONDA, U.S.A., INC.
  13. M.-

    Sub-Procedure 

    GHH585050Courtesy of HONDA, U.S.A., INC.

    Installation 

    Lubricant Specifications 

    Position Type
    a Multipurpose Grease
  14. N.-

    Sub-Procedure 

    GHH585051Courtesy of HONDA, U.S.A., INC.

    Installation 

    • Set the motor (a) and the wiper linkage assembly (b).

    NOTICE:  

    • Install the provided self-tapping bolts (c).
    • Do not use air tools and impact wrenches.
    • Keep the bolts perfectly straight while bolting them in.

    Tightening Procedure 

    Step Operation Object Specification
    1 Tighten (Tapping) All bolts The bolts until they sit on the linkage.
    2 Loosen All bolts -
    3 Tighten All bolts -

    After Installation 

  15. O.-

    Sub-Procedure 

    GHH585052Courtesy of HONDA, U.S.A., INC.

    Installation 

    • Set the windshield wiper motor to the park position.

      NOTE:  Connect the wiper motor connector, and turn the wiper/washer switch ON to (LO) or (HI) position, then OFF to return the wiper motor shaft to the park position.

    • Align the marks (a).

    After Installation