LEMON Manuals: Even more car manuals for everyone: 1960-2025
Home >> Hummer >> 2004 >> H2 4D Utility Pickup >> Repair and Diagnosis (Single Page) >> Quick Lookups >> Wiring Diagrams >> OEM Connector End Views >> Connector End Views >> Driver Door Module (DDM) Connector End View - C2
April 5, 2026: LEMON Manuals is launched! Read the announcement.

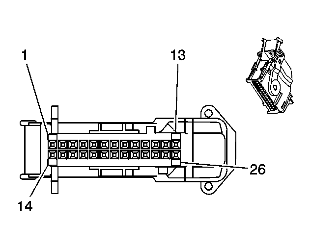
Driver Door Module (DDM) Connector End View - C2

Driver Door Module (DDM) - Connector End View - C2

GM845629Courtesy of GENERAL MOTORS CORP.
Connector Part Information
  • 15398841
  • 26-Way F AMP Lever Assist (BK)
Pin Wire Color Circuit No. Function
1-2 - - Not Used
3 BN 1183 Left Front Door Switch Low Reference
4 D-BU 660 Left Front Door Courtesy Lamp Control
5-9 - - Not Used
10 GY 1690 Automatic Day/Night Mirror Signal
11 - - Not Used
12 PK 1691 Automatic Day/Night Mirror Low Reference
13 D-BU/WH 149 Courtesy Lamp-Left Front Door Supply Voltage
14 OG 4140 Battery Positive Voltage
15 L-GN 262 Driver Door Key Switch Signal
16-17 - - Not Used
18 GY/BK 745 Left Front Door Ajar Switch Signal
19 - - Not Used
20 TN 294 Door Lock Actuator Unlock Control
21 GY 295 Door Lock Actuator Lock Control
22 BN 1046 DDM Class 2 Serial Data
23-26 - - Not Used


Driver Door Module (DDM) Connector End View - C2

GM845629Courtesy of GENERAL MOTORS CORP.
Connector Part Information
  • 15398841
  • 26-Way F AMP Lever Assist (BK)
Pin Wire Color Circuit No. Function
1-2 - - Not Used
3 BN 1183 Left Front Door Switch Low Reference
4 D-BU 660 Left Courtesy Lamp Control
5-9 - - Not Used
10 GY 1690 Automatic Day/Night Mirror Signal
11 - - Not Used
12 PK 1691 Automatic Day/Night Mirror Low Reference
13 D-BU/WH 149 Courtesy Lamp - Left Front Door Supply Voltage
14 OG 4140 Battery Positive Voltage
15 L-GN 262 Driver Door Key Switch Signal
16-17 - - Not Used
18 GY/BK 745 Left Front Door Ajar Switch Signal
19 - - Not Used
20 TN 294 Door Lock Actuator Unlock Control
21 GY 295 Door Lock Actuator Lock Control
22 BN 1046 DDM Class 2 Serial Data
23-26 - - Not Used


Driver Door Module (DDM) Connector End View - C2

GM966311Courtesy of GENERAL MOTORS CORP.
Connector Part Information
  • 15398841
  • 26-Way F AMP Lever Assist (BK)
Pin Wire Color Circuit No. Function
1-2 - - Not Used
3 BN 1183 Left Front Door Switch Low Reference
4 D-BU 660 Left Front Door Courtesy Lamp Control
5-9 - - Not Used
10 GY 1690 Automatic Day/Night Mirror Signal
11 - - Not Used
12 PK 1691 Automatic Day/Night Mirror Low Reference
13 D-BU/WH 149 Courtesy Lamp - Left Front Door Supply Voltage
14 OG 4140 Battery Positive Voltage
15 L-GN 262 Driver Door Key Switch Signal
16-17 - - Not Used
18 GY/BK 745 Left Front Door Ajar Switch Signal
19 - - Not Used
20 TN 294 Door Lock Actuator Unlock Control
21 GY 295 Door Lock Actuator Lock Control
22 BN 1046 DDM Class 2 Serial Data
23-26 - - Not Used