LEMON Manuals: Even more car manuals for everyone: 1960-2025
Home >> Hummer >> 2004 >> H2 4D Utility Pickup >> Repair and Diagnosis >> External Pages >> Different car >> Section 249 (Engine Mechanical - 3.5L (Unit Repair)) >> Repair Instructions >> Thread Repair >> Standard Thread Repair - Flush Hole
April 5, 2026: LEMON Manuals is launched! Read the announcement.

Standard Thread Repair - Flush Hole

WARNING: This page is about a different car, the 2002 Oldsmobile Aurora and 2001 Oldsmobile Aurora. However, it is still accessible from the selected car via links, so may be relevant.
WARNING: Wear safety glasses in order to avoid eye damage.

Important:  The use of a cutting type fluid GM P/N United States 1052864, GM P/N Canada 992881, WD 40® or equivalent is recommended when performing the drilling, counterboring and tapping procedures.

When installed to the proper depth, the flange (1) of the insert will be seated against the counterbore of the drilled/tapped hole and just below the surface (2) of the base material.

Fig 1: Identifying Flush Hole
G01815309Courtesy of GENERAL MOTORS CORP.

Important:  During the drilling process, it is necessary to repeatedly remove the drill and clean chips from the hole and the flutes of the drill.

Important:  Do NOT drill any further than the original hole depth.

  1. Drill out the threads of the damaged hole.
    • M6 inserts require a minimum drill depth of 15 mm (0.59 in).
    • M8 inserts require a minimum drill depth of 20 mm (0.79 in).
    • M10 inserts require a minimum drill depth of 23.5 mm (0.93 in).
    Fig 2: Drilling Hole
    G01815310Courtesy of GENERAL MOTORS CORP.

    Important:  All chips must be removed from the drilled hole prior to tapping.

  2. Using compressed air, clean out any chips.
    Fig 3: Cleaning Hole
    G01815311Courtesy of GENERAL MOTORS CORP.

    Important:  A properly counterbored hole will show a slight burnishing on the surface of the base material for 360 degrees around the drilled hole.

  3. Counterbore the drilled hole to the full depth permitted by the tool (1).
    Fig 4: Counterboring Drilled Hole
    G01815312Courtesy of GENERAL MOTORS CORP.

    Important:  All chips must be removed from the drilled hole prior to tapping.

  4. Using compressed air, clean out any chips.
    Fig 5: Cleaning Hole
    G01815313Courtesy of GENERAL MOTORS CORP.

    Important:  During the tapping process, it is necessary to repeatedly remove the tap and clean chips from the hole and the flutes of the tap.

    Important:  Ensure the tap has created full threads at least to the depth equal to the insert length.

  5. Using a suitable tapping wrench, tap the threads of the drilled hole.
    • M6 inserts require a minimum tap depth of 15 mm (0.59 in).
    • M8 inserts require a minimum tap depth of 20 mm (0.79 in).
    • M10 inserts require a minimum tap depth of 23.5 mm (0.93 in).
    Fig 6: Tapping Drilled Hole Threads
    G01815314Courtesy of GENERAL MOTORS CORP.

    Important:  All chips must be removed from the tapped hole prior to insert installation.

  6. Using compressed air, clean out any chips.
    Fig 7: Cleaning Hole
    G01815315Courtesy of GENERAL MOTORS CORP.
  7. Spray cleaner GM P/N United States 12346139, GM P/N United States 12377981, GM P/N Canada 10953463, or equivalent into the tapped hole.
    Fig 8: Spraying Cleaner Into Hole
    G01815316Courtesy of GENERAL MOTORS CORP.

    Important:  All chips must be removed from the tapped hole prior to insert installation.

  8. Using compressed air, clean out any chips.
    Fig 9: Cleaning Hole
    G01815317Courtesy of GENERAL MOTORS CORP.

    Important:  Do not allow oil or other foreign material to contact the outside diameter (OD) of the insert.

  9. Lubricate the threads of the driver installation tool (2) with the driver oil (1) J 42385-110.
    Fig 10: Lubricating Driver Installation Tool Threads
    G01815318Courtesy of GENERAL MOTORS CORP.
  10. Install the insert (2) onto the driver installation tool (1).
    Fig 11: Installing Insert Onto Driver Installation Tool
    G01815319Courtesy of GENERAL MOTORS CORP.
  11. Apply threadlock sealant GM P/N United States 12345493, GM P/N Canada 10953488, J 42385-109, LOCTITE 277® or equivalent (1) to the insert OD threads (2).
    Fig 12: Applying Threadlock Sealant
    G01815320Courtesy of GENERAL MOTORS CORP.
  12. Install the insert (2) into the tapped hole.
    Fig 13: Installing
    G01815321Courtesy of GENERAL MOTORS CORP.

    Important:  If the insert will not thread down until the flange contacts the counterbored surface remove the insert immediately with a screw extracting tool and inspect the tapped hole for any remaining chips and/or improper tapping.

  13. Install the insert until the flange (2) of the insert contacts the counterbored surface.
    Fig 14: Installing Insert Into Hole
    G01815322Courtesy of GENERAL MOTORS CORP.

    Important:  The driver installation tool will tighten up before screwing completely through the insert. This is acceptable. The threads at the bottom of the insert are being formed and the insert is mechanically locking the insert into the base material threads.

  14. Continue to rotate the driver installation tool (1) through the insert (2).
    Fig 15: Rotating Driver Installation Tool Through Insert
    G01815323Courtesy of GENERAL MOTORS CORP.
  15. Inspect the insert for proper installation into the tapped hole. A properly installed insert (1) will be either flush or slightly below flush with the surface of the base material (2).
    Fig 16: Identifying Proper Installation Position Of Insert
    G01815324Courtesy of GENERAL MOTORS CORP.
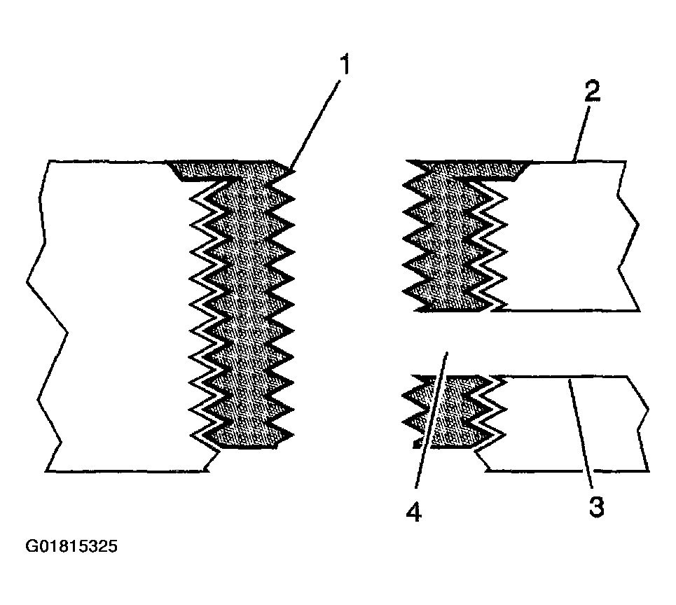
  16. Any installed insert that restricts or blocks an oil or engine coolant passage (3) will need to have the oil or engine coolant passage drilled out (4) to the original size of the oil or engine coolant passage. After drilling the restriction or blockage, clean out any chips and thread the installation driver tool through the insert again to remove any burrs caused by the drilling of the oil or engine coolant passage.
    Fig 17: Locating Oil Or Engine Coolant Passage
    G01815325Courtesy of GENERAL MOTORS CORP.