LEMON Manuals: Even more car manuals for everyone: 1960-2025
Home >> Hummer >> 2004 >> H2 4D Utility Pickup >> Repair and Diagnosis >> External Pages >> Different car >> Section 249 (Engine Mechanical - 3.5L (Unit Repair)) >> Specifications >> Thread Repair Specifications
April 5, 2026: LEMON Manuals is launched! Read the announcement.

Thread Repair Specifications

WARNING: This page is about a different car, the 2002 Oldsmobile Aurora and 2001 Oldsmobile Aurora. However, it is still accessible from the selected car via links, so may be relevant.
Fig 1: Left Cylinder Head Camshaft Cover Face
G01814913Courtesy of GENERAL MOTORS CORP.
Fig 2: Left Cylinder Head Camshaft Cover Face Legend (1 Of 2)
G01814914Courtesy of GENERAL MOTORS CORP.
Fig 3: Left Cylinder Head Camshaft Cover Face Legend (2 Of 2)
G01814915Courtesy of GENERAL MOTORS CORP.
Fig 4: Left Cylinder Head Front Face
G01814916Courtesy of GENERAL MOTORS CORP.
Fig 5: Left Cylinder Head Front Face Legend
G01814917Courtesy of GENERAL MOTORS CORP.
Fig 6: Left Cylinder Head Intake Face
G01814918Courtesy of GENERAL MOTORS CORP.
Fig 7: Left Cylinder Head Intake Face Legend
G01814919Courtesy of GENERAL MOTORS CORP.
Fig 8: Left Cylinder Head Exhaust Face
G01814920Courtesy of GENERAL MOTORS CORP.
Fig 9: Left Cylinder Head Exhaust Face Legend
G01814921Courtesy of GENERAL MOTORS CORP.
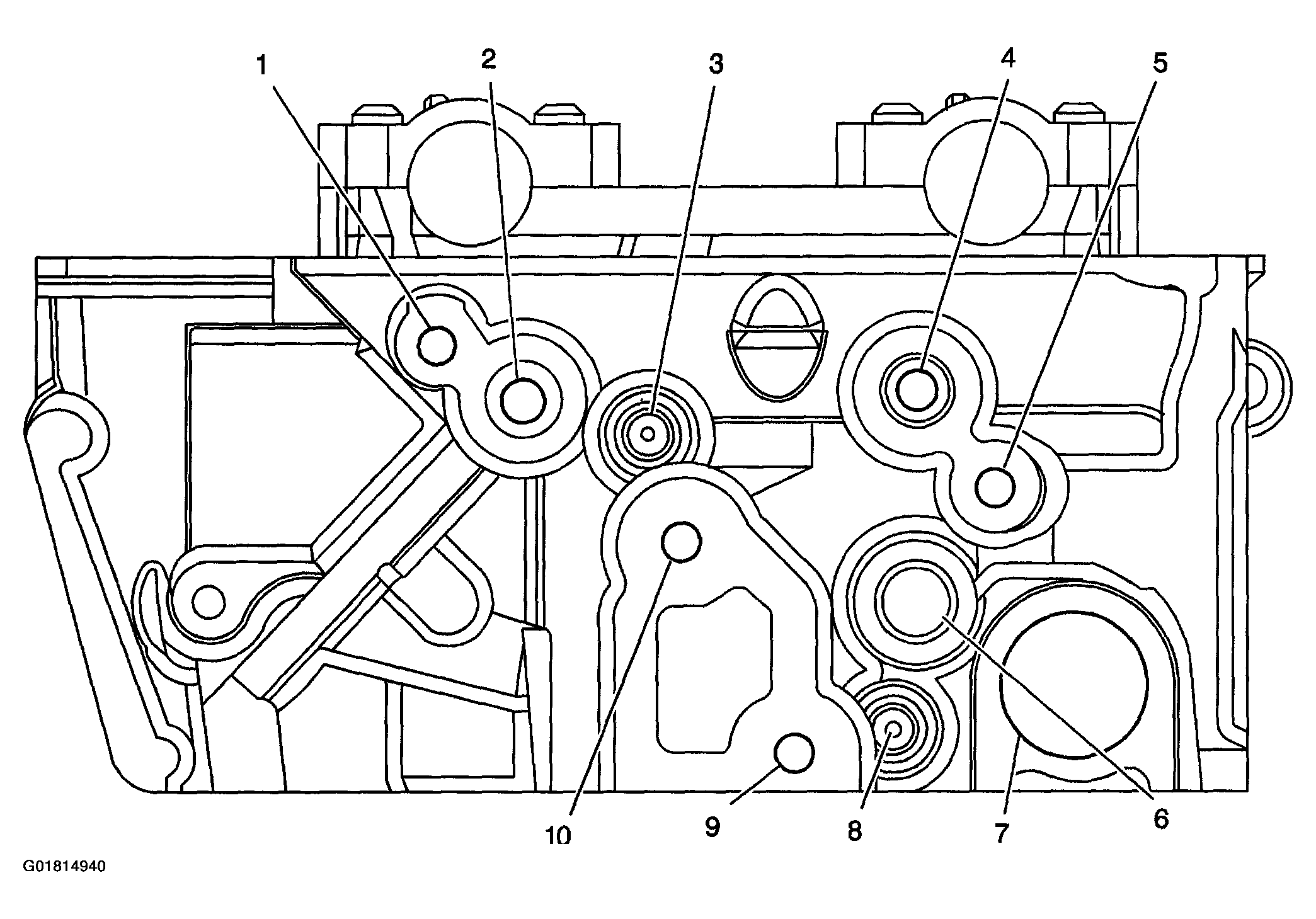
Fig 10: Left Cylinder Head Exhaust Face with A.I.R.
G01814922Courtesy of GENERAL MOTORS CORP.
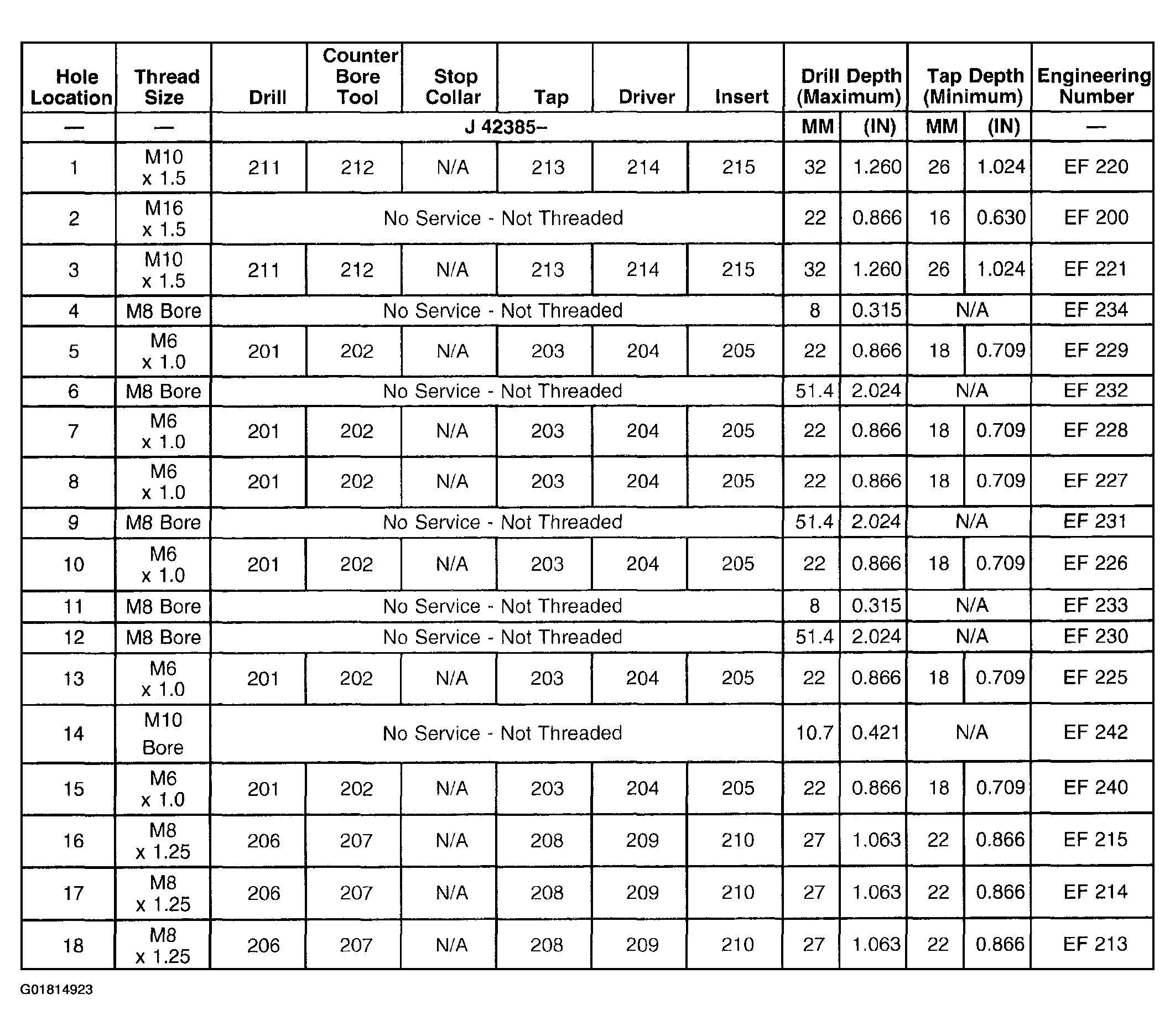
Fig 11: Left Cylinder Head Exhaust Face with A.I.R. Legend (1 Of 2)
G01814923Courtesy of GENERAL MOTORS CORP.
Fig 12: Left Cylinder Head Exhaust Face with A.I.R. Legend (2 Of 2)
G01814924Courtesy of GENERAL MOTORS CORP.
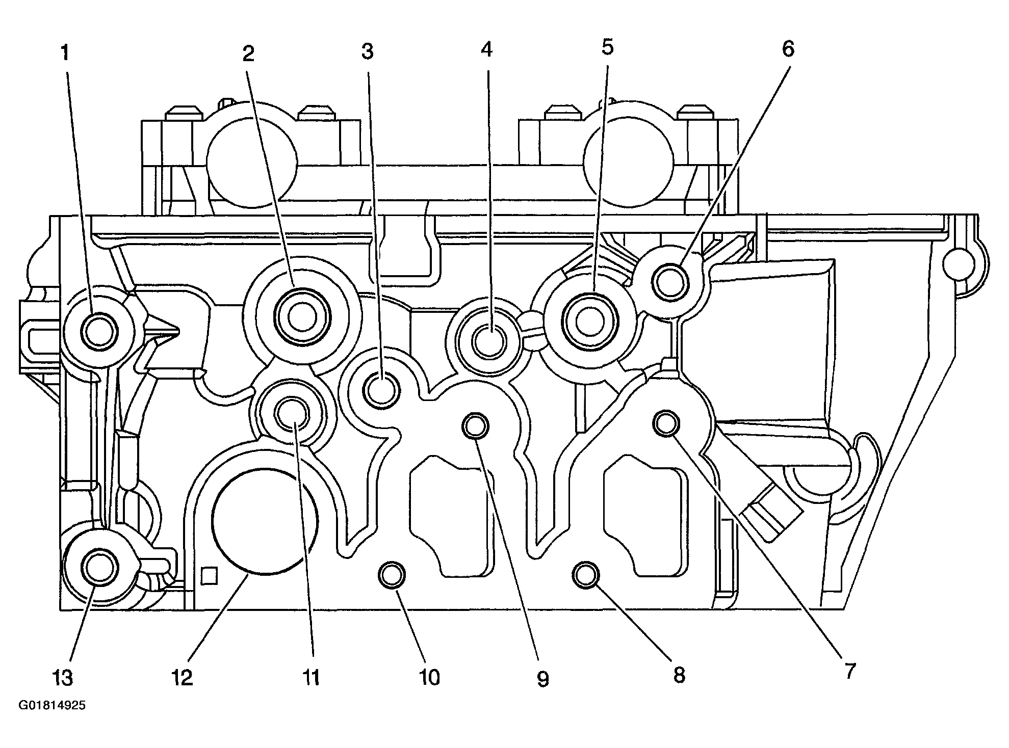
Fig 13: Left Cylinder Head Rear Face
G01814925Courtesy of GENERAL MOTORS CORP.
Fig 14: Left Cylinder Head Rear Face Legend (1 Of 2)
G01814926Courtesy of GENERAL MOTORS CORP.
Fig 15: Left Cylinder Head Rear Face Legend (2 Of 2)
G01814927Courtesy of GENERAL MOTORS CORP.
Fig 16: Right Cylinder Head Camshaft Cover Face
G01814928Courtesy of GENERAL MOTORS CORP.
Fig 17: Right Cylinder Head Camshaft Cover Face Legend (1 Of 2)
G01814929Courtesy of GENERAL MOTORS CORP.
Fig 18: Right Cylinder Head Camshaft Cover Face Legend (2 Of 2)
G01814930Courtesy of GENERAL MOTORS CORP.
Fig 19: Right Cylinder Head Front Face
G01814931Courtesy of GENERAL MOTORS CORP.
Fig 20: Right Cylinder Head Front Face Legend
G01814932Courtesy of GENERAL MOTORS CORP.
Fig 21: Right Cylinder Head Intake Face
G01814933Courtesy of GENERAL MOTORS CORP.
Fig 22: Right Cylinder Head Intake Face Legend
G01814934Courtesy of GENERAL MOTORS CORP.
Fig 23: Right Cylinder Head Exhaust Face
G01814935Courtesy of GENERAL MOTORS CORP.
Fig 24: Right Cylinder Head Exhaust Face Legend
G01814936Courtesy of GENERAL MOTORS CORP.
Fig 25: Right Cylinder Head Exhaust Face with A.I.R.
G01814937Courtesy of GENERAL MOTORS CORP.
Fig 26: Right Cylinder Head Exhaust Face with A.I.R. Legend (1 Of 2)
G01814938Courtesy of GENERAL MOTORS CORP.
Fig 27: Right Cylinder Head Exhaust Face with A.I.R. Legend (2 Of 2)
G01814939Courtesy of GENERAL MOTORS CORP.
Fig 28: Right Cylinder Head Rear Face
G01814940Courtesy of GENERAL MOTORS CORP.
Fig 29: Right Cylinder Head Rear Face Legend (1 Of 2)
G01814941Courtesy of GENERAL MOTORS CORP.
Fig 30: Right Cylinder Head Rear Face Legend (2 Of 2)
G01814942Courtesy of GENERAL MOTORS CORP.
Fig 31: Engine Block Front
G01814943Courtesy of GENERAL MOTORS CORP.
Fig 32: Engine Block Front Legend (1 Of 3)
G01814944Courtesy of GENERAL MOTORS CORP.
Fig 33: Engine Block Front Legend (2 Of 3)
G01814945Courtesy of GENERAL MOTORS CORP.
Fig 34: Engine Block Front Legend (3 Of 3)
G01814946Courtesy of GENERAL MOTORS CORP.
Fig 35: Engine Block Left Side
G01814947Courtesy of GENERAL MOTORS CORP.
Fig 36: Engine Block Left Side Legend (1 Of 2)
G01814948Courtesy of GENERAL MOTORS CORP.
Fig 37: Engine Block Left Side Legend (2 Of 2)
G01814949Courtesy of GENERAL MOTORS CORP.
Fig 38: Engine Block Right Side
G01814950Courtesy of GENERAL MOTORS CORP.
Fig 39: Engine Block Right Side Legend
G01814951Courtesy of GENERAL MOTORS CORP.
Fig 40: Engine Block Rear
G01814952Courtesy of GENERAL MOTORS CORP.
Fig 41: Engine Block Rear Legend (1 Of 2)
G01814953Courtesy of GENERAL MOTORS CORP.
Fig 42: Engine Block Rear Legend (2 Of 2)
G01814954Courtesy of GENERAL MOTORS CORP.
Fig 43: Engine Block Top
G01814955Courtesy of GENERAL MOTORS CORP.
Fig 44: Engine Block Top legend (1 Of 2)
G01814956Courtesy of GENERAL MOTORS CORP.
Fig 45: Engine Block Top legend (2 Of 2)
G01814957Courtesy of GENERAL MOTORS CORP.
Fig 46: Engine Block Left Deck Face
G01814958Courtesy of GENERAL MOTORS CORP.
Fig 47: Engine Block Left Deck Face Legend
G01814959Courtesy of GENERAL MOTORS CORP.
Fig 48: Engine Block Right Deck Face
G01814960Courtesy of GENERAL MOTORS CORP.
Fig 49: Engine Block Right Deck Face Legend
G01814961Courtesy of GENERAL MOTORS CORP.
Fig 50: Engine Block Lower Face
G01814962Courtesy of GENERAL MOTORS CORP.
Fig 51: Engine Block Lower Face Legend (1 Of 2)
G01814963Courtesy of GENERAL MOTORS CORP.
Fig 52: Engine Block Lower Face Legend (2 Of 2)
G01814964Courtesy of GENERAL MOTORS CORP.
Fig 53: Lower Crankcase Pan Face
G01814965Courtesy of GENERAL MOTORS CORP.
Fig 54: Lower Crankcase Pan Face Legend (1 Of 2)
G01814966Courtesy of GENERAL MOTORS CORP.
Fig 55: Lower Crankcase Pan Face Legend (2 Of 2)
G01814967Courtesy of GENERAL MOTORS CORP.