LEMON Manuals: Even more car manuals for everyone: 1960-2025
Home >> Hummer >> 2006 >> H3 Automatic >> Repair and Diagnosis (Single Page) >> Engine Performance >> System >> Engine Controls - 3.5L - Introduction (2 Of 2) >> Component Locator >> Powertrain Control Module (PCM) Connector End Views >> Powertrain Control Module (PCM) C3 (MA5)
April 5, 2026: LEMON Manuals is launched! Read the announcement.

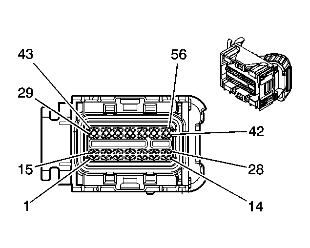
Powertrain Control Module (PCM) C3 (MA5)

Fig 1: Powertrain Control Module (PCM) C3 (MA5) Connector End Views
GM1567137Courtesy of GENERAL MOTORS CORP.
Powertrain Control Module (PCM) C3 (MA5) Connector Parts Information

Connector Part Information 
  • OEM: 15430215
  • Service: 88953347
  • Description: 56-Way F Micro 64 Series Sealed (GY)
Terminal Part Information 
  • Pins:
  • Terminal:
  • Core/Insulation Crimp:
  • Release Tool/Test Probe:
Powertrain Control Module (PCM) C3 (MA5) Connector Terminal Identification

Pin Wire Color Circuit No. Function
1-3 - - Not Used
4 TN/WH 1669 HO2S Low Signal Bank 1 Sensor 2
5-14 - - Not Used
15 TN/BK 231 Oil Pressure Switch Signal
16-18 - - Not Used
19 PU/WH 1668 HO2S High Signal Bank 1 Sensor 2
20-33 - - Not Used
34 TN/BK 464 Delivered Torque Signal
35 - - Not Used
36 PU 114 Low Reference
37 D-GN/WH 428 EVAP Canister Purge Solenoid Control
38-43 - - Not Used
44 PU 401 Signal Low - Front
45 YE 400 Signal High - Front
46 BK/WH 1423 HO2S Heater Low Control Bank 1 Sensor 2
47 OG/BK 463 Requested Torque Signal
48-56 - - Not Used