LEMON Manuals: Even more car manuals for everyone: 1960-2025
Home >> Hummer >> 2006 >> H3 L5-3.5L >> Repair and Diagnosis >> Maintenance >> Alignment >> Service and Repair >> Trim Height Inspection Procedure
April 5, 2026: LEMON Manuals is launched! Read the announcement.

Trim Height Inspection Procedure



Trim Height Inspection Procedure

Trim Height Measurements
Trim height is a predetermined measurement relating to vehicle ride height. Incorrect trim heights can cause bottoming out over bumps, damage to the suspension components, and symptoms similar to wheel alignment problems. Check the trim heights when diagnosing suspension concerns and before checking the wheel alignment.

Perform the following before measuring the trim heights:
1. Set the tire pressures to the pressure shown on the certification label.
2. Check the fuel level. Add additional weight if necessary to simulate a full tank.
3. Verify that the rear compartment is empty except for the spare tire.
4. Verify that the vehicle is on a level surface, such as an alignment rack.

Z Height Measurement
1. Lift the front bumper of the vehicle up about 38 mm (1.5 inch).
2. Suddenly remove your hands.
3. Allow the vehicle to settle into position.
4. Repeat this jouncing operation 2 more times.





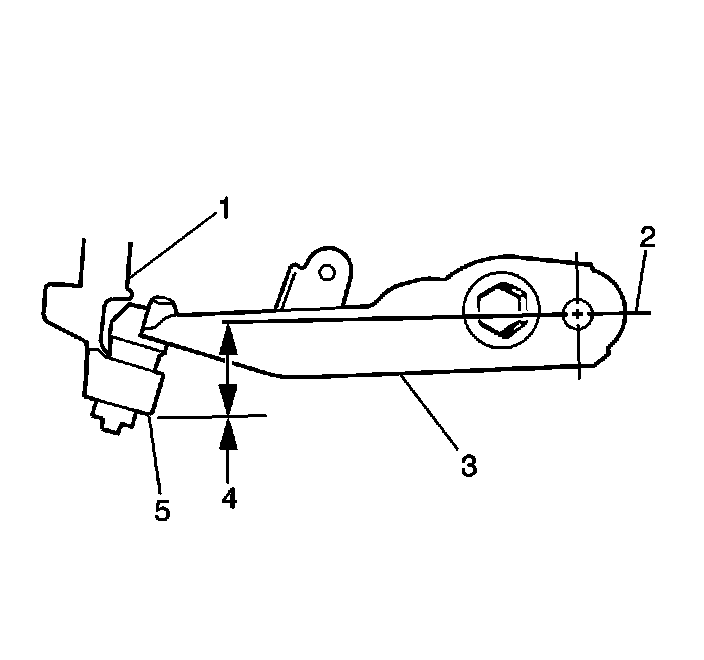
5. Measure from the pivot bolt center line (3) down to the lower corner (5) of the lower ball joint (1) in order to obtain the Z height measurement (4).
6. Push the front bumper of the vehicle down about 38 mm (1.5 inch).
7. Suddenly remove your hands.
8. Allow the vehicle to rise.
9. Repeat the operation for a total of 3 times.
10. Measure the Z dimension.
11. The true Z height dimension number is the average of the high and the low measurements.

Z Height Adjustment





1. For vehicles equipped with a torsion bar suspension, turn the bolt (1) that contacts the torsion arm clockwise to raise, and counterclockwise to lower, the height adjustment. One revolution of the bolt into the nut increases the Z height by approximately 6 mm (0.2 inch).
2. For vehicles without torsion bars, replace damaged or worn components as necessary.

D Height Measurement
The D height dimension measurement determines the proper rear end ride height. No adjustment procedure is available. Repair may require replacement of suspension components.
1. With the vehicle on a flat surface, lift upward on the rear bumper 38 mm (1.5 inch).
2. Suddenly remove your hands.
3. Allow the vehicle to settle into position.
4. Repeat the jouncing operation 2 more times.





5. The D height is obtained by measuring the distance between the edge of the jounce cup along the jounce bumper center line and the jounce pad on the rear axle.
6. The true D height dimension number is the average of the high and the low measurements.
7. If these measurements are out of specifications, inspect for the following conditions:
^ Sagging front suspension
^ Sagging rear leaf springs
^ Worn rear suspension components
^ Improper tire inflation
^ Improper weight distribution
^ Collision damage