LEMON Manuals: Even more car manuals for everyone: 1960-2025
Home >> Hummer >> 2007 >> H2 V8-6.0L >> Repair and Diagnosis >> Maintenance >> Alignment >> Description and Operation >> Thrust Angles Description
April 5, 2026: LEMON Manuals is launched! Read the announcement.

Thrust Angles Description



Thrust Angles Description

Thrust Angles Description:





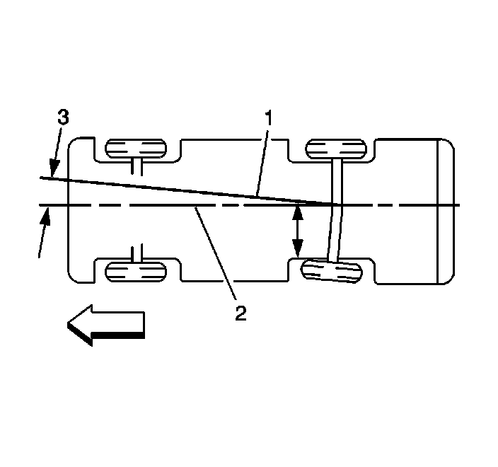
The front wheels aim or steer the vehicle. The rear wheels control tracking. This tracking action relates to the thrust angle (3). The thrust angle is the path that the rear wheels take. Ideally, the thrust angle is geometrically aligned with the body centerline (2).

In the illustration, toe-in is shown on the left rear wheel, moving the thrust line (1) off center. The resulting deviation from the centerline is the thrust angle.