LEMON Manuals: Even more car manuals for everyone: 1960-2025
Home >> Hummer >> 2007 >> H2 V8-6.0L >> Repair and Diagnosis >> Power and Ground Distribution >> Fuse Block >> Diagrams >> Connector Views >> Electrical Center Identification Views
April 5, 2026: LEMON Manuals is launched! Read the announcement.

Electrical Center Identification Views



Electrical Center Identification Views

Fuse Block - Underhood Top View






Fuse Block - Underhood Bottom View






Fuse Block - Underhood C1









Fuse Block - Underhood C1 (Pin A1 To D3):





Fuse Block - Underhood C1 (Pin D4 To F12):






Fuse Block - Underhood C2









Fuse Block - Underhood C2 (Pin A1 To D12):





Fuse Block - Underhood C2 (Pin E1 To F12):






Fuse Block - Underhood C3









Fuse Block - Underhood C3:






Fuse Block - Underhood C4









Fuse Block - Underhood C4:






Fuse Block - Underhood C5









Fuse Block - Underhood C5:






Fuse Block - Underhood C6









Fuse Block - Underhood C6:






Fuse Block - Underhood C7









Fuse Block - Underhood C7:






Fuse Block - Underhood C9









Fuse Block - Underhood C9:






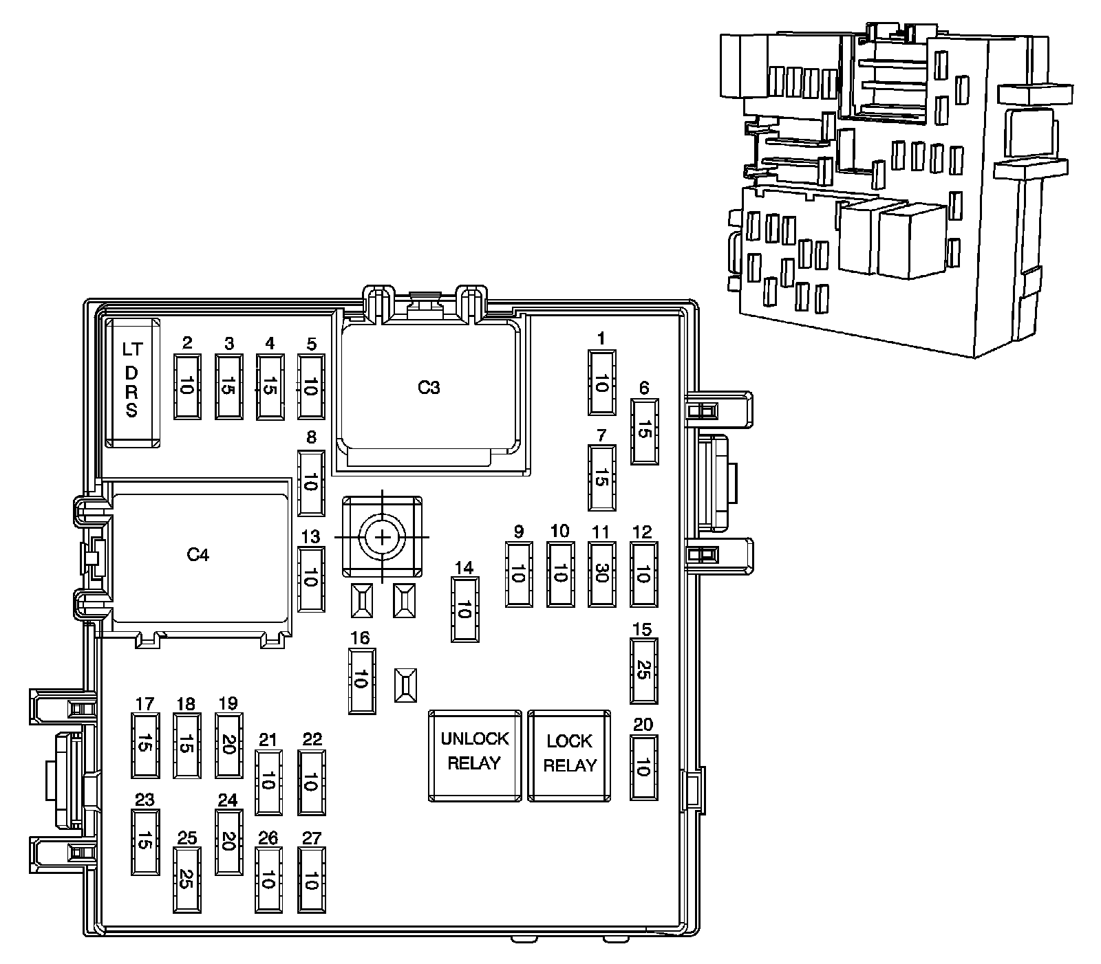
Fuse Block - I/P Top View






Fuse Block - I/P Bottom View






Fuse Block - I/P C1









Fuse Block - I/P C1 (Pin A1 To E4):





Fuse Block - I/P C1 (Pin E5 To F12):






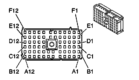
Fuse Block - I/P C2









Fuse Block - I/P C2:






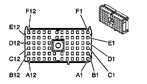
Fuse Block - I/P C3









Fuse Block - I/P C3:






Fuse Block - I/P C4









Fuse Block - I/P C4:






Junction Block - I/P Top View






Junction Block - I/P Bottom View






Junction Block - Wire Entry





Junction Block - Wire Entry:






Junction Block - I/P C2









Junction Block - I/P C2:






Junction Block - I/P C4









Junction Block - I/P C4:






Junction Block - I/P C5









Junction Block - I/P C5:






Junction Block - I/P C6









Junction Block - I/P C6:






Junction Block - I/P C7









Junction Block - I/P C7:






Junction Block - I/P C8









Junction Block - I/P C8: