LEMON Manuals: Even more car manuals for everyone: 1960-2025
Home >> Hummer >> 2007 >> H2 V8-6.0L >> Repair and Diagnosis >> Relays and Modules >> Relays and Modules - Brakes and Traction Control >> Electronic Brake Control Module >> Diagrams
April 5, 2026: LEMON Manuals is launched! Read the announcement.

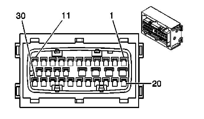
Electronic Brake Control Module: Diagrams



Electronic Brake Control Module (EBCM)







Electronic Brake Control Module (EBCM):