LEMON Manuals: Even more car manuals for everyone: 1960-2025
Home >> Hummer >> 2007 >> H3 Automatic >> Repair and Diagnosis (Single Page) >> Quick Lookups >> Wiring Diagrams >> OEM Connector End Views >> Lighting Systems Connector End Views >> Endgate Ajar Switch Connector End View
April 5, 2026: LEMON Manuals is launched! Read the announcement.

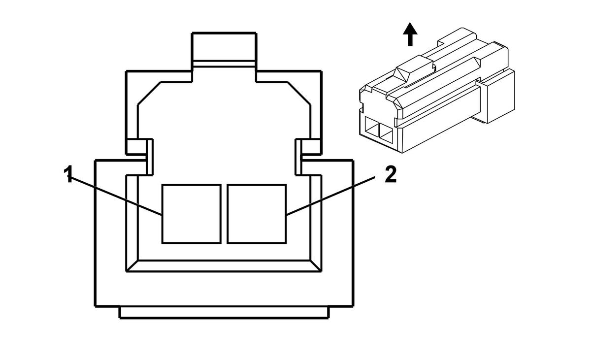
Endgate Ajar Switch Connector End View

Fig 1: Endgate Ajar Switch Connector End View
GM821858Courtesy of GENERAL MOTORS CORP.
Endgate Ajar Switch Connector Parts Information

Connector Part Information 
  • OEM: 174056-2
  • Service: 15306434
  • Description: 2-Way F MultiLock 040 (BK)
Terminal Part Information 
  • Terminal/Tray: 173681-2/17
  • Core/Insulation Crimp: E/4
  • Release Tool/Test Probe: 15315247/J-35616-16 (L-GN)
Endgate Ajar Switch Connector Terminal Identification

Pin Wire Color Circuit No. Function
1 L-BU/BK 747 Right Rear Door Ajar Switch Signal
2 BK/WH 1251 Ground