LEMON Manuals: Even more car manuals for everyone: 1960-2025
Home >> Hummer >> 2007 >> H3 Automatic >> Repair and Diagnosis >> External Pages >> Different car >> Section 14 (Cruise Control System) >> Repair Instructions >> Clutch Release Switch Replacement >> Installation Procedure
April 5, 2026: LEMON Manuals is launched! Read the announcement.

Installation Procedure

WARNING: This page is about a different car, the 2005 GMC Canyon and 2005 Chevrolet Colorado. However, it is still accessible from the selected car via links, so may be relevant.
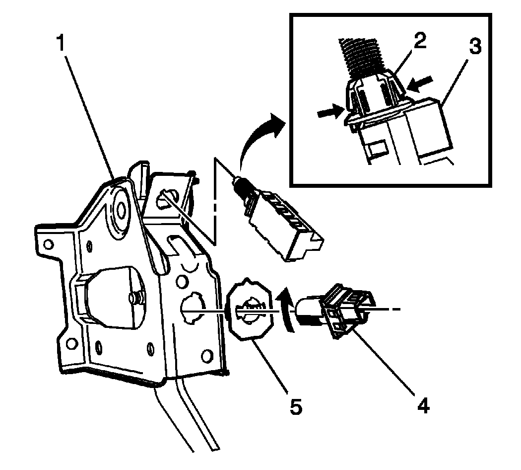
    Fig 1: View Of Clutch Release Switch & Components
    GM1302120Courtesy of GENERAL MOTORS CORP.
  1. Slide only the clutch release switch retainer (5) into the clutch pedal bracket (1), until the locking tabs are fully engaged.
  2. Fig 2: View Of Clutch Release Switch Electrical Connector
    GM1302119Courtesy of GENERAL MOTORS CORP.
  3. Connect the electrical connector (4) to the clutch release switch (3).
  4. Adjust the clutch release switch (3). Refer to Clutch Release Switch Adjustment .