LEMON Manuals: Even more car manuals for everyone: 1960-2025
Home >> Hummer >> 2007 >> H3 Automatic >> Repair and Diagnosis >> Quick Lookups >> Wiring Diagrams >> OEM Connector End Views >> Lighting Systems Connector End Views >> Headlamp Connector End View - Right (Export)
April 5, 2026: LEMON Manuals is launched! Read the announcement.

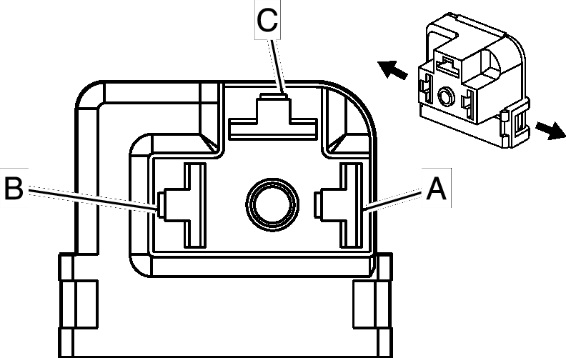
Headlamp Connector End View - Right (Export)

Fig 1: Headlamp - Right (Export) Connector End View
GM306269Courtesy of GENERAL MOTORS CORP.
Headlamp - Right (Export) Connector Parts Information

Connector Part Information 
  • OEM: 12034372
  • Service: 12117369
  • Description: 3-Way F Metri-Pack 800 Unsealed (BK)
Terminal Part Information 
  • Terminal/Tray: 12191818/8
  • Core/Insulation Crimp: See Terminal Kit
  • Release Tool/Test Probe: See Terminal Kit
Headlamp - Right (Export) Connector Terminal Identification

Pin Wire Color Circuit No. Function
A OR 640 Battery Positive Voltage
B PK 1200 High Beam Switched Ground
C D-BU 1201 Low Beam Switched Ground