LEMON Manuals: Even more car manuals for everyone: 1960-2025
Home >> Hummer >> 2007 >> H3 L5-3.7L >> Repair and Diagnosis >> Diagrams >> Connector Views >> Starting and Charging >> Fuse Block
April 5, 2026: LEMON Manuals is launched! Read the announcement.

Fuse Block



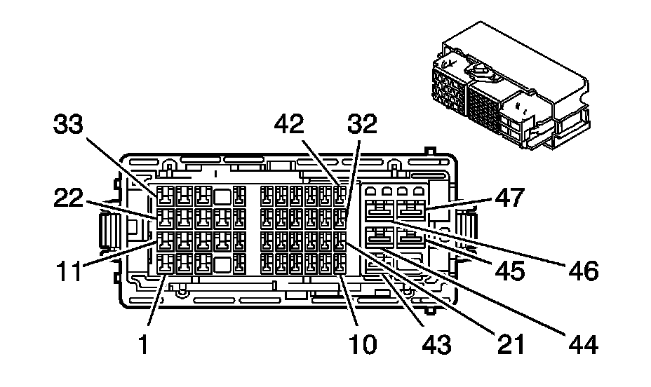
Electrical Center Identification Views

Fuse Block - Underhood, Top View






Fuse Block - Underhood, Bottom View






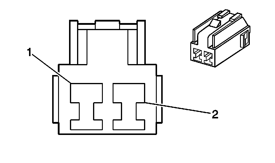
Fuse Block - Underhood C1









Fuse Block - Underhood C1 (Pin 1 To 15):





Fuse Block - Underhood C1 (Pin 16 To 47):






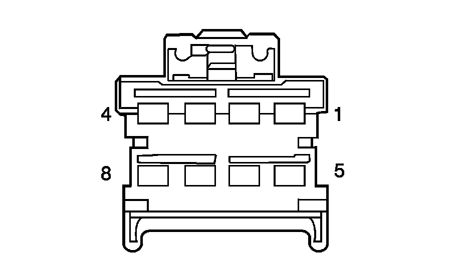
Fuse Block - Underhood C2









Fuse Block - Underhood C2 (Pin 1 To 16):





Fuse Block - Underhood C2 (Pin 17 To 47):





Fuse Block - Underhood C3














Fuse Block - Underhood C4














Fuse Block - Underhood C5 (UNH/UNJ/UNR)














Fuse Block - Underhood C5 (Export)