LEMON Manuals: Even more car manuals for everyone: 1960-2025
Home >> Hummer >> 2008 >> H3 Base, Automatic >> Repair and Diagnosis (Single Page) >> Quick Lookups >> Electrical Component Locations >> Component Locations & Connector End Views >> Component Connector End Views >> I/P Courtesy Lamp - Right
April 5, 2026: LEMON Manuals is launched! Read the announcement.

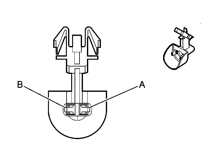
I/P Courtesy Lamp - Right

Fig 1: I/P Courtesy Lamp - Right Connector End View
GM1335537Courtesy of GENERAL MOTORS CORP.
I/P Courtesy Lamp - Right

Pin Wire Circuit Function
A 0.5 OG 1732 Inadvertent Power Control
B 0.5 WH 156 Courtesy Lamp Low Control
Connector Part Information 
  • OEM: 15437400
  • Service: See Catalog
  • Description: 2-Way F Lamp Socket Wedge (BK)
Terminal Part Information 
  • Terminal/Tray: Service w/Pigtail
  • Release Tool/Test Probe: See Terminal Kit