LEMON Manuals: Even more car manuals for everyone: 1960-2025
Home >> Hummer >> 2008 >> H3 Base, Automatic >> Repair and Diagnosis >> Electrical >> Component Locations >> Component Locations & Connector End Views >> Component Connector End Views >> Park Brake Switch
April 5, 2026: LEMON Manuals is launched! Read the announcement.

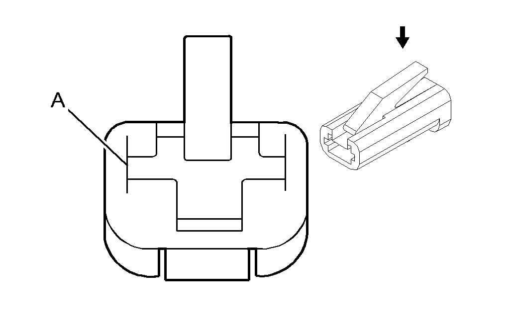
Park Brake Switch

Fig 1: Park Brake Switch Connector End View
GM856503Courtesy of GENERAL MOTORS CORP.
Park Brake Switch

Pin Wire Circuit Function
A 0.8 L-BU 1134 Park Brake Switch Signal
Connector Part Information 
  • OEM: 8911256
  • Service: 12102561
  • Description: 1-Way F 56 Series (WH)
Terminal Part Information 
  • Terminal/Tray: 12124515/1
  • Core/Insulation Crimp: See Terminal Kit
  • Release Tool/Test Probe: 12094430/J-35616-42 (RD)