LEMON Manuals: Even more car manuals for everyone: 1960-2025
Home >> Hummer >> 2008 >> H3 L5-3.7L >> Repair and Diagnosis >> Specifications >> Mechanical Specifications >> Engine >> System Specifications >> Thread Repair Specifications
April 5, 2026: LEMON Manuals is launched! Read the announcement.

Thread Repair Specifications



Thread Repair Specifications

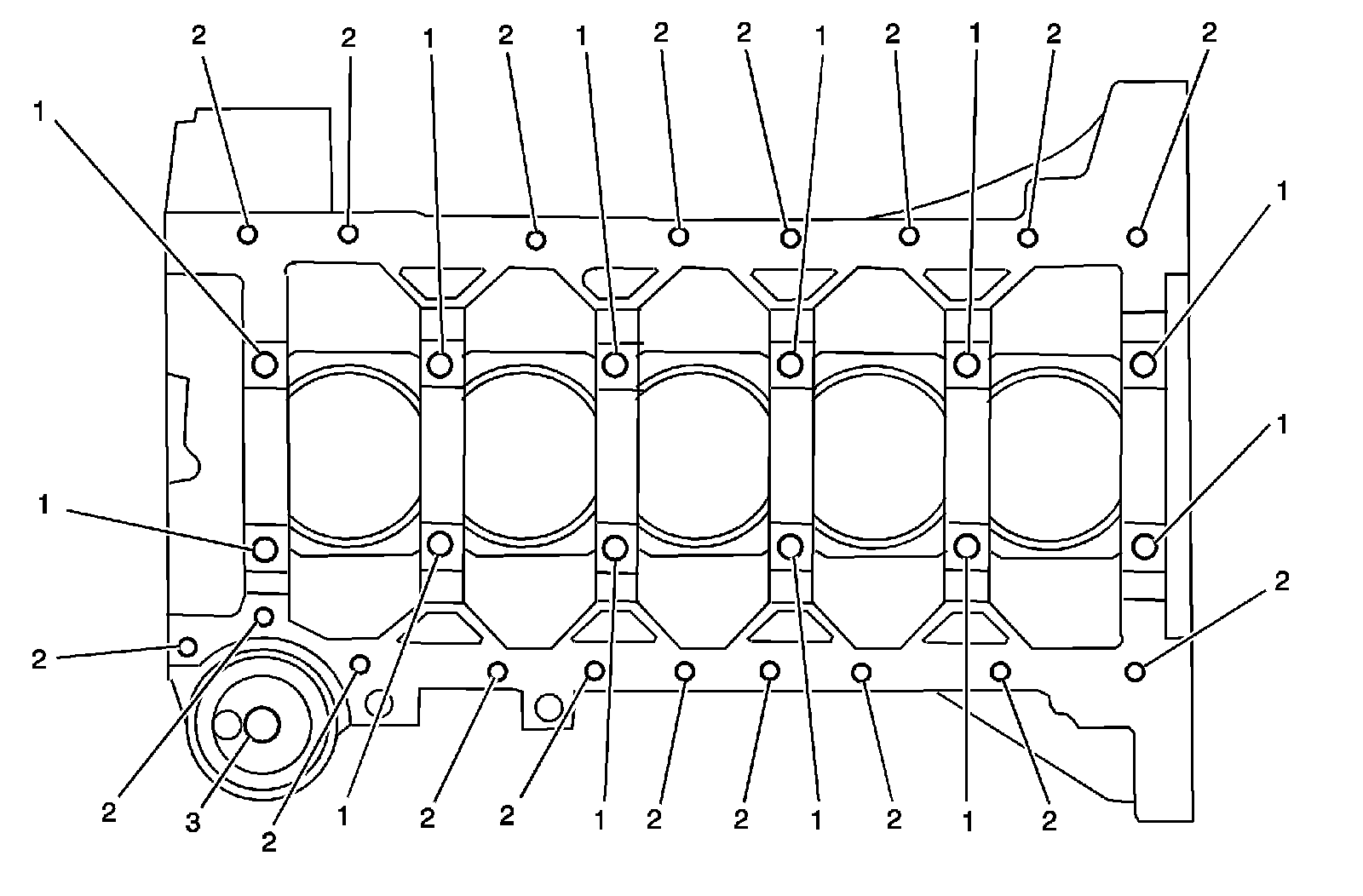
Engine Block - Top View

Engine Block - Top View:










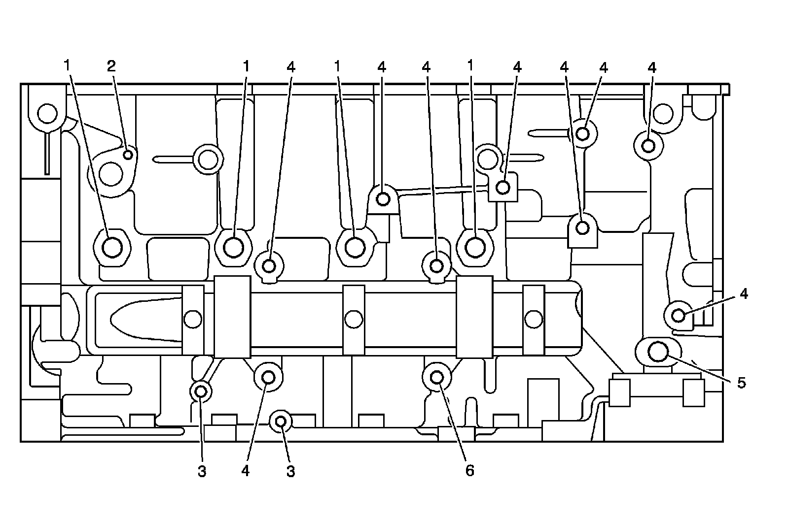
Engine Block - Bottom View

Engine Block - Bottom View:










Engine Block - Left Side View

Engine Block - Left Side View:










Engine Block - Right Side View

Engine Block - Right Side View:










Engine Block - Front View

Engine Block - Front View:










Engine Block - Rear View

Engine Block - Rear View:










Cylinder Head - Top View

Cylinder Head - Top View:










Cylinder Head - End - Front View










Cylinder Head - End - Rear View

Cylinder Head - End - Rear View:










Cylinder Head - Intake Manifold Deck View

Cylinder Head - Intake Manifold Deck View:










Cylinder Head - Exhaust Manifold Deck View

Cylinder Head - Exhaust Manifold Deck View:










Oil Pan - Bottom View

Oil Pan - Bottom View:










Oil Pan - Rear View

Oil Pan - Rear View:










Engine Front Cover

Engine Front Cover:










Crankshaft Rear Oil Seal Housing

Crankshaft Rear Oil Seal Housing: