LEMON Manuals: Even more car manuals for everyone: 1960-2025
Home >> Hummer >> 2009 >> H2 V8-6.2L >> Repair and Diagnosis >> Diagrams >> Components >> Powertrain Component Views
April 5, 2026: LEMON Manuals is launched! Read the announcement.

Powertrain Component Views




Powertrain Component Views

Engine - Right Rear




1 - Valve Lifter Oil Manifold (VLOM) Assembly
2 - Ignition Coil 8
3 - Fuel Injector 8
4 - Ignition Coil 6
5 - Fuel Injector 6
6 - Manifold Absolute Pressure (MAP) Sensor
7 - Throttle Body
8 - Camshaft Position (CMP) Actuator Solenoid Valve
9 - Camshaft Position (CMP) Sensor
10 - Fuel Injector 2
11 - Ignition Coil 2
12 - A/C Compressor Clutch
13 - Fuel Injector 4
14 - Ignition Coil 4
15 - Knock Sensor (KS) 2
16 - Starter
17 - Crankshaft Position (CKP) Sensor
18 - Engine Oil Pressure Sensor

Engine - Left Rear




1 - Fuel Injector 1
2 - Evaporative Emission (EVAP) Canister Purge Solenoid Valve
3 - Fuel Injector 3
4 - Fuel Injector 5
5 - Fuel Injector 7
6 - Engine Oil Pressure (EOP) Sensor
7 - Knock Sensor (KS) 1
8 - Ignition Coil 7
9 - Engine Block Heater Connector
10 - Ignition Coil 5
11 - Ignition Coil 3
12 - Engine Coolant Temperature (ECT) Sensor
13 - Battery Cable Junction Block
14 - Ignition Coil 1
15 - Generator

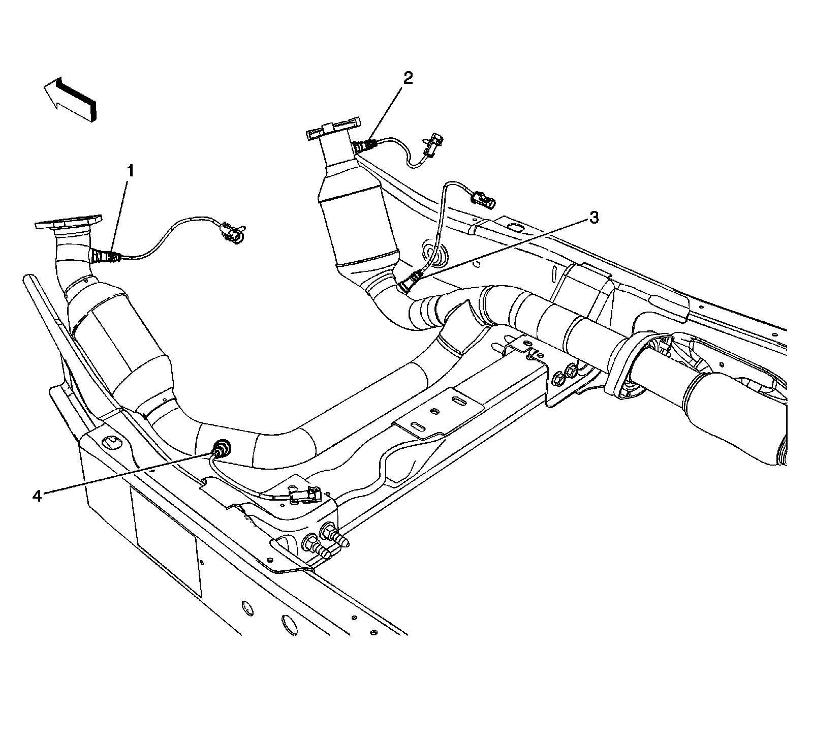
Behind the Engine Components




1 - Heated Oxygen Sensor (HO2S) Bank 1 Sensor 1
2 - Heated Oxygen Sensor (HO2S) Bank 2 Sensor 1
3 - Heated Oxygen Sensor (HO2S) Bank 2 Sensor 2
4 - Heated Oxygen Sensor (HO2S) Bank 1 Sensor 2

Automatic Transmission Shift Lever




1 - Automatic Transmission Shift Lever
2 - Automatic Transmission Shift Lever Connector
3 - Console Harness

Transfer Case Components




1 - Transfer Case
2 - Transfer Case Encoder Motor
3 - Vehicle Speed Sensor (VSS)

Inside the Transmission Components (MYC/MYD)




1 - Control Solenoid Valve Assembly
2 - Input and Output Speed Sensor Assembly
3 - Automatic Transmission Internal Mode Switch