LEMON Manuals: Even more car manuals for everyone: 1960-2025
Home >> Hummer >> 2009 >> H2 V8-6.2L >> Repair and Diagnosis >> Power and Ground Distribution >> Fuse >> Locations >> Instrument Panel Fuse Block
April 5, 2026: LEMON Manuals is launched! Read the announcement.

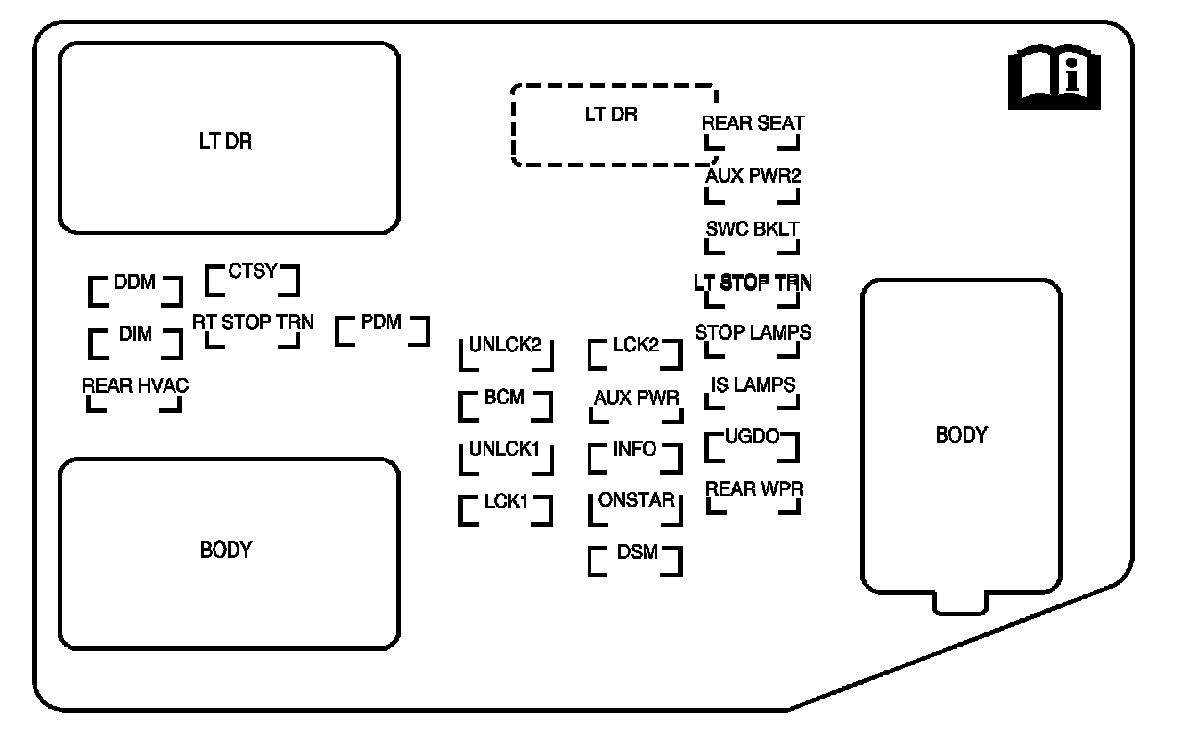
Instrument Panel Fuse Block